вконтакте

Контактный телефон: +7 (981) 121-46-93, +7 (800) 200-90-76 , Email: parts-katalog@yandex.ru, где купить

 
 
Главная Как заказать Каталоги Контакты

  Логин:

Пароль:

Регистрация

Узнать наличие и цену запчасти:

Лодочные моторы :: Honda :: Четырехтактные :: Honda BF30-A4 SRTU


КУПИТЬ КОМПЛЕКТУЮЩИЕ ДЛЯ HONDA BF30-A4 STRU
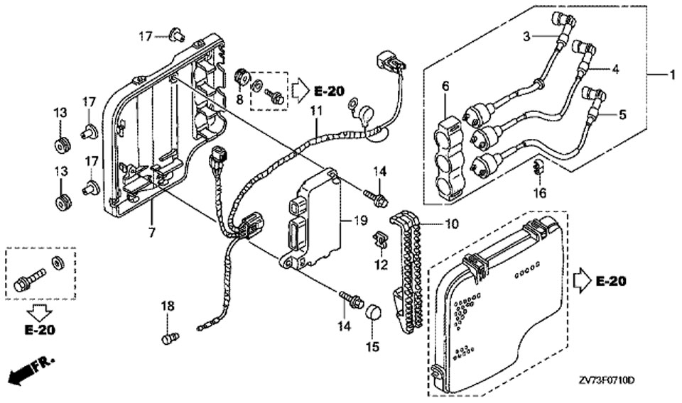
КАТУШКА ЗАЖИГАНИЯ И БЛОК КОНТАКТНОГО ЗАЖИГАНИЯ (IGNITION COIL + C.D.I. UNIT) F7-10

катушка зажигания и блок зажигания honda BF30 A4 SRTU, Ignition Cool + C.D.I. Unit

Чтобы узнать цену, наличие запасной части на складе или купить, нажмите ссылку "запросить цену". Чтобы посмотреть подробную информацию и фотографии, нажмите на код запчасти. Для запчастей со статусом "не поставляется" можете попробовать уточнить возможность поставки.

все блоки

Номер
на чертеже
Код по каталогуНазвание (eng)Название (rus)Цена
00130500-ZW2-F01

-

КАТУШКА В СБОРЕ, ЗАЖИГАНИЕ

по запросу
00330511-ZV7-003

-

КАТУШКА В КОМПЛЕКТЕ, ЗАЖИГАНИЕ (1)

по запросу
00430512-ZV7-003

-

КАТУШКА В КОМПЛЕКТЕ, ЗАЖИГАНИЕ (2)

по запросу
00530513-ZW2-F01

-

КАТУШКА В КОМПЛЕКТЕ, ЗАЖИГАНИЕ (3)

по запросу
00630516-ZV5-003

-

ПОДВЕСКА, КАТУШКА ЗАЖИГАНИЯ

по запросу
00730587-ZW2-F01

-

КОЖУХ, БЛОК КОНТАКТНОГО ЗАЖИГАНИЯ

по запросу
00830598-ZV5-000

-

ИЗОЛЯЦИОННАЯ ВТУЛКА, КОРПУС БЛОКА КОНТАКТНОГО ЗАЖИГАНИЯ (B)

по запросу
01032106-ZV5-010

-

КРОНШТЕЙН, СОЕДИНИТЕЛЬ (A)

по запросу
01132160-ZW2-F00

-

КАБЕЛЬ В СБОРЕ, БЛОК КОНТАКТНОГО ЗАЖИГАНИЯ (2)

по запросу
01232805-413-000

-

ФИКСАТОР, КАБЕЛЬ МИГАЮЩЕГО СВЕТОВОГО СИГНАЛА

по запросу
01340102-ZV5-000

-

ИЗОЛЯЦИОННАЯ ВТУЛКА, ПОД КОЖУХОМ

по запросу
01490018-ZW5-000

-

БОЛТ, ФЛАНЕЦ, 6x20

по запросу
01590082-ZW4-H01

-

КОЛПАЧОК, БОЛТ, 6 MM

по запросу
01690658-ZA0-930

-

ФИКСАТОР, ВЫСОКОВОЛЬТНЫЙ ПРОВОД

по запросу
01791553-ZV5-010

-

ВОРОТНИКОВАЯ ВТУЛКА, КОРПУС БЛОКА КОНТАКТНОГО ЗАЖИГАНИЯ

по запросу
01832823-ZV5-003

-

ПРОБКА, ВНУТР. СОЕДИНИТЕЛЬ

по запросу
01930400-ZW2-F02

-

БЛОК C.D.I.

по запросу
30400-ZW2-F03

-

БЛОК C.D.I.

по запросу

Подвесной мотор Honda BF30A4 SRTU - выбрать запчасти


 
 

данный сайт носит информационный характер и не является публичной офертой

склад запчастей для водомоторной техники