вконтакте

Контактный телефон: +7 (981) 121-46-93, +7 (800) 200-90-76 , Email: parts-katalog@yandex.ru, где купить

 
 
Главная Как заказать Каталоги Контакты

  Логин:

Пароль:

Регистрация

Узнать наличие и цену запчасти:


УВАЖАЕМЫЕ КЛИЕНТЫ!
C 19 ДЕКАБРЯ 2025 ПО 02 МАРТА 2026 ГОДА ОТДЕЛ ЗАПЧАСТЕЙ И СЕРВИС РАБОТАТЬ НЕ БУДУТ
ПРОДАЖА ЛОДОЧНЫХ МОТОРОВ В ШТАТНОМ РЕЖИМЕ
ОБ ИЗМЕНЕНИЯХ В ГРАФИКЕ РАБОТЫ ЧИТАЙТЕ НА САЙТА



Лодочные моторы :: Honda :: Четырехтактные :: Honda BF30A LHSJ


ЗАПЧАСТИ ДЛЯ ПОДВЕСНОГО ЛОДОЧНОГО МОТОРА HONDA BF30A-LHSJ
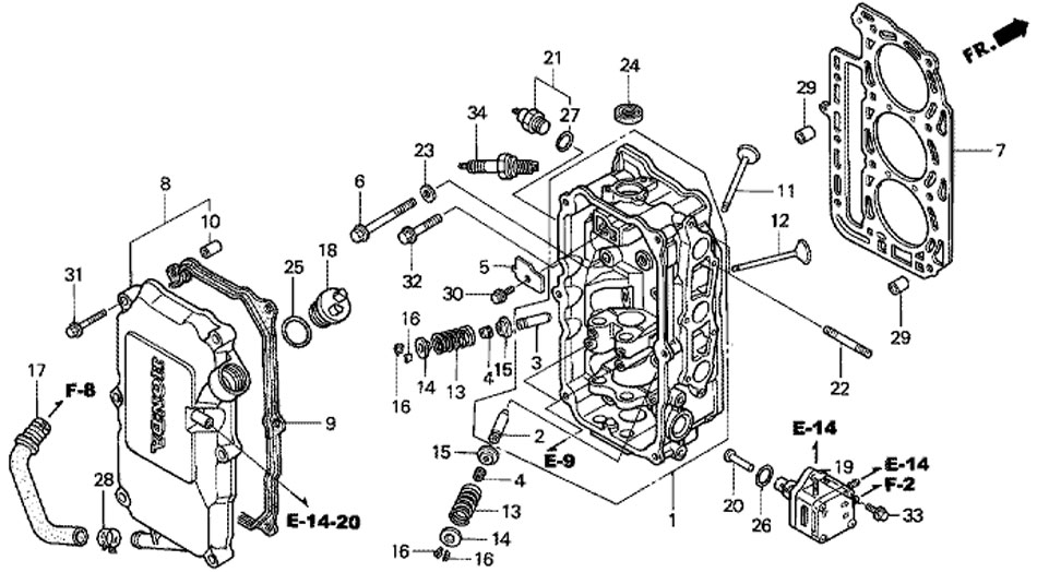
ГОЛОВКА БЛОКА ЦИЛИНДРА (CYLINDER HEAD) E-2

головка блока цилиндра мотора honda BF-30A LHSJ

Чтобы узнать цену, наличие запасной части на складе или купить, нажмите ссылку "запросить цену". Чтобы посмотреть подробную информацию и фотографии, нажмите на код запчасти. Для запчастей со статусом "не поставляется" можете попробовать уточнить возможность поставки.

все блоки

Номер
на чертеже
Код по каталогуНазвание (eng)Название (rus)Цена
00112210-ZV7-010ZA

-

КОМП. ГОЛОВКИ, ЦИЛИНДР *NH8 * (NH8 DARK GRAY (ТЕМНО-СЕРЫЙ))

по запросу
00212204-ZV4-315

-

НАПРАВЛЯЮЩАЯ, ВПУСКН. КЛАПАН (OS)

по запросу
00312205-ZV4-315

-

НАПРАВЛЯЮЩАЯ, ВЫП. КЛАПАН (OS)

по запросу
00412209-KL4-005

-

УПЛОТНЕНИЕ, ШТОК КЛАПАНА (NOK)

по запросу
00512212-ZV7-000

-

ПЛАСТИНА, МАСЛЯНАЯ КАМЕРА

по запросу
00612228-ZV7-000

-

БОЛТ, ФЛАНЕЦ, 8x80

по запросу
00712251-ZV7-004

-

ПРОКЛАДКА, ГОЛОВКА БЛОКА ЦИЛИНДРОВ

по запросу
00812310-ZV7-000

-

КОМП. КРЫШКИ, ГОЛОВКА БЛОКА ЦИЛИНДРОВ

по запросу
00912312-ZV7-000

-

УПЛОТНЕНИЕ, КРЫШКА ГОЛОВКИ

по запросу
01012314-ZV5-300

-

ВОРОТНИКОВАЯ ВТУЛКА, КРЫШКА ГОЛОВКИ

по запросу
01114711-ZV4-000

-

КЛАПАН, ВХ.

по запросу
01214721-ZV7-000

-

КЛАПАН, ВЫП.

по запросу
01314751-ZV4-000

-

ПРУЖИНА, КЛАПАН

по запросу
01414771-ZV1-000

-

ФИКСИРУЮЩИЙ ЭЛЕМЕНТ, ПРУЖИНА КЛАПАНА

по запросу
01514775-028-010

-

СЕДЛО, ПРУЖИНА КЛАПАНА

по запросу
01614781-107-003

-

ШПОНКА, КЛАПАН (SANKO)

по запросу
01715422-ZV7-000

-

ПАТРУБОК, МАСЛО

по запросу
01815611-ZV4-000

-

КОЛПАЧОК, МАСЛО

по запросу
01916700-ZV5-003

-

НАСОС В СБОРЕ, ТОПЛИВО

по запросу
02016716-ZV5-000

-

ПОДЪЕМНИК, ТОПЛИВНЫЙ НАСОС

по запросу
02137760-ZV7-013

-

ВЫКЛЮЧАТЕЛЬ В СБОРЕ, ТЕРМОСТАТ

по запросу
02290006-ZV5-000

-

БОЛТ, ШПИЛЬКА, 6x28

по запросу
02390405-ZV5-000

-

ШАЙБА, ПЛОСКАЯ, 8 MM

по запросу
02491202-KJ9-003

-

МАСЛЯНОЕ УПЛОТНЕНИЕ, 20x32x6

по запросу
02591301-805-000

-

УПЛОТНИТЕЛЬНОЕ КОЛЬЦО, 26x2.7

по запросу
02691306-921-000

-

УПЛОТНИТЕЛЬНОЕ КОЛЬЦО, 20.8x2.4

по запросу
02791307-611-000

-

УПЛОТНИТЕЛЬНОЕ КОЛЬЦО, 13.5x1

по запросу
02890601-ZV3-000

-

ХОМУТ, ПАТРУБОК (D17)

по запросу
02994301-10120

-

ШПОНКА, 10x12

по запросу
03095701-06012-09

-

БОЛТ, ФЛАНЕЦ, 6x12

по запросу
03195701-06035-02

-

БОЛТ, ФЛАНЕЦ, 6x35

по запросу
03295701-08040-02

-

БОЛТ, ФЛАНЕЦ, 8x40

по запросу
03396001-06020-02

-

БОЛТ, ФЛАНЕЦ, 6x20

по запросу
03498069-5771P

-

СВЕЧА, ЗАЖИГАНИЯ (DR7EA) (NGK)

по запросу
98069-57726

-

СВЕЧА, ЗАЖИГАНИЯ (X22ESR-U) (DENSO)

по запросу

Каталог запчастей на подвесной мотор Honda BF30A LHSJ


 
 

данный сайт носит информационный характер и не является публичной офертой

склад запчастей для водомоторной техники