вконтакте

Контактный телефон: +7 (981) 121-46-93, +7 (800) 200-90-76 , Email: parts-katalog@yandex.ru, где купить

 
 
Главная Как заказать Каталоги Контакты

  Логин:

Пароль:

Регистрация

Узнать наличие и цену запчасти:


УВАЖАЕМЫЕ КЛИЕНТЫ!
C 19 ДЕКАБРЯ 2025 ПО 02 МАРТА 2026 ГОДА ОТДЕЛ ЗАПЧАСТЕЙ И СЕРВИС РАБОТАТЬ НЕ БУДУТ
ПРОДАЖА ЛОДОЧНЫХ МОТОРОВ В ШТАТНОМ РЕЖИМЕ
ОБ ИЗМЕНЕНИЯХ В ГРАФИКЕ РАБОТЫ ЧИТАЙТЕ НА САЙТА



Лодочные моторы :: Honda :: Четырехтактные :: Honda BF50A


ЗАПЧАСТИ ДЛЯ ЛОДОЧНОГО МОТОРА HONDA BF50A
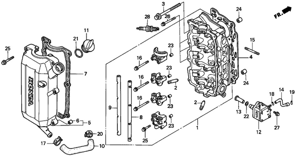
ГОЛОВКА БЛОКА ЦИЛИНДРОВ (CYLINDER HEAD) E-2

головка блока цилиндров honda BF50A

Чтобы узнать цену, наличие запасной части на складе или купить, нажмите ссылку "запросить цену". Чтобы посмотреть подробную информацию и фотографии, нажмите на код запчасти. Для запчастей со статусом "не поставляется" можете попробовать уточнить возможность поставки.

все блоки

Номер
на чертеже
Код по каталогуНазвание (eng)Название (rus)Цена
00112200-ZW4-000

-

ГОЛОВКА В СБОРЕ, ЦИЛИНДР

49.080 руб.
00212205-ZV5-325

-

НАПРАВЛЯЮЩАЯ, КЛАПАН (OS)

505 руб.
00312228-ZV5-004

-

БОЛТ-ШАЙБА, 10X85

214 руб.
00412251-ZV5-000

-

ПРОКЛАДКА, ГОЛОВКА БЛОКА ЦИЛИНДРОВ

2.359 руб.
00512310-ZV5-000

-

КОМП. КРЫШКИ, ГОЛОВКА БЛОКА ЦИЛИНДРОВ

8.339 руб.
00612314-ZV5-300

-

ВОРОТНИКОВАЯ ВТУЛКА, КРЫШКА ГОЛОВКИ

189 руб.
00712391-ZV5-000

-

УПЛОТНЕНИЕ, КРЫШКА ГОЛОВКИ

1.239 руб.
00814631-ZV5-000

-

ВАЛ, ВХ. КОРОМЫСЛО

по запросу
00914632-ZV5-000

-

ВАЛ, ВЫП. КУЛАЧОК

по запросу
01015422-ZV5-000

-

ПАТРУБОК, МАСЛО

по запросу
01115611-921-000

-

КОЛПАЧОК, МАСЛО (ЖЕЛТЫЙ)

231 руб.
01216700-ZV5-003

-

НАСОС В СБОРЕ, ТОПЛИВО

5.524 руб.
01316716-ZV5-000

-

ПОДЪЕМНИК, ТОПЛИВНЫЙ НАСОС

264 руб.
01416861-ZV5-000

-

ПАТРУБОК B, ТОПЛИВО

по запросу
01590006-ZV5-000

-

БОЛТ, ШПИЛЬКА, 6X28

по запросу
01690018-ZV5-000

-

БОЛТ, ФЛАНЕЦ, 6X70

по запросу
01790602-ZV5-013

-

ХОМУТ, ПАТРУБОК (D22)

по запросу
01890603-ZV4-000

-

ФИКСАТОР, ПАТРУБОК (B10)

60 руб.
01990604-881-000

-

ФИКСАТОР, ПАТРУБОК (B12)

по запросу
02090602-ZV3-000

-

ХОМУТ, ПАТРУБОК (D18.8)

по запросу
02191301-805-000

-

УПЛОТНИТЕЛЬНОЕ КОЛЬЦО, 26X2.7

85 руб.
02291306-921-000

-

УПЛОТНИТЕЛЬНОЕ КОЛЬЦО, 20.8X2.4

119 руб.
02394301-08140

-

ШПОНКА, 8X14

42 руб.
02494303-06100

-

ШПОНКА, 6X10

44 руб.
02595701-06035-02

-

БОЛТ, ФЛАНЕЦ, 6X35

30 руб.
02695701-08040-02

-

БОЛТ, ФЛАНЕЦ, 8X40

39 руб.
02796001-06020-02

-

БОЛТ, ФЛАНЕЦ, 6X20

39 руб.
02898069-5771P

-

СВЕЧА, ЗАЖИГАНИЯ (DR7EA) (NGK)

227 руб.
98069-57726

-

СВЕЧА, ЗАЖИГАНИЯ (X22ESR-U) (DENSO)

227 руб.

Содержание каталога запчастей для Honda BF50A


 
 

данный сайт носит информационный характер и не является публичной офертой

склад запчастей для водомоторной техники