вконтакте

Контактный телефон: +7 (981) 121-46-93, +7 (800) 200-90-76 , Email: parts-katalog@yandex.ru, где купить

 
 
Главная Как заказать Каталоги Контакты

  Логин:

Пароль:

Регистрация

Узнать наличие и цену запчасти:


УВАЖАЕМЫЕ КЛИЕНТЫ!
C 19 ДЕКАБРЯ 2025 ПО 02 МАРТА 2026 ГОДА ОТДЕЛ ЗАПЧАСТЕЙ И СЕРВИС РАБОТАТЬ НЕ БУДУТ
ПРОДАЖА ЛОДОЧНЫХ МОТОРОВ В ШТАТНОМ РЕЖИМЕ
ОБ ИЗМЕНЕНИЯХ В ГРАФИКЕ РАБОТЫ ЧИТАЙТЕ НА САЙТА



Лодочные моторы :: Suzuki :: Двухтактные :: Suzuki DT30 LK11 E1


ПОДВЕСНОЙ МОТОР SUZUKI DT30-LK11
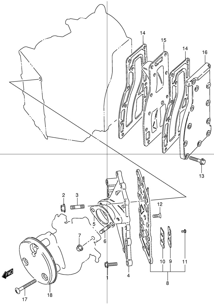
ВПУСКНОЙ КОРОБ (INLET CASE) ДЛЯ МОДЕЛЕЙ DT25, DT30

впускной короб на мотор suzuki dt30 lk11 e1

Чтобы узнать цену, наличие запасной части на складе или купить, нажмите ссылку "запросить цену". Чтобы посмотреть подробную информацию и фотографии, нажмите на код запчасти. Для запчастей со статусом "не поставляется" можете попробовать уточнить возможность поставки.

все блоки

Номер
на чертеже
Код по каталогуНазвание (eng)Название (rus)Цена
00102162-06257-000

BOLT

Болт

по запросу
00208316-10067-000

NUT

Гайка

по запросу
00301411-0620A-000

STUD BOLT

Штырь с резьбой

по запросу
00412481-96302-0ED

CASE, INLET (GRAY)

Корпус впуска (серый)

по запросу
12481-96302-0EP

CASE, INLET (BLACK) (MODEL:02~)

Корпус впуска (чёрный) (модели после 2002 года)

по запросу
00513125-93010-000

GASKET, CARBURETOR

Прокладка карбюратора

по запросу
00601411-08207-000

STUD BOLT

Штырь с резьбой

по запросу
00708316-10087-000

NUT

Гайка

по запросу
00813150-96300-000

REED VALVE ASSY

Клапан в сборе

по запросу
00913152-96300-000

STOPPER, REED VALVE

Стопор клапана

по запросу
01013153-96300-000

VALVE, REED

Клапан

по запросу
01102112-33063-000

SCREW

Винт

по запросу
01202122-0616A-000

SCREW

Винт

по запросу
01301550-06257-000

BOLT (6x25)

Болт (6x25)

по запросу
01414151-96311-000

GASKET, EXHAUST COVER

Прокладка крышки выхода

по запросу
01514131-96301-000

PLATE, EXHAUST

Плата выхлопа

по запросу
01614141-96301-0ED

COVER, EXHAUST (GRAY)

Крышка выхлопа (серый)

по запросу
14141-96301-0EP

COVER, EXHAUST (BLACK) (MODEL:02~)

Крышка выхлопа (чёрная) (модели после 2002 года)

по запросу
01702142-06407-000

SCREW

Винт

по запросу
01813811-96300-000

CASE, SILENCER

Корпус глушителя

по запросу

Перейти к оглавлению каталога Suzuki DT30 LK11


 
 

данный сайт носит информационный характер и не является публичной офертой

склад запчастей для водомоторной техники