вконтакте

Контактный телефон: +7 (981) 121-46-93, +7 (800) 200-90-76 , Email: parts-katalog@yandex.ru, где купить

 
 

  Логин:

Пароль:

Регистрация

www.partskatalog.ru Все каталоги Запчасти Mercury Запчасти Suzuki Запчасти Tohatsu Запчасти Honda Контакты



УВАЖАЕМЫЕ КЛИЕНТЫ!
C 19 ДЕКАБРЯ 2025 ПО 02 МАРТА 2026 ГОДА ОТДЕЛ ЗАПЧАСТЕЙ И СЕРВИС РАБОТАТЬ НЕ БУДУТ
ПРОДАЖА ЛОДОЧНЫХ МОТОРОВ В ШТАТНОМ РЕЖИМЕ
ОБ ИЗМЕНЕНИЯХ В ГРАФИКЕ РАБОТЫ ЧИТАЙТЕ НА САЙТА




Вернуться к началу выбора


Год выпуска: 2001 год

Семейство или модельный ряд: DS 650, 2001

Модификация квадроцикла: DS 650 (supplement), 7482, 2001

   Выберите раздел

найти расходники на квадроциклы BRP


Выберите раздел

01- Выхлоп и Двигатель System (01- Exhaust And Engine System)

01- Выхлоп и Двигатель System (01- Exhaust And Engine System)

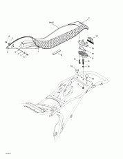
09- Седло (09- Seat)

09- Седло (09- Seat)

09- Корпус (09- Body)

09- Корпус (09- Body)

09- Наклейки (09- Decals)

09- Наклейки (09- Decals)

brp atv

Время выполнения запроса 0.19583201408386 сек.


 
 

данный сайт носит информационный характер и не является публичной офертой

склад запчастей для водомоторной техники