вконтакте

Контактный телефон: +7 (981) 121-46-93, +7 (800) 200-90-76 , Email: parts-katalog@yandex.ru, где купить

 
 

  Логин:

Пароль:

Регистрация

www.partskatalog.ru Все каталоги Запчасти Mercury Запчасти Suzuki Запчасти Tohatsu Запчасти Honda Контакты


Выбрать другую модель

назад Раздел:   вперёд

вернуться к списку узлов и деталей

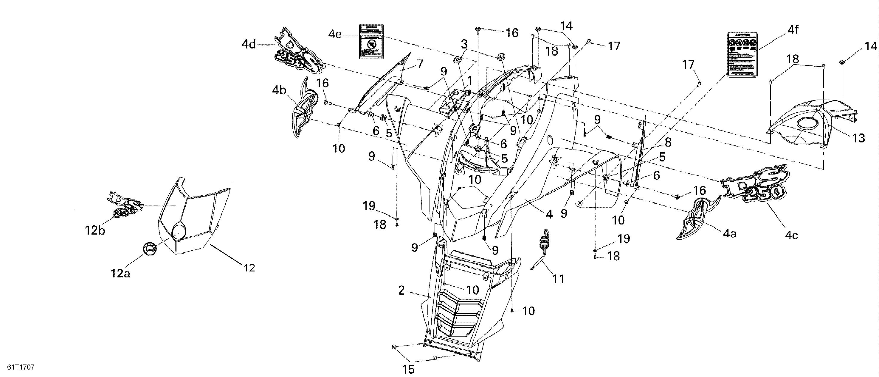
ДЕТАЛИРОВКА ДЛЯ МОДЕЛИ: BRP ATV DS 250, 2017

Раздел: Front Fender North America | Front Fender North America


Мотовездеход BRP DS 250, 2017 раздел - Front Fender North America

Номер на
рисунке
АртикулНаименованиеКол-во
на складе
Цена
1 S46220RCA000

Рычаг переключения Крышка. North America (Shift Lever Cover. North America)

под заказ460 руб.
2 S50611RCA000

Radiator Grill. North America (Radiator Grill. North America)

под заказ1230 руб.
3 S61105RCA000

Gromet. North America (Gromet. North America)

под заказ300 руб.
4 S6110GRCBH00ZY

Front Fender, жёлтый. North America (Front Fender, Yellow. North America)

под заказ22600 руб.
4a S87131RCAA00

Передняя наклейка. North America (Front Decal. North America)

под заказ1070 руб.
4c S87136RCAA00

LH Передняя наклейка B. North America (LH Front Decal B. North America)

под заказ1340 руб.
4e S87137RCAA00

RH Передняя наклейка B. North America (RH Front Decal B. North America)

под заказ1830 руб.
4g S87501RCB900

Наклейка - предупреждение A. North America (Warning Decal A. North America)

под заказ240 руб.
4f S87502RCBA00

Наклейка - предупреждение, 14 Years Old. North America (Warning Decal, 14 Years Old. North America)

под заказ120 руб.
4k S87505RCAA00

Переключательer Наклейки. North America (Shifter Label. North America)

под заказ120 руб.
4h S87518RCBH00

Наклейка - предупреждение, Road. North America (Warning Decal, Road. North America)

под заказпо запросу
5 S80103X01000

Rubber Шайба. North America (Rubber Washer. North America)

под заказ300 руб.
6 S80104X01000

Fender Воротник. North America (Fender Collar. North America)

под заказ310 руб.
7 S83520RCA000

RH Side Pannel. North America (RH Side Pannel. North America)

под заказ980 руб.
8 S83620RCA000

LH Side Pannel. North America (LH Side Pannel. North America)

под заказпо запросу
9 S90302V02000

Зажим Гайка. North America (Clip Nut. North America)

под заказ300 руб.
10 S9390332280

Саморез M4 X 12. North America (Tapping Screw M4 X 12. North America)

под заказ300 руб.
11 S38600RA1000

DC Power выход, 12 Volts. North America (DC Power Outlet, 12 Volts. North America)

под заказ2880 руб.
12 S6430GRCAA00JF

Radiator Крышка в сборе North America (Radiator Cover Assy. North America)

под заказ4000 руб.
12a S87130RCAA00

DS250 Наклейка. North America (DS250 Decal. North America)

под заказпо запросу
12b S87500RCA000

BRP Logo. North America (BRP Logo. North America)

под заказ3380 руб.
13 S43020RCA000

Топливный бак Крышка. North America (Fuel Tank Cover. North America)

под заказ1230 руб.
14 S934040601407

Шайба Болт. North America (Washer Bolt. North America)

под заказ300 руб.
15 S90164RCA000

Special Винт. North America (Special Screw. North America)

под заказ300 руб.
16 S934040602507

Шайба Болт. North America (Washer Bolt. North America)

под заказ300 руб.
17 S9390344380

Саморез. North America (Tapping Screw. North America)

под заказ300 руб.
18 S9390345380

TaШтифтg Винт M5 X 16. North America (Taping Screw M5 X 16. North America)

под заказ150 руб.
19 S9411105800

Пружинная шайба 5 mm. North America (Spring Washer 5 mm. North America)

под заказ300 руб.
brp atv

Время выполнения запроса 2.5004739761353 сек.


 
 

данный сайт носит информационный характер и не является публичной офертой

склад запчастей для водомоторной техники