Контактный телефон: +7 (981) 121-46-93, +7 (800) 200-90-76 , Email: parts-katalog@yandex.ru, где купить |
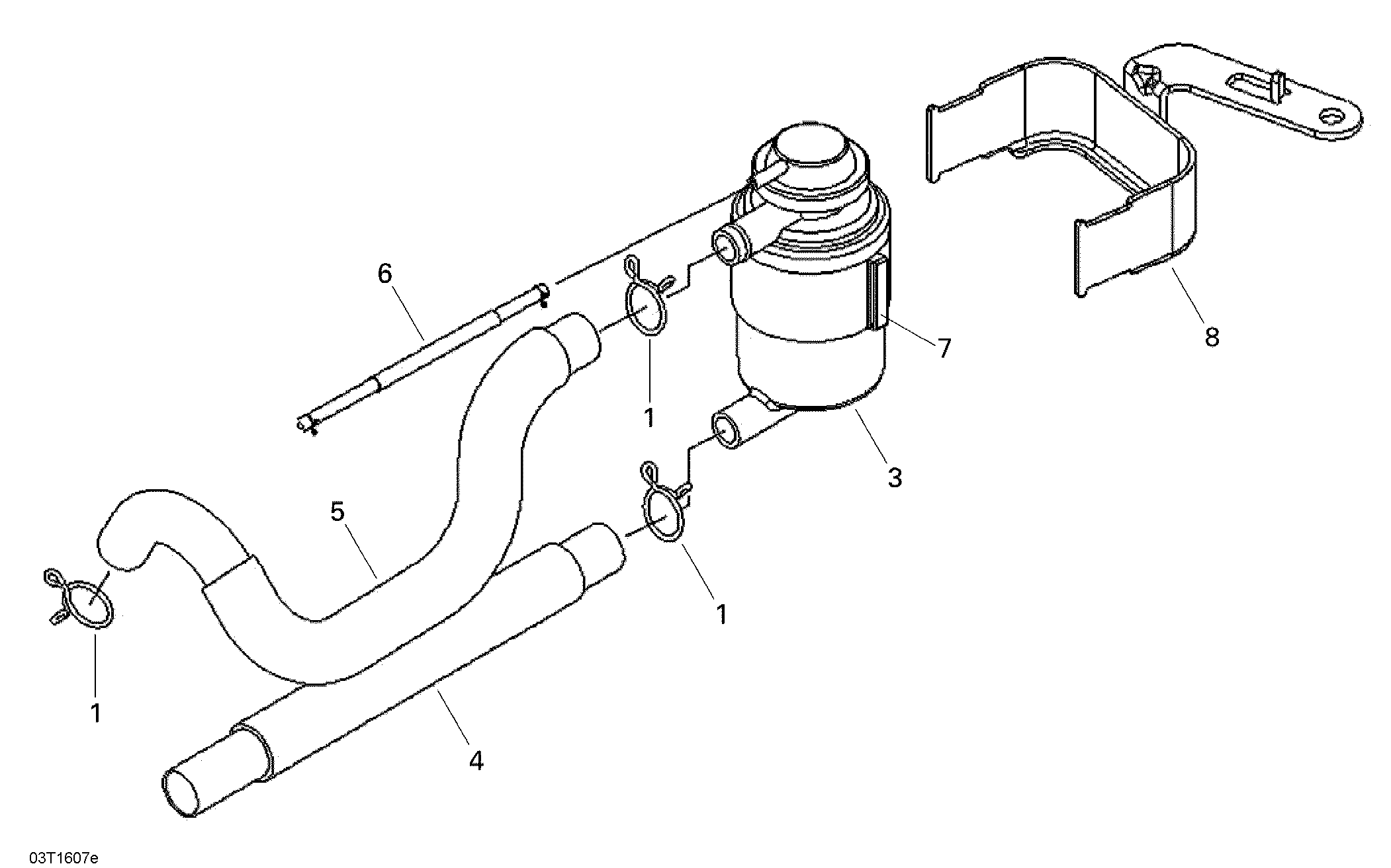
вернуться к списку узлов и деталей ДЕТАЛИРОВКА ДЛЯ МОДЕЛИ: BRP ATV DS 250, 2016 Раздел: Air Injection System North America
|
|||||||||||||||||||||||||||||||||||||||||||||||||||||||||||||||||||
| Номер на рисунке | Артикул | Наименование | Кол-во на складе | Цена | |
| 1 | S1865ARCB000 | A.I.C.V Unit. North America (A.I.C.V Unit. North America) | под заказ | 7730 руб. | |
| 2 | S18533634670 | Зажим. North America (Clip. North America) | под заказ | 290 руб. | |
| 3 | S18650HMA000 | Tank. North America (Tank. North America) | под заказ | 34800 руб. | |
| 4 | S18655RCA000 | Трубка. North America (Tube. North America) | под заказ | 1360 руб. | |
| 5 | S18656RCA000 | Трубка. North America (Tube. North America) | под заказ | 1660 руб. | |
| 6 | S18657RCB000 | Трубка. North America (Tube. North America) | под заказ | 910 руб. | |
| 7 | S18811N14000 | Setting Ремешок. North America (Setting Band. North America) | под заказ | 610 руб. | |
| 8 | S18659RCA000 | Tank Sвышеport. North America (Tank Support. North America) | под заказ | 1210 руб. | |

Время выполнения запроса 0.73701095581055 сек.
склад запчастей для водомоторной техники