вконтакте

Контактный телефон: +7 (981) 121-46-93, +7 (800) 200-90-76 , Email: parts-katalog@yandex.ru, где купить

 
 

  Логин:

Пароль:

Регистрация

www.partskatalog.ru Все каталоги Запчасти Mercury Запчасти Suzuki Запчасти Tohatsu Запчасти Honda Контакты



УВАЖАЕМЫЕ КЛИЕНТЫ!
C 19 ДЕКАБРЯ 2025 ПО 02 МАРТА 2026 ГОДА ОТДЕЛ ЗАПЧАСТЕЙ И СЕРВИС РАБОТАТЬ НЕ БУДУТ
ПРОДАЖА ЛОДОЧНЫХ МОТОРОВ В ШТАТНОМ РЕЖИМЕ
ОБ ИЗМЕНЕНИЯХ В ГРАФИКЕ РАБОТЫ ЧИТАЙТЕ НА САЙТА




Выбрать другую модель

назад Раздел:   вперёд

вернуться к списку узлов и деталей

ДЕТАЛИРОВКА ДЛЯ МОДЕЛИ: BRP ATV DS 250 NA / Inter, 2007

Раздел: Рама | Frame


Мотовездеход BRP DS 250 NA / Inter, 2007 раздел - Рама

Номер на
рисунке
АртикулНаименованиеКол-во
на складе
Цена
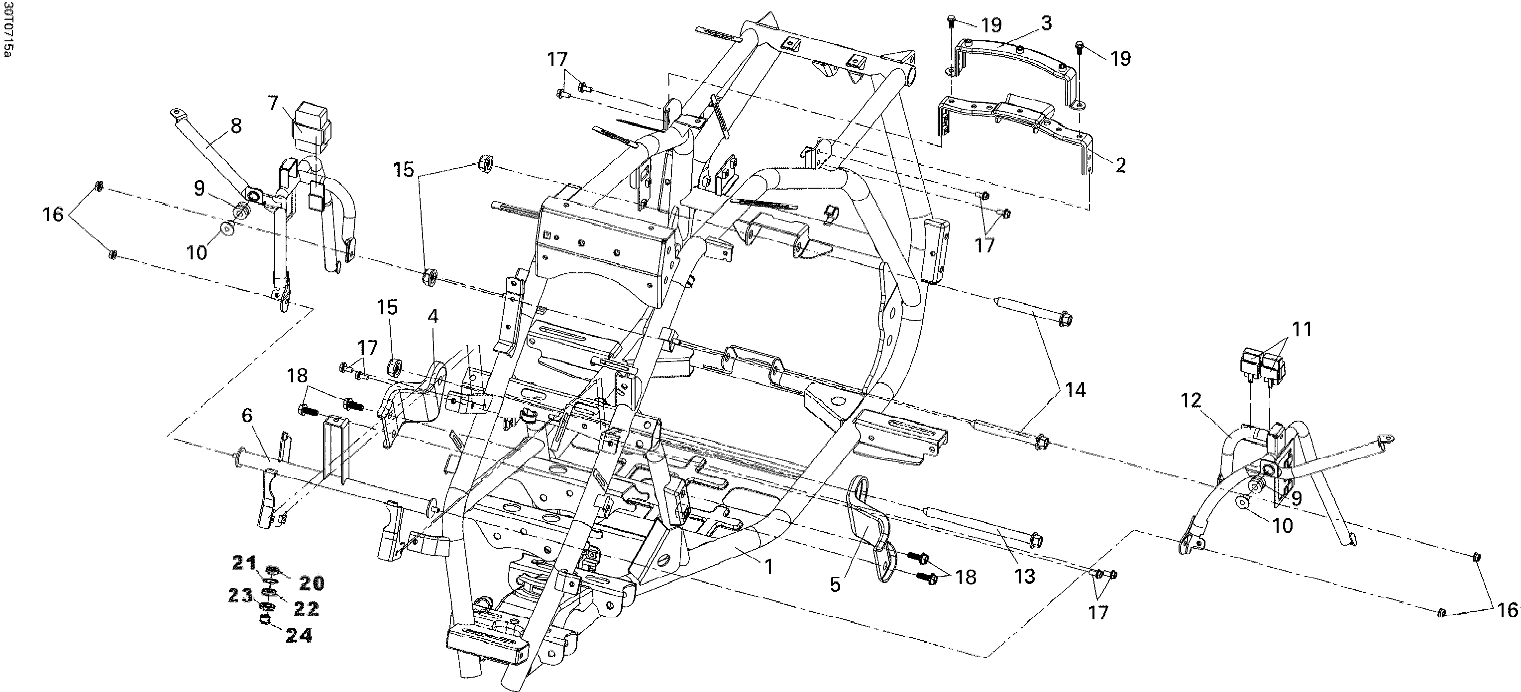
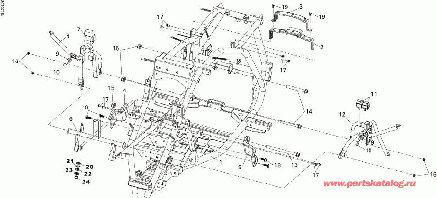
1 S50100RCB000

Рама Front (Frame Front)

под заказ113200 руб.
2 S50171RCA000

Tank Крышка Кронштейн (Tank Cover Bracket)

под заказ1530 руб.
3 S50172RCA000

Tank Кронштейн (Tank Bracket)

под заказ1840 руб.
4 S50350RCA000

RH Кронштейн двигателя (RH Engine Bracket)

под заказ1530 руб.
5 S50360RCA000

LH Кронштейн двигателя (LH Engine Bracket)

под заказ1530 руб.
6 S50510RCA000

Front Fender Sвышеport (Front Fender Support)

под заказ8370 руб.
7 S3576ARCA000

Переключатель Шестерня Управление Unit (Shift Gear Control Unit)

под заказ11700 руб.
8 S50520RCA000

RH Front Fender Sвышеport (RH Front Fender Support)

под заказ8370 руб.
9 S80103X01000

Rubber Шайба (Rubber Washer)

под заказ300 руб.
10 S80104X01000

Fender Воротник (Fender Collar)

под заказ310 руб.
11 S3850AHLA000

Электрика Реле в сборе (Electrical Relay Assy)

под заказ2120 руб.
12 S50522RCA000

LH Front Fender Sвышеport (LH Front Fender Support)

под заказ8370 руб.
13 S90101RCA000

Болт M12 X 162 (Bolt M12 X 162)

под заказ610 руб.
14 S90102RCA000

Болт M12 X 98 (Bolt M12 X 98)

под заказ910 руб.
15 S90306M9Q000

Self Стопорная гайка M12 (Self Lock Nut M12)

под заказ610 руб.
16 S9405006070

Фланецd Гайка 6 mm (Flanged Nut 6 mm)

под заказ300 руб.
17 S958010601207

Фланецd Болт M6 X 12 (Flanged Bolt M6 X 12)

под заказ300 руб.
18 S958011001607

Фланецd Болт M10 X 16 (Flanged Bolt M10 X 16)

под заказ300 руб.
19 S960010601207

Фланецd Болт M6 X 12 (Flanged Bolt M6 X 12)

под заказ300 руб.
20 S91210RCA000

Сальник (Oil Seal)

под заказ610 руб.
21 S9452032000

Стопорное кольцо (Circlip)

под заказ300 руб.
22 S961306002310

Шариковый подшипник (Ball Bearing)

под заказ1360 руб.
23 S91211RCA000

Сальник (Oil Seal)

под заказ1360 руб.
24 S53207RCA000

Рулевая система Column Воротник (Steering Column Collar)

под заказ770 руб.
brp atv

Время выполнения запроса 1.7701342105865 сек.


 
 

данный сайт носит информационный характер и не является публичной офертой

склад запчастей для водомоторной техники