| |
Выбрать другую модель
вернуться к списку узлов и деталей ДЕТАЛИРОВКА ДЛЯ МОДЕЛИ: BRP ATV Mini DS 90 4-strokes, 2006
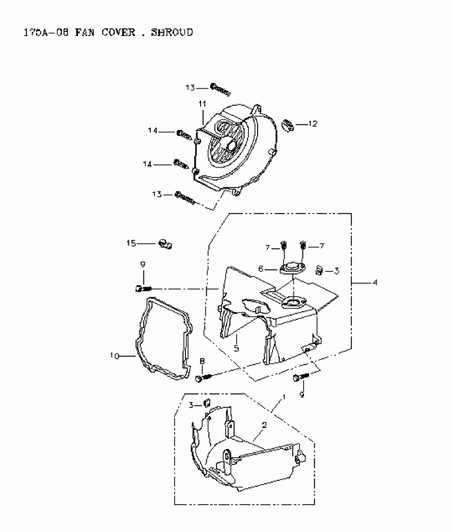
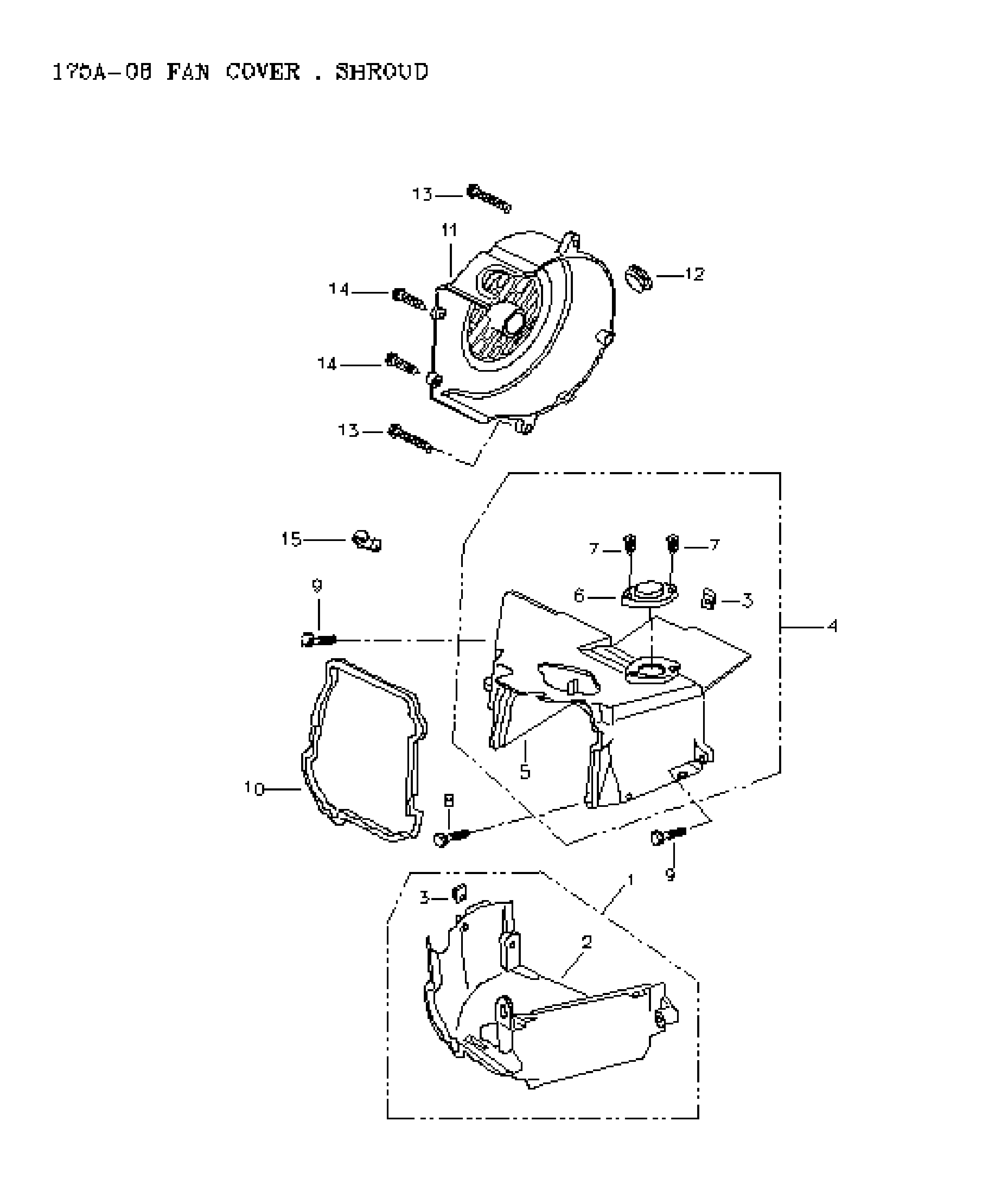
Раздел: Крышка вентилятора | Fan Cover
Номер на рисунке | Артикул | Наименование | Кол-во на складе | Цена |
| 1 | XXX | Колпак A в сборе (Shroud A Assy) | | | |
| 2 | A19621133000 | Колпак A (Shroud A) | под заказ | 2150 руб. | |
| 3 | A9034406000 | U Пластина Гайка (U Plate Nut) | под заказ | 620 руб. | |
| 4 | XXX | Колпак B в сборе (Shroud B Assy) | | | |
| 5 | A19623133000 | Колпак B (Shroud B) | под заказ | 2150 руб. | |
| 6 | A19633133000 | Tensioner Подъёмник Крышка (Tensioner Lifter Cover) | под заказ | 310 руб. | |
| 7 | A9390405012 | Hex Truss Head Саморез (Hex Truss Head Tapping Screw) | под заказ | 310 руб. | |
| 8 | 207661644 | Hex Фланецd Винт M6 X 16 (Hex Flanged Screw M6 X 16) | под заказ | 280 руб. | |
| 9 | A960000602008 | Hexagonal Шайба Face Болт (Hexagonal Washer Face Bolt) | под заказ | 310 руб. | |
| 10 | A19625133000 | Сальник Колпак (Seal Shroud) | под заказ | 1840 руб. | |
| 11 | A19610133000 | Генератор Крышка (Generator Cover) | под заказ | 2150 руб. | |
| 12 | A17529120000 | Rubber Bung (Rubber Bung) | под заказ | 310 руб. | |
| 13 | A960000602508 | Hexagonal Шайба Face Болт (Hexagonal Washer Face Bolt) | под заказ | 310 руб. | |
| 14 | A9390405016 | Саморез Truss Head Hexagonal (Tapping Screw Truss Head Hexagonal) | под заказ | 290 руб. | |
| 15 | A1135112000A | Струбцинаer (Clamper) | под заказ | 580 руб. | |

Время выполнения запроса 2.4437642097473 сек.
|
|