| |
Выбрать другую модель
вернуться к списку узлов и деталей ДЕТАЛИРОВКА ДЛЯ МОДЕЛИ: BRP ATV Sarasota 1000, 2005
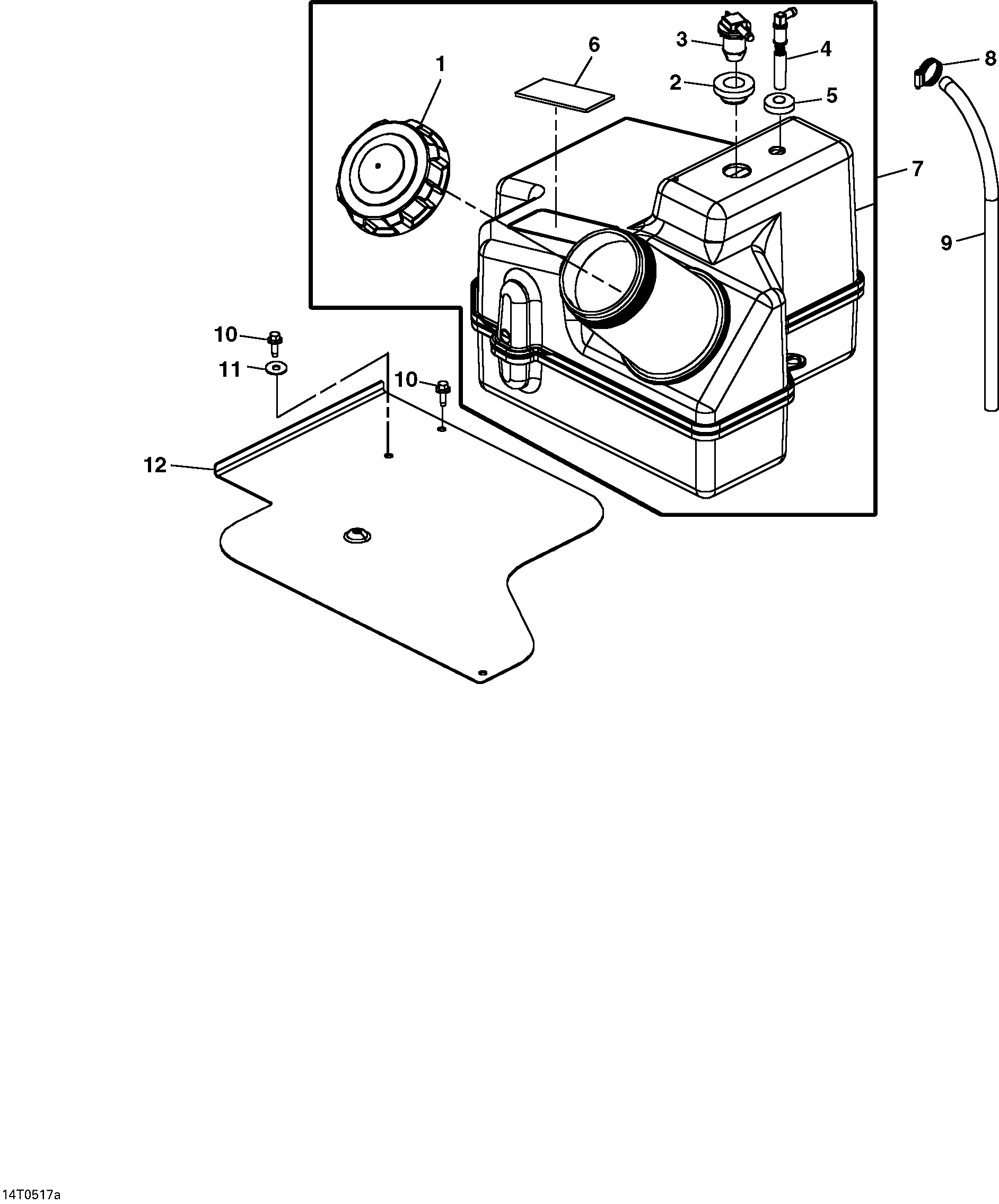
Раздел: Топливная система, Топливный бак | Fuel System, Fuel Tank
Номер на рисунке | Артикул | Наименование | Кол-во на складе | Цена |
| 1 | DVGA10167 | Fuel Filler Колпачок (Fuel Filler Cap) | под заказ | 4930 руб. | |
| 2 | DVG11732 | Пыльник Vent (Grommet Vent) | под заказ | по запросу | |
| 3 | DVGA10984 | Vent (Vent) | под заказ | 1090 руб. | |
| 4 | DVGA10983 | Fuel Pickвыше (Fuel Pickup) | под заказ | по запросу | |
| 5 | DM149638 | Fuel Pickвыше Втулка (Fuel Pickup Bushing) | под заказ | по запросу | |
| 6 | DM149071 | Pad (Pad) | под заказ | по запросу | |
| 7 | DAM133051 | Топливный бак. Includes Items 1 to 6 (Fuel Tank. Includes Items 1 to 6) | под заказ | по запросу | |
| 8 | DR56101 | Шланг Струбцина (Hose Clamp) | под заказ | по запросу | |
| 9 | DTY22551 | Шланг (Hose) | под заказ | по запросу | |
| 10 | D37M7090 | Hex Винт Фланецd M6X16 (Hex Screw Flanged M6X16) | под заказ | 270 руб. | |
| 11 | D24M7100 | Шайба (Washer) | под заказ | по запросу | |
| 12 | DVG11455 | Пластина (Plate) | под заказ | по запросу | |

Время выполнения запроса 8.1945419311523 сек.
|
|