| |
Выбрать другую модель
вернуться к списку узлов и деталей ДЕТАЛИРОВКА ДЛЯ МОДЕЛИ: BRP ATV Mini DS 90 4-strokes, 2004
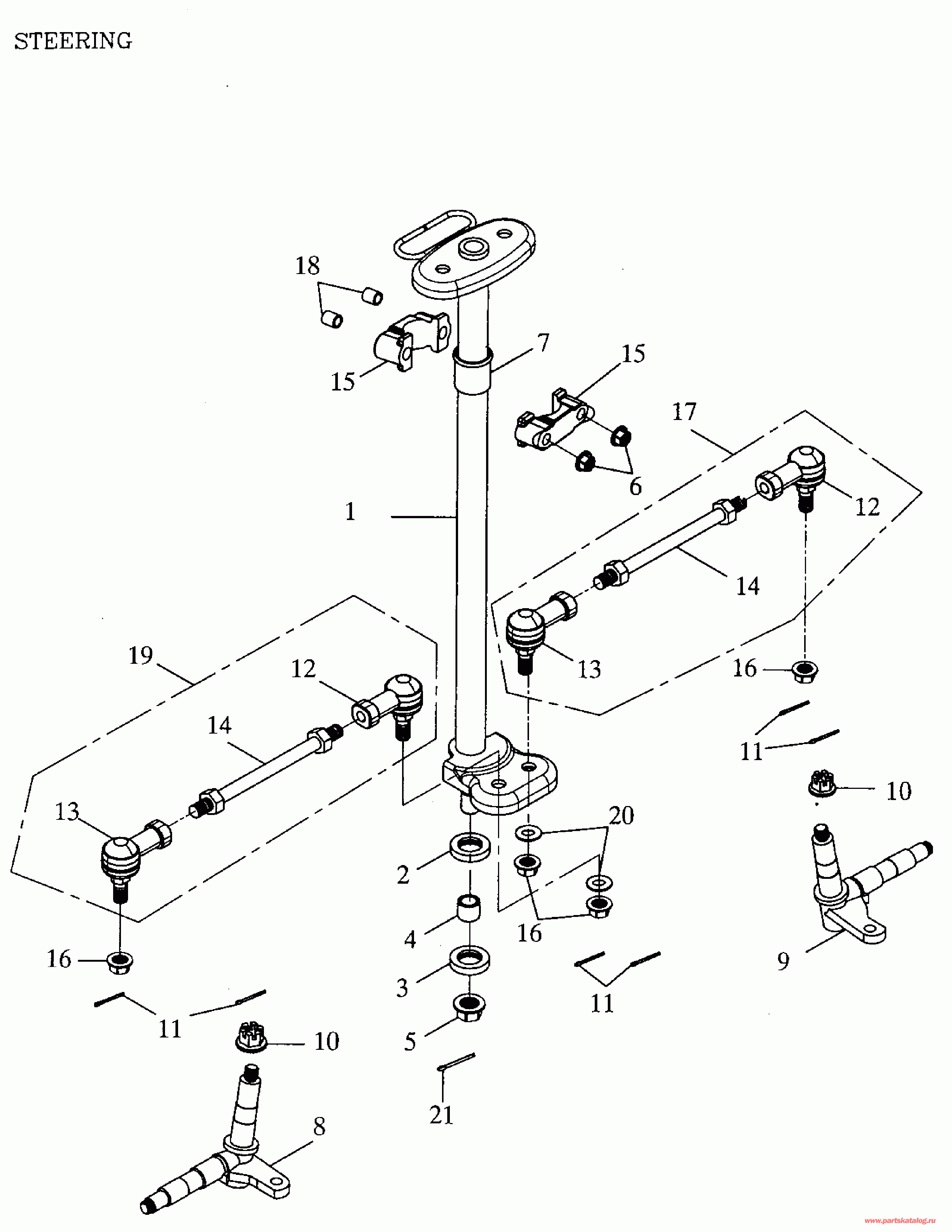
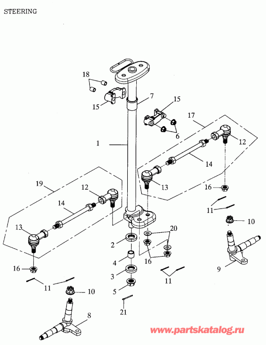
Раздел: Рулевая система System | Steering System
Номер на рисунке | Артикул | Наименование | Кол-во на складе | Цена |
| 1 | A51109155000 | Вал рулевой системы в сборе (Steering Shaft Assy) | под заказ | 7330 руб. | |
| 2 | A9650018327 | Сальник (Oil Seal) | под заказ | 1000 руб. | |
| 3 | A9650022357 | Сальник (22 x 35 x 7) (Oil Seal (22 x 35 x 7)) | под заказ | 1000 руб. | |
| 4 | A44620145000 | Проставка Трубка (Spacer Tube) | под заказ | 1000 руб. | |
| 5 | A9035014000 | Нейлоновая гайка M14 (Nylon Nut M14) | под заказ | 580 руб. | |
| 6 | A9405008000 | Hex. Фланецd Гайка With Serration M8 (Hex. Flanged Nut With Serration M8) | под заказ | по запросу | |
| 7 | A51114145000 | Втулка (Bush) | под заказ | 1060 руб. | |
| 8 | A44510145000 | L.H. Knuckle (L.H. Knuckle) | под заказ | 8930 руб. | |
| 9 | A44520145000 | R.H. Knuckle (R.H. Knuckle) | под заказ | 10330 руб. | |
| 10 | A940521000014 | Scotch Фланецd Гайка M10 (Scotch Flanged Nut M10) | под заказ | 860 руб. | |
| 11 | A9420120190 | Шплинт (Cotter Pin) | под заказ | 580 руб. | |
| 12 | A44511145002 | L.H. Шаровое соединение (L.H. Ball Joint) | под заказ | 5010 руб. | |
| 13 | A44521145002 | R.H. Шаровое соединение (R.H. Ball Joint) | под заказ | 4700 руб. | |
| 14 | A9100110200 | Tie Тяга Стержневой болт (Tie Rod Stud Bolt) | под заказ | 1150 руб. | |
| 15 | A5111314500A | Рулевая система Вал Держатель (Steering Shaft Holder) | под заказ | 1580 руб. | |
| 16 | A9035010000G | Нейлоновая гайка (10 mm x 1.25) (Nylon Nut (10 mm x 1.25)) | под заказ | по запросу | |
| 17 | A44500145002 | R.H. Соединитель в сборе (R.H. Link Assy) | под заказ | 7550 руб. | |
| 18 | A51115145000 | Держатель Проставка Воротник (Holder Spacer Collar) | под заказ | 860 руб. | |
| 19 | A44501145002 | L.H. Соединитель в сборе (L.H. Link Assy) | под заказ | 7550 руб. | |
| 20 | A941051022025G | Plain Шайба (Plain Washer) | под заказ | 290 руб. | |
| 21 | A9420130320 | Шплинт (3 x 32) (Cotter Pin (3 x 32)) | под заказ | 580 руб. | |

Время выполнения запроса 2.9742398262024 сек.
|
|