вконтакте

Контактный телефон: +7 (981) 121-46-93, +7 (800) 200-90-76 , Email: parts-katalog@yandex.ru, где купить

 
 

  Логин:

Пароль:

Регистрация

www.partskatalog.ru Все каталоги Запчасти Mercury Запчасти Suzuki Запчасти Tohatsu Запчасти Honda Контакты


Выбрать другую модель

назад Раздел:   вперёд

вернуться к списку узлов и деталей

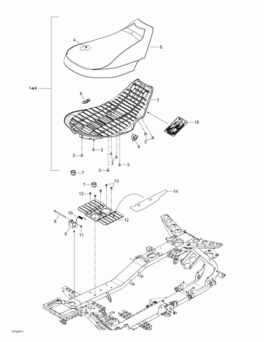
ДЕТАЛИРОВКА ДЛЯ МОДЕЛИ: BRP ATV Outlander 330/400 STD 2 X 4, 2004

Раздел: Седло | Seat


Квадроцикл BRP модель Outlander 330/400 STD 2 X 4, 2004 - Seat

Номер на
рисунке
АртикулНаименованиеКол-во
на складе
Цена
1 708000318

Седло в сборе. Includes 1 - 6. (Seat assy. Includes 1 - 6.)

под заказпо запросу
1 708000472

(последний код) Седло в сборе. Includes 1 - 6. (Seat assy. Includes 1 - 6.)

под заказпо запросу
2 XXX

Седло Основание (Seat base)

3 708000125

Резиновый стопор (Rubber stopper)

под заказ340 руб.
3 708000759

(последний код) Резиновый стопор (Rubber stopper)

под заказ430 руб.
4 XXX

Седло foam (Seat foam)

5 708000142

Седло Крышка (Seat cover)

под заказ10810 руб.
5 708000476

(последний код) Седло Крышка (Seat cover)

под заказ10630 руб.
6 708000199

Седло corner (Seat corner)

под заказ960 руб.
7 708000143

Rubber Бампер (Rubber bumper)

под заказпо запросу
7 708000323

(последний код) Rubber Бампер (Rubber bumper)

под заказ680 руб.
8 708000144

Latch (Latch)

под заказ1000 руб.
9 230061060

Hex Винт M6 x 110 (Hex screw M6 x 110)

под заказ530 руб.
9 211000067

(последний код) Hex Винт M6 x 110 (Hex screw M6 x 110)

под заказ680 руб.
10 708000146

Пружина (Spring)

под заказ680 руб.
10 708000369

(последний код) Пружина (Spring)

под заказ860 руб.
11 732610072

Push Гайка (Push nut)

под заказ270 руб.
11 732610068

(последний код) Push Гайка (Push nut)

под заказ210 руб.
12 708000152

Седло reinдляcement (Seat reinforcement)

под заказпо запросу
13 210261080

Pan head дляming Винт M6 x 10 (Pan head forming screw M6 x 10)

под заказ250 руб.
14 708000198

Reflecting sheet (Reflecting sheet)

под заказ1000 руб.
15 704900661

Emission Наклейки. 400 H.O (Emission label. 400 H.O)

под заказпо запросу
704900714

Emission Наклейки. 330 H.O STD 2 x 4, STD 4 x 4 (Emission label. 330 H.O STD 2 x 4, STD 4 x 4)

под заказпо запросу
brp atv

Время выполнения запроса 3.1045439243317 сек.


 
 

данный сайт носит информационный характер и не является публичной офертой

склад запчастей для водомоторной техники