вконтакте

Контактный телефон: +7 (981) 121-46-93, +7 (800) 200-90-76 , Email: parts-katalog@yandex.ru, где купить

 
 

  Логин:

Пароль:

Регистрация

www.partskatalog.ru Все каталоги Запчасти Mercury Запчасти Suzuki Запчасти Tohatsu Запчасти Honda Контакты



УВАЖАЕМЫЕ КЛИЕНТЫ!
C 19 ДЕКАБРЯ 2025 ПО 02 МАРТА 2026 ГОДА ОТДЕЛ ЗАПЧАСТЕЙ И СЕРВИС РАБОТАТЬ НЕ БУДУТ
ПРОДАЖА ЛОДОЧНЫХ МОТОРОВ В ШТАТНОМ РЕЖИМЕ
ОБ ИЗМЕНЕНИЯХ В ГРАФИКЕ РАБОТЫ ЧИТАЙТЕ НА САЙТА




Выбрать другую модель

назад Раздел:   вперёд

вернуться к списку узлов и деталей

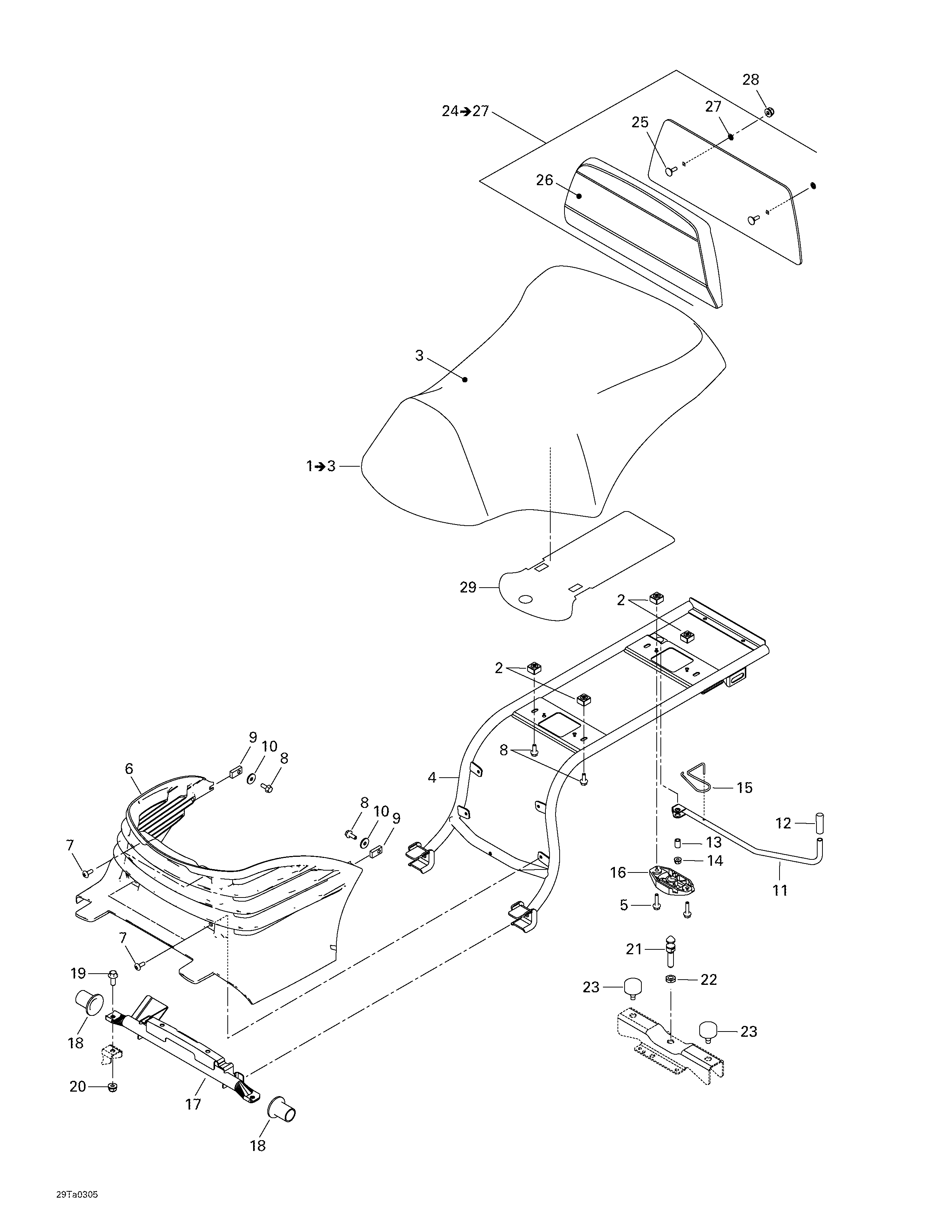
ДЕТАЛИРОВКА ДЛЯ МОДЕЛИ: BRP ATV Traxter XL, 7565, 2003

Раздел: Седло | Seat


BRP Traxter XL, 7565, 2003 раздел - Седло

Номер на
рисунке
АртикулНаименованиеКол-во
на складе
Цена
1 708000099

Седло-в сборе. Includes 1 - 3. (Seat-Assy. Includes 1 - 3.)

под заказпо запросу
2 708000046

Гайка Корпус Ass (Nut Housing Ass)

под заказ720 руб.
3 708000066

Крышка Седло (Cover Seat)

под заказ11170 руб.
4 708000069

Седло Sвышеport (чёрный) (Seat Support (Black))

под заказ18230 руб.
5 207662544

Hex. Фланецd Винт M6 x 25 (Hex. Flanged Screw M6 x 25)

под заказ290 руб.
5 420940568

(последний код) Hex. Фланецd Винт M6 x 25 (Hex. Flanged Screw M6 x 25)

под заказ230 руб.
6 705000187

Крышка двигателя (капот) (Engine Cover)

под заказ12010 руб.
6 708000276

(последний код) Крышка двигателя (капот) (Engine Cover)

под заказ15350 руб.
7 210261080

Винт-дляming Hex. M6 x 10 (Screw-Forming Hex. M6 x 10)

под заказ250 руб.
8 207661644

Hex. Фланецd Винт M6 x 16 (Hex. Flanged Screw M6 x 16)

под заказ280 руб.
9 708000042

Гайка Корпус (Nut Housing)

под заказ1060 руб.
10 224061201

плоский Шайба (Flat Washer)

под заказ290 руб.
10 224061200

(последний код) плоский Шайба (Flat Washer)

под заказ230 руб.
11 708000074

Рычаг- (чёрный) (Lever-(Black))

под заказ2740 руб.
12 708000087

Vinyl Колпачок (чёрный) (Vinyl Cap (Black))

под заказ550 руб.
13 708000084

Гильза (Sleeve)

под заказ680 руб.
13 293900078

(последний код) Гильза (Sleeve)

под заказ840 руб.
14 233261414

Elastic Фланецd Гайка M6 (Elastic Flanged Nut M6)

под заказ290 руб.
14 M33200

(последний код)

под заказпо запросу
15 708000073

Пружина (Spring)

под заказ1250 руб.
16 708000034

Latch Основание (Latch Base)

под заказ1860 руб.
17 708000044

Седло Стержень (чёрный) (Seat Pivot(Black))

под заказ6430 руб.
17 708000021

(последний код) Седло Стержень (чёрный) (Seat Pivot(Black))

под заказ5030 руб.
18 708000019

Седло Втулка (Seat Bushing)

под заказ920 руб.
19 207682044

Hex. Фланецd Винт M8 x 20 (Hex. Flanged Screw M8 x 20)

под заказ290 руб.
19 732601285

(последний код) Hex. Фланецd Винт M8 x 20 (Hex. Flanged Screw M8 x 20)

под заказ230 руб.
20 233281414

Elastic Фланецd Гайка M8 (Elastic Flanged Nut M8)

под заказ290 руб.
20 M33201

(последний код)

под заказпо запросу
21 291000945

Latch Шпилька (Latch Stud)

под заказ3160 руб.
22 232100600

Hex. Jam Гайка M10 (Hex. Jam Nut M10)

под заказ290 руб.
22 218300600

(последний код) Hex. Jam Гайка M10 (Hex. Jam Nut M10)

под заказ230 руб.
23 708000006

Резиновый стопор (Rubber Stopper)

под заказ790 руб.
24 708000079

Backrest-в сборе. Includes 24 - 27. (Backrest-Assy. Includes 24 - 27.)

под заказ12700 руб.
25 207763060

Carriage Болт M6 x 30 (Carriage Bolt M6 x 30)

под заказ490 руб.
26 708000078

Backrest Крышка (Backrest Cover)

под заказ9930 руб.
26 708000079

(последний код) Backrest Крышка (Backrest Cover)

под заказ12700 руб.
27 250100020

Locking Гайка (Locking Nut)

под заказ250 руб.
28 233261414

Elastic Фланецd Гайка M6 (Elastic Flanged Nut M6)

под заказ290 руб.
28 M33200

(последний код)

под заказпо запросу
29 708000029

Reflective Sheet (Reflective Sheet)

под заказ1140 руб.
29 708000160

(последний код) Reflective Sheet (Reflective Sheet)

под заказ1460 руб.
brp atv

Время выполнения запроса 2.5605628490448 сек.


 
 

данный сайт носит информационный характер и не является публичной офертой

склад запчастей для водомоторной техники