вконтакте

Контактный телефон: +7 (981) 121-46-93, +7 (800) 200-90-76 , Email: parts-katalog@yandex.ru, где купить

 
 

  Логин:

Пароль:

Регистрация

www.partskatalog.ru Все каталоги Запчасти Mercury Запчасти Suzuki Запчасти Tohatsu Запчасти Honda Контакты



УВАЖАЕМЫЕ КЛИЕНТЫ!
C 19 ДЕКАБРЯ 2025 ПО 02 МАРТА 2026 ГОДА ОТДЕЛ ЗАПЧАСТЕЙ И СЕРВИС РАБОТАТЬ НЕ БУДУТ
ПРОДАЖА ЛОДОЧНЫХ МОТОРОВ В ШТАТНОМ РЕЖИМЕ
ОБ ИЗМЕНЕНИЯХ В ГРАФИКЕ РАБОТЫ ЧИТАЙТЕ НА САЙТА




Вернуться к началу выбора


Мощность Вашего двигателя: 115 л.с.

Год выпуска: 2014 год

Тип двигателя: 1041

Модификация двигателя: Evinrude E115DHXABA

   Выберите раздел

найти расходники на лодочные моторы Evinrude


Выберите раздел

00_Запчасти в коробках, поставляемые с двигателем (00_in-box Parts Shipped With Engine)

00_Запчасти в коробках, поставляемые с двигателем (00_in-box Parts Shipped With Engine)

00_Литература (00_literature)

00_Литература (00_literature)

00_Краска (00_paint)

00_Краска (00_paint)

00_Чертежи профиля (00_profile Drawing)

00_Чертежи профиля (00_profile Drawing)

01-2_Крышка двигателя (капот) (01-2_engine Cover)

01-2_Крышка двигателя (капот) (01-2_engine Cover)

01-3_Нижняя крышка двигателя (01-3_lower Engine Cover)

01-3_Нижняя крышка двигателя (01-3_lower Engine Cover)

01-4_air Глушитель (01-4_air Silencer)

01-4_air Глушитель (01-4_air Silencer)

01-1_Наклейки - белый (01-1_decals - White)

01-1_Наклейки - белый (01-1_decals - White)

02-0_Электрика - жгут проводов (02-0_electrical Harness)

02-0_Электрика - жгут проводов (02-0_electrical Harness)

02-1_Электростартер (02-1_electric Starter)

02-1_Электростартер (02-1_electric Starter)

02-2_Компоненты электрики (02-2_electrical Components)

02-2_Компоненты электрики (02-2_electrical Components)

02-3_Маховик & Статор (02-3_flywheel & Stator)

02-3_Маховик & Статор (02-3_flywheel & Stator)

02-4_Датчики (02-4_sensors)

02-4_Датчики (02-4_sensors)

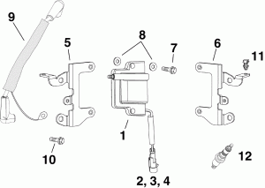
02-5_Катушка зажиганияs (02-5_ignition Coils)

02-5_Катушка зажиганияs (02-5_ignition Coils)

03-1_Топливный фильтр (03-1_fuel Filter)

03-1_Топливный фильтр (03-1_fuel Filter)

03-2_Лифтовый топливный насос (03-2_fuel Lift Pump)

03-2_Лифтовый топливный насос (03-2_fuel Lift Pump)

03-3_Топливный насос & Пароотделитель (03-3_fuel Pump & Vapor Separator)

03-3_Топливный насос & Пароотделитель (03-3_fuel Pump & Vapor Separator)

03-4_Топливная магистральs (03-4_fuel Rails)

03-4_Топливная магистральs (03-4_fuel Rails)

03-5_Топливный инжектор (03-5_fuel Injector)

03-5_Топливный инжектор (03-5_fuel Injector)

03-6_Масляный насос (03-6_oil Pump)

03-6_Масляный насос (03-6_oil Pump)

03-7_oil Tags & Наклейки (03-7_oil Tags & Labels)

03-7_oil Tags & Наклейки (03-7_oil Tags & Labels)

04-0_Соединитель дросселяage (04-0_throttle Linkage)

04-0_Соединитель дросселяage (04-0_throttle Linkage)

04-1_Переключатель сцепления (04-1_shift Linkage)

04-1_Переключатель сцепления (04-1_shift Linkage)

05-1_Впускной коллектор в сборе (05-1_intake Manifold Assembly)

05-1_Впускной коллектор в сборе (05-1_intake Manifold Assembly)

05-2_Коленвал & Поршни (05-2_crankshaft & Pistons)

05-2_Коленвал & Поршни (05-2_crankshaft & Pistons)

05-3_Цилиндр & Картер двигателя (05-3_cylinder & Crankcase)

05-3_Цилиндр & Картер двигателя (05-3_cylinder & Crankcase)

05-5_Cистема рециркуляции масла (05-5_oil Recirculation System)

05-5_Cистема рециркуляции масла (05-5_oil Recirculation System)

05-6_Клапан сброса давления воды (05-6_water Pressure Relief Valve)

05-6_Клапан сброса давления воды (05-6_water Pressure Relief Valve)

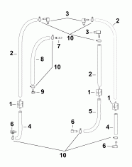
05-7_Шланги охлаждения (05-7_cooling Hoses)

05-7_Шланги охлаждения (05-7_cooling Hoses)

05-8_Прокладка & Комплект сальников (05-8_gasket & Seal Kit)

05-8_Прокладка & Комплект сальников (05-8_gasket & Seal Kit)

06-0_верхний  Двигатель Креплениеs (06-0_upper Engine Mounts)

06-0_верхний Двигатель Креплениеs (06-0_upper Engine Mounts)

06-1_Удлинитель корпуса (06-1_exhaust Housing)

06-1_Удлинитель корпуса (06-1_exhaust Housing)

06-2_muffler (06-2_muffler)

06-2_muffler (06-2_muffler)

06-3_Поворотный кронштейн (06-3_swivel Bracket)

06-3_Поворотный кронштейн (06-3_swivel Bracket)

07-0_Спидометр Шланг Assembly (07-0_speedometer Hose Assembly)

07-0_Спидометр Шланг Assembly (07-0_speedometer Hose Assembly)

07-2_Арматура гребного винта 75 - 130 Hp Models (07-2_propeller Hardware 75 - 130 Hp Models)

07-2_Арматура гребного винта 75 - 130 Hp Models (07-2_propeller Hardware 75 - 130 Hp Models)

07-1_Редуктор, O-type (07-1_gearcase, O-type)

07-1_Редуктор, O-type (07-1_gearcase, O-type)

08-1_trim & Tilt Hydraulic Assembly - All V6 & 25 дюйм V4 Models (08-1_trim & Tilt Hydraulic Assembly - All V6 & 25 In. V4 Models)

08-1_trim & Tilt Hydraulic Assembly - All V6 & 25 дюйм V4 Models (08-1_trim & Tilt Hydraulic Assembly - All V6 & 25 In. V4 Models)

evinrude

Время выполнения запроса 0.32284593582153 сек.


 
 

данный сайт носит информационный характер и не является публичной офертой

склад запчастей для водомоторной техники