вконтакте

Контактный телефон: +7 (981) 121-46-93, +7 (800) 200-90-76 , Email: parts-katalog@yandex.ru, где купить

 
 

  Логин:

Пароль:

Регистрация

www.partskatalog.ru Все каталоги Запчасти Mercury Запчасти Suzuki Запчасти Tohatsu Запчасти Honda Контакты



УВАЖАЕМЫЕ КЛИЕНТЫ!
C 19 ДЕКАБРЯ 2025 ПО 02 МАРТА 2026 ГОДА ОТДЕЛ ЗАПЧАСТЕЙ И СЕРВИС РАБОТАТЬ НЕ БУДУТ
ПРОДАЖА ЛОДОЧНЫХ МОТОРОВ В ШТАТНОМ РЕЖИМЕ
ОБ ИЗМЕНЕНИЯХ В ГРАФИКЕ РАБОТЫ ЧИТАЙТЕ НА САЙТА




Вернуться к началу выбора


Мощность Вашего двигателя: 40 л.с.

Год выпуска: 2005 год

Тип двигателя: 1222

Модификация двигателя: Evinrude E40DELSOR

   Выберите раздел

найти расходники на лодочные моторы Evinrude


Выберите раздел

Aluminum Гребной винтs & Hardware 40-140hp (large Hub Редуктор) 2 Stroke (Aluminum Propellers & Hardware 40-140hp (large Hub Gearcase) 2 Stroke)

Aluminum Гребной винтs & Hardware 40-140hp (large Hub Редуктор) 2 Stroke (Aluminum Propellers & Hardware 40-140hp (large Hub Gearcase) 2 Stroke)

Шланги охлаждения (Cooling Hoses)

Шланги охлаждения (Cooling Hoses)

Коленвал & Поршни (Crankshaft & Pistons)

Коленвал & Поршни (Crankshaft & Pistons)

Головка блока цилиндра & Термостат (Cylinder Head & Thermostat)

Головка блока цилиндра & Термостат (Cylinder Head & Thermostat)

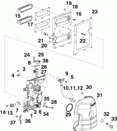
Цилиндр / Картер двигателя (Cylinder/crankcase)

Цилиндр / Картер двигателя (Cylinder/crankcase)

Цилиндр / Картер двигателя Fittings & Oil Recirculation Шлангs (Cylinder/crankcase Fittings & Oil Recirculation Hoses)

Цилиндр / Картер двигателя Fittings & Oil Recirculation Шлангs (Cylinder/crankcase Fittings & Oil Recirculation Hoses)

Наклейки (Decals)

Наклейки (Decals)

Electric Start Kit (Electric Start Kit)

Electric Start Kit (Electric Start Kit)

Emm, Статор, Маховик (Emm, Stator, Flywheel)

Emm, Статор, Маховик (Emm, Stator, Flywheel)

Двигатель Электрика - жгут проводов (Engine Electrical Harness)

Двигатель Электрика - жгут проводов (Engine Electrical Harness)

Крышка двигателя (капот) (Engine Cover)

Крышка двигателя (капот) (Engine Cover)

Выхлоп Adapter & Внутренности машинки газ-реверс (Exhaust Adapter & Inner Housing)

Выхлоп Adapter & Внутренности машинки газ-реверс (Exhaust Adapter & Inner Housing)

Удлинитель корпуса (Exhaust Housing)

Удлинитель корпуса (Exhaust Housing)

Топливный инжектор & Катушка зажигания (Fuel Injector & Ignition Coil)

Топливный инжектор & Катушка зажигания (Fuel Injector & Ignition Coil)

Лифтовый топливный насос (Fuel Lift Pump)

Лифтовый топливный насос (Fuel Lift Pump)

Отделитель паров топлива & Помпа (Fuel Vapor Separator & Pump)

Отделитель паров топлива & Помпа (Fuel Vapor Separator & Pump)

Комплект прокладок (Gasket Kit)

Комплект прокладок (Gasket Kit)

Редуктор (Gearcase)

Редуктор (Gearcase)

Литература (Literature)

Литература (Literature)

Нижняя крышка двигателя (Lower Engine Cover)

Нижняя крышка двигателя (Lower Engine Cover)

Масляный бак & Помпа (Oil Tank & Pump)

Масляный бак & Помпа (Oil Tank & Pump)

Краска (Paint)

Краска (Paint)

Stainless Steel 3 Blade Гребной винтs & Hardware 40-140hp (large Hub Редуктор) 2 Stroke (Stainless Steel 3 Blade Propellers & Hardware 40-140hp (large Hub Gearcase) 2 Stroke)

Stainless Steel 3 Blade Гребной винтs & Hardware 40-140hp (large Hub Редуктор) 2 Stroke (Stainless Steel 3 Blade Propellers & Hardware 40-140hp (large Hub Gearcase) 2 Stroke)

Стартер & Solenoid (de & Dp Models) (Starter & Solenoid (de & Dp Models))

Стартер & Solenoid (de & Dp Models) (Starter & Solenoid (de & Dp Models))

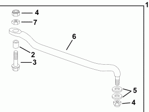
Рулевая система Рычаг (Steering Arm)

Рулевая система Рычаг (Steering Arm)

Рулевая система Коннектор Kit (Steering Connector Kit)

Рулевая система Коннектор Kit (Steering Connector Kit)

Поворотный кронштейн (dr, De, W Models) (Swivel Bracket (dr, De, W Models))

Поворотный кронштейн (dr, De, W Models) (Swivel Bracket (dr, De, W Models))

Дроссель & Переключатель сцепления (Throttle & Shift Linkage)

Дроссель & Переключатель сцепления (Throttle & Shift Linkage)

Дроссель газа & Впускной коллектор (Throttle Body & Intake Manifold)

Дроссель газа & Впускной коллектор (Throttle Body & Intake Manifold)

Tiller вышеgrade Systemcheck Жгут проводов Kit (Tiller Upgrade Systemcheck Harness Kit)

Tiller вышеgrade Systemcheck Жгут проводов Kit (Tiller Upgrade Systemcheck Harness Kit)

Tiller вышеgrade Kit (Tiller Upgrade Kit)

Tiller вышеgrade Kit (Tiller Upgrade Kit)

Trim & Tilt Hydraulic Assembly (Trim & Tilt Hydraulic Assembly)

Trim & Tilt Hydraulic Assembly (Trim & Tilt Hydraulic Assembly)

Trim & Tilt Реле (Trim & Tilt Relay)

Trim & Tilt Реле (Trim & Tilt Relay)

evinrude

Время выполнения запроса 0.33996796607971 сек.


 
 

данный сайт носит информационный характер и не является публичной офертой

склад запчастей для водомоторной техники