вконтакте

Контактный телефон: +7 (981) 121-46-93, +7 (800) 200-90-76 , Email: parts-katalog@yandex.ru, где купить

 
 

  Логин:

Пароль:

Регистрация

www.partskatalog.ru Все каталоги Запчасти Mercury Запчасти Suzuki Запчасти Tohatsu Запчасти Honda Контакты


Все разделы каталога запчастей на этот двигатель

назад Раздел:   вперёд

вернуться к списку узлов и деталей

ДЕТАЛИРОВКА ДЛЯ МОДЕЛИ: EVINRUDE E130DSLAFA

05-5 CИСТЕМА РЕЦИРКУЛЯЦИИ МАСЛА | 05-5 OIL RECIRCULATION SYSTEM;


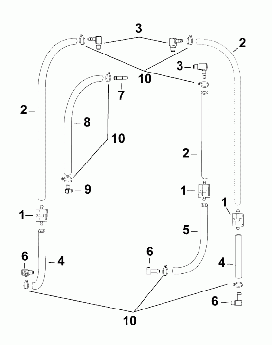
Лодочный подвесной мотор EVINRUDE E130DSLAFA  - oil Recirculation System

Номер на
рисунке
АртикулНаименованиеКол-во
на складе
Цена
1 0348478

Обратный клапан (CHECK VALVE)

нет в наличии, поставок нет
2 0778708

Шланг от контрольного клапана к верхнему фиттингу. сокращёная длина 0.093 дюйм (2.3 мм) диаметр шланга – 25 фут (7.62 m) (HOSE, Check valve to upper fitting. Cut to length. 0.093 in. (2.3 mm) diameter Bulk Hose – 25 ft. (7.62 m))

нет в наличии, поставок нет
2 0776892

   (последний код) HOSE

нет в наличии, поставок нет
3 0346137

Верхний фиттинг (FITTING, Upper)

нет в наличии, поставок нет
4 0772571

Шланг от контрольного клапана к нижнему фиттингу. сокращёная длина 5 / 32 дюйм (3.96 мм) диаметр шланга – 25 фут (7.62 m) (HOSE, Check valve to lower fitting. Cut to length. 5/32 in. (3.96 mm) diameter Bulk Hose – 25 ft. (7.62 m))

нет в наличии, поставок нет
4 0348562

   (последний код) HOSE

нет в наличии, поставок нет
5 0772571

Шланг от контрольного клапана к нижнему фиттингу. сокращёная длина 5 / 32 дюйм (3.96 мм) диаметр шланга – 25 фут (7.62 m) (HOSE, Check valve to lower fitting. Cut to length. 5/32 in. (3.96 mm) diameter Bulk Hose – 25 ft. (7.62 m))

нет в наличии, поставок нет
5 0348562

   (последний код) HOSE

нет в наличии, поставок нет
6 0348471

Нижний фиттинг (FITTING, Lower)

нет в наличии, поставок нет
7 0314513

Ниппель циркуляции масла (верхний правый) (NIPPLE, Oil circulation-upper starboard)

нет в наличии, поставок нет
8 0772571

Шланг от тростевой пластины к картеру двигателя. сокращёная длина 5 / 32 дюйм (3.96 мм) диаметр шланга – 25 фут (7.62 m) (HOSE, Reed plate to crankcase. Cut to length. 5/32 in. (3.96 mm) diameter Bulk Hose – 25 ft. (7.62 m))

нет в наличии, поставок нет
8 0348562

   (последний код) HOSE

нет в наличии, поставок нет
9 0437784

Фиттинг тростевой пластины (FITTING, Reed plate)

нет в наличии, поставок нет
10 0317893

Крепёжный хомут (TIE STRAP)

нет в наличии, поставок нет
10 3852149

   (последний код) TIE-STRAP

нет в наличии, поставок нет
evinrude

Время выполнения запроса 0.52503490447998 сек.


 
 

данный сайт носит информационный характер и не является публичной офертой

склад запчастей для водомоторной техники