вконтакте

Контактный телефон: +7 (981) 121-46-93, +7 (800) 200-90-76 , Email: parts-katalog@yandex.ru, где купить

 
 

  Логин:

Пароль:

Регистрация

www.partskatalog.ru Все каталоги Запчасти Mercury Запчасти Suzuki Запчасти Tohatsu Запчасти Honda Контакты



УВАЖАЕМЫЕ КЛИЕНТЫ!
C 31 ОКТЯБРЯ 2025 ПО 10 НОЯБРЯ 2025 ГОДА РАБОТАТЬ НЕ БУДЕМ




Все разделы каталога запчастей на этот двигатель

назад Раздел:   вперёд

вернуться к списку узлов и деталей

ДЕТАЛИРОВКА ДЛЯ МОДЕЛИ: EVINRUDE B15RGL4ABB

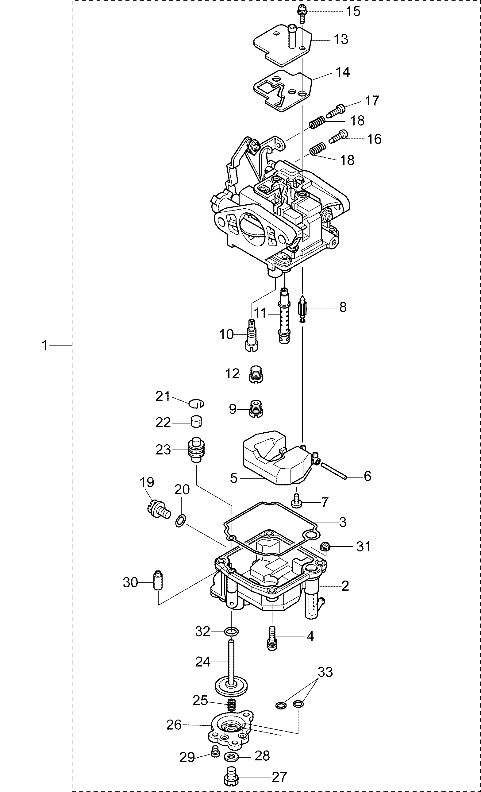
13-3 КАРБЮРАТОР В СБОРЕ | 13-3 CARBURETOR ASSEMBLY;


Подвесной мотор Evinrude B15RGL4ABB  - carburetor Assembly - Карбюратор в сборе

Номер на
рисунке
АртикулНаименованиеКол-во
на складе
Цена
1 5040597

Карбюратор в сборе. R, TE (CARBURETOR ASSEMBLY. R, TE)

нет в наличии, поставок нет
1 5040598

Карбюратор в сборе. PL (CARBURETOR ASSEMBLY. PL)

нет в наличии, поставок нет
2 5040566

* Поплавковая камера ( FLOAT CHAMBER)

нет в наличии, поставок нет
3 5040567

* Прокладка поплавковой камеры ( FLOAT CHAMBER GASKET)

нет в наличии, поставок нет
4 5041641

* Винт ( SCREW)

нет в наличии, поставок нет
5 5040766

* Поплавок ( FLOAT)

нет в наличии, поставок нет
6 5040767

* Стопор рычага поплавка ( FLOAT ARM PIN)

нет в наличии, поставок нет
7 5041603

* Винт ( SCREW)

нет в наличии, поставок нет
8 5041283

* Клапан поплавка ( FLOAT VALVE)

нет в наличии, поставок нет
9 5040600

* Главный жиклёр (#99) ( MAIN JET (#99))

нет в наличии, поставок нет
10 5040601

* Медленный жиклер (#46) ( SLOW JET (#46))

нет в наличии, поставок нет
11 5040599

* Главная форсунка ( MAIN NOZZLE)

нет в наличии, поставок нет
12 5041279

* Уплотнительное кольцо ( O-RING)

нет в наличии, поставок нет
13 5040629

* Кожух карбюратора ( CARBURETOR COVER)

нет в наличии, поставок нет
14 5040630

* Прокладка кожуха карбюратора ( CARBURETOR COVER GASKET)

нет в наличии, поставок нет
15 5041642

* Винт ( SCREW)

нет в наличии, поставок нет
16 5041437

* Стопорный винт L=18 ( STOP SCREW L=18)

нет в наличии, поставок нет
17 5040628

* Стопорный винт. R, TE ( STOP SCREW. R, TE)

нет в наличии, поставок нет
18 5041435

* Пружина L=14. R, TE ( SPRING L=14. R, TE)

нет в наличии, поставок нет
19 5040631

* Дренажный винт ( DRAIN SCREW)

нет в наличии, поставок нет
20 5040632

* Прокладка дренажного винта ( GASKET DRAIN SCREW)

нет в наличии, поставок нет
21 5040294

* Стопорное кольцо ( RETAINING RING)

нет в наличии, поставок нет
22 5040295

* Колпачок ( CAP)

нет в наличии, поставок нет
23 5040298

* Резиновый пыльник ( RUBBER BOOT)

нет в наличии, поставок нет
24 5040637

* Плунжер ( PLUNGER COMPLETE)

нет в наличии, поставок нет
25 5040636

* Спиральная пружина ( COIL SPRING)

нет в наличии, поставок нет
26 5040633

* Крышка диафрагмы ( DIAPHRAGM COVER)

нет в наличии, поставок нет
27 5040296

* Дренажный винт ( DRAIN SCREW)

нет в наличии, поставок нет
28 5040297

* Прокладка дренажного винта ( GASKET DRAIN SCREW)

нет в наличии, поставок нет
29 5041604

* Винт ( SCREW)

нет в наличии, поставок нет
30 5040634

* Обратный клапан ( CHECK VALVE)

нет в наличии, поставок нет
31 5040624

* Фильтр ( FILTER)

нет в наличии, поставок нет
32 5041075

* Уплотнительное кольцо 1.5-10.7 ( O-RING 1.5-10.7)

нет в наличии, поставок нет
33 5040635

* Уплотнительное кольцо ( O-RING)

нет в наличии, поставок нет
NS 5040724

Ремкомплект карбюратора (CARBURETOR REPAIR KIT)

нет в наличии, поставок нет
NS 5040603

Комплект для регулировки высоты (ALTITUDE ADJUSTMENT KIT)

нет в наличии, поставок нет
evinrude

Время выполнения запроса 1.7905828952789 сек.


 
 

данный сайт носит информационный характер и не является публичной офертой

склад запчастей для водомоторной техники