| |
Все разделы каталога запчастей на этот двигатель
вернуться к списку узлов и деталей ДЕТАЛИРОВКА ДЛЯ МОДЕЛИ: EVINRUDE E25DPSLINC
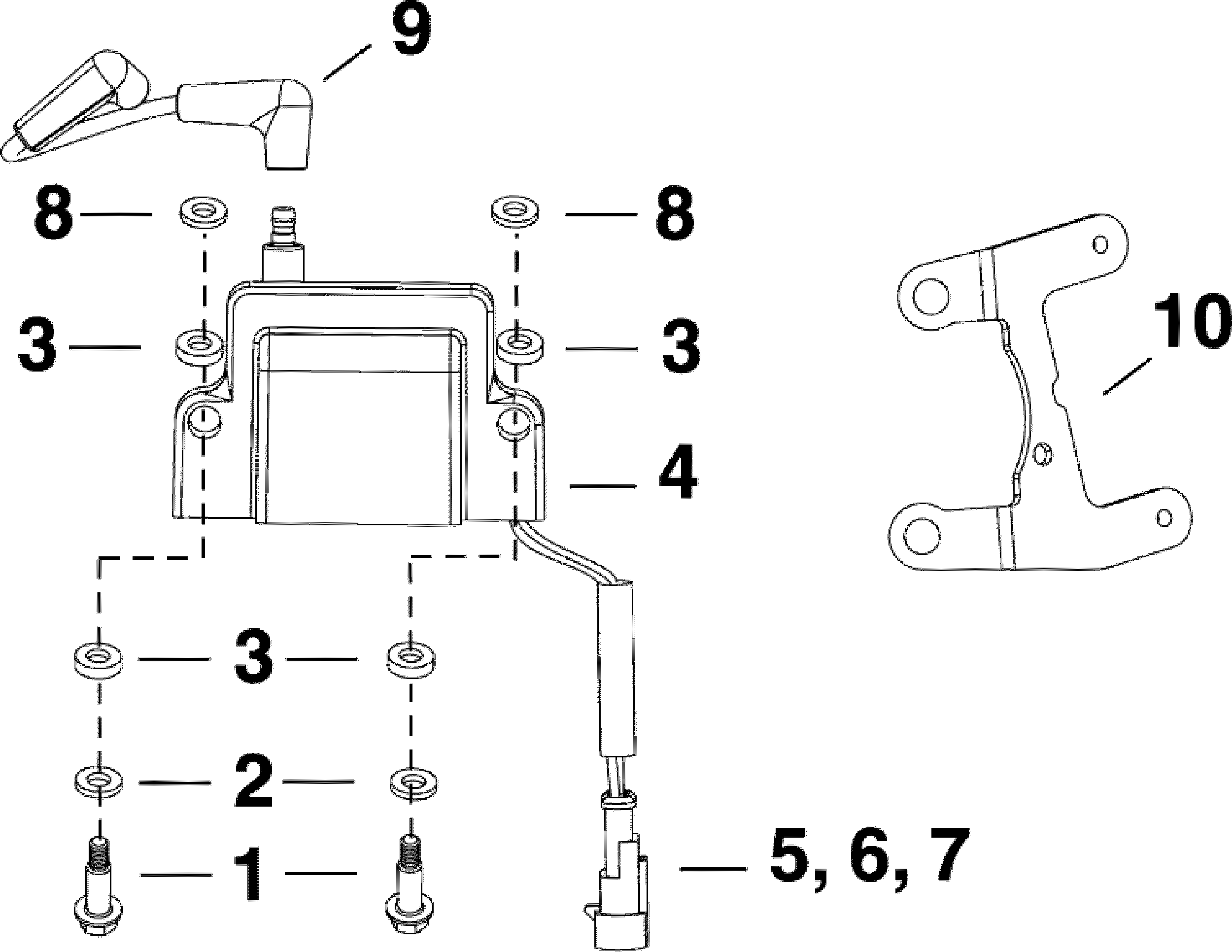
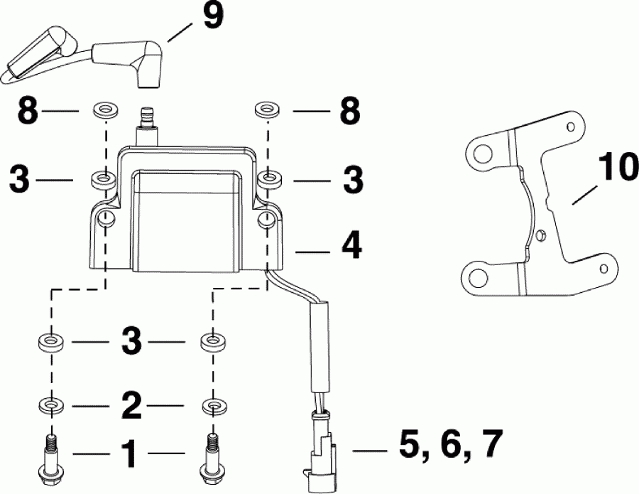
КАТУШКА ЗАЖИГАНИЯ | IGNITION COIL;
Номер на рисунке | Артикул | Наименование | Кол-во на складе | Цена |
| 1 | 0353975 | Винт, Shoulder - Катушка зажигания (SCREW, Shoulder - ignition coil) | нет в наличии, поставок нет |
| 2 | 0353735 | Шайба, Shoulder Винт (WASHER, Shoulder screw) | 1 шт | 170 руб. |
| 3 | 0353540 | Шайба, Rubber - Катушка зажигания (WASHER, Rubber - ignition coil) | нет в наличии, поставок нет |
| 4 | 0586980 | Катушка зажигания (IGNITION COIL) | нет в наличии, поставок нет |
| 4 | 0587275 | (последний код) COIL AY,IGNITION | нет в наличии, поставок нет |
| 6 | 3011148 | *Клемма, Штифт (TERMINAL, Pin) | нет в наличии, поставок нет |
| 5 | 3011149 | *Сальник, Lead (SEAL, Lead) | нет в наличии, поставок нет |
| 7 | 3011156 | *Коннектор, 3 Штифт Клемма (CONNECTOR, 3 Pin terminal) | нет в наличии, поставок нет |
| 8 | 0353761 | Шайба, Катушка зажигания Винт (WASHER, Ignition coil screw) | нет в наличии, поставок нет |
| 9 | 5007988 | HIGH TENSION LEAD в сборе (HIGH TENSION LEAD Assy) | нет в наличии, поставок нет |
| 10 | 0354435 | Нижний кронштейн крепления катушки зажигания (BRACKET, Ign coil mounting, lower) | нет в наличии, поставок нет |
| NS | 0320107 | Крепёжный хомут, Коннектор to Кронштейн (TIE STRAP, Connector to bracket) | нет в наличии, поставок нет |
| NS | 5035626 | (последний код) BAND,REM CON | нет в наличии, поставок нет |
| NS | 3011292 | Содинение коннектора и кронштейна (CLIP, Connector to bracket) | нет в наличии, поставок нет |

Время выполнения запроса 0.77582192420959 сек.
|
|