|
Все разделы каталога запчастей на этот двигатель
вернуться к списку узлов и деталей ДЕТАЛИРОВКА ДЛЯ МОДЕЛИ: EVINRUDE E225FHXSOC
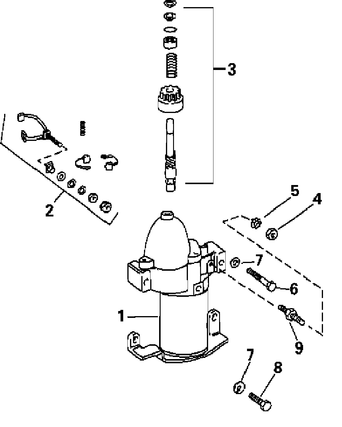
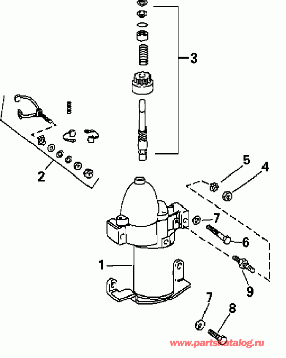
ДВИГАТЕЛЬ СТАРТЕРА | STARTER MOTOR;
Номер на рисунке | Артикул | Наименование | Кол-во на складе | Цена |
1 | 0586731 | Двигатель стартера ASSEMBLY (STARTER MOTOR ASSEMBLY) | нет в наличии, поставок нет |
1 | 0586890 | (последний код) MOTOR AY,STARTER | 1 шт | 47900 руб. |
2 | 0433850 | *Щётка & Пружина SET (BRUSH & SPRING SET) | 2 шт | 3900 руб. |
2 | 0397373 | (последний код) BRUSH&SPRING SET | 2 шт | 2990 руб. |
3 | 5000369 | *KIT, Drive & Вал (KIT, Drive & shaft) | нет в наличии, поставок нет |
4 | 0328740 | Гайка, Заземление (NUT, Ground) | нет в наличии, поставок нет |
4 | 0306375 | (последний код) NUT | нет в наличии, поставок нет |
5 | 0302290 | Шайба с блокировкой, Провод заземленияs (LOCK WASHER, Ground wires) | нет в наличии, поставок нет |
5 | 0338307 | (последний код) WASHER,LOCK | нет в наличии, поставок нет |
6 | 0331644 | Винт, Стартер, Креплениеing (SCREW, Starter, mounting) | нет в наличии, поставок нет |
6 | 0326697 | (последний код) SCREW | нет в наличии, поставок нет |
7 | 0309543 | Шайба с блокировкой, Sвышеport Кронштейн (LOCK WASHER, Support bracket) | нет в наличии, поставок нет |
8 | 0552940 | Винт, Sвышеport Кронштейн (SCREW, Support bracket) | нет в наличии, поставок нет |
8 | 0313699 | (последний код) SCREW | нет в наличии, поставок нет |
9 | 0330143 | Болт, Double end (BOLT, Double end) | нет в наличии, поставок нет |
9 | 0311328 | (последний код) BOLT | нет в наличии, поставок нет |

Время выполнения запроса 0.71316599845886 сек.
|
|