вконтакте

Контактный телефон: +7 (981) 121-46-93, +7 (800) 200-90-76 , Email: parts-katalog@yandex.ru, где купить

 
 

  Логин:

Пароль:

Регистрация

www.partskatalog.ru Все каталоги Запчасти Mercury Запчасти Suzuki Запчасти Tohatsu Запчасти Honda Контакты


Все разделы каталога запчастей на этот двигатель

назад Раздел:   вперёд

вернуться к списку узлов и деталей

ДЕТАЛИРОВКА ДЛЯ МОДЕЛИ: EVINRUDE E225FPLSRB

УДЛИНИТЕЛЬ КАБЕЛИ | EXTENSION CABLE;


Подвесной мотор Эвинруд E225FPLSRB  - tension Cable - tension Кабели

Номер на
рисунке
АртикулНаименованиеКол-во
на складе
Цена
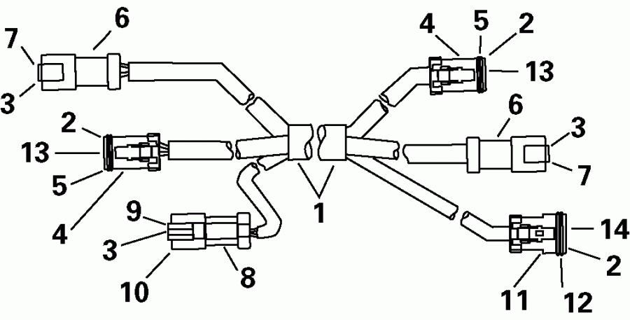
1 0176334

Удлинитель Жгут проводов, 10 фут (3m) (EXTENSION HARNESS, 10 ft. (3m))

нет в наличии, поставок нет
2 0514680

*Клемма, Socket (TERMINAL, Socket)

нет в наличии, поставок нет
3 0514679

*Клемма, Штифт (TERMINAL, Pin)

нет в наличии, поставок нет
4 0514687

*Коннектор, 6 socket (CONNECTOR, 6 socket)

нет в наличии, поставок нет
5 0514790

**Сальник, 6 socket (SEAL, 6 socket)

нет в наличии, поставок нет
6 0514688

*Коннектор, 6 Штифт (CONNECTOR, 6 pin)

нет в наличии, поставок нет
7 0514684

*LOCK WEDGE, 6 Штифт (LOCK WEDGE, 6 pin)

нет в наличии, поставок нет
8 0514685

Коннектор, 3 socket (CONNECTOR, 3 socket)

нет в наличии, поставок нет
9 0514789

**Сальник, 3 socket (SEAL, 3 socket)

нет в наличии, поставок нет
10 0514682

*LOCK WEDGE, 3 Штифт (LOCK WEDGE, 3 pin)

нет в наличии, поставок нет
11 0514686

*Коннектор, 3 socket (CONNECTOR, 3 socket)

нет в наличии, поставок нет
12 0514789

*Сальник, 3 socket (SEAL, 3 socket)

нет в наличии, поставок нет
13 0514683

*LOCK WEDGE, 6 socket (LOCK WEDGE, 6 socket)

нет в наличии, поставок нет
14 0514681

*LOCK WEDGE, 3 socket (LOCK WEDGE, 3 socket)

нет в наличии, поставок нет
evinrude

Время выполнения запроса 0.38614916801453 сек.


 
 

данный сайт носит информационный характер и не является публичной офертой

склад запчастей для водомоторной техники