вконтакте

Контактный телефон: +7 (981) 121-46-93, +7 (800) 200-90-76 , Email: parts-katalog@yandex.ru, где купить

 
 

  Логин:

Пароль:

Регистрация

www.partskatalog.ru Все каталоги Запчасти Mercury Запчасти Suzuki Запчасти Tohatsu Запчасти Honda Контакты


Все разделы каталога запчастей на этот двигатель

назад Раздел:   вперёд

вернуться к списку узлов и деталей

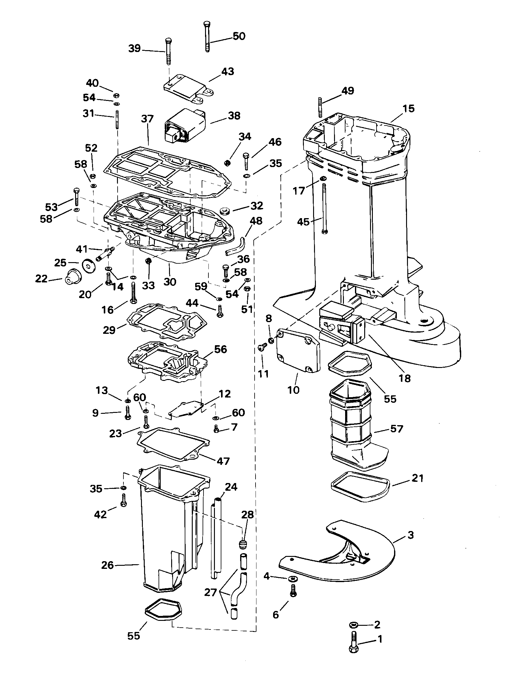
ДЕТАЛИРОВКА ДЛЯ МОДЕЛИ: EVINRUDE E200WPXSSC Commercial, Elec Start, TNT,

УДЛИНИТЕЛЬ КОРПУСА | EXHAUST HOUSING;


Мотор Эвинруд E200WPXSSC Commercial, Elec Start, TNT,   - haust Housing / haust Корпус

Номер на
рисунке
АртикулНаименованиеКол-во
на складе
Цена
1 0910736

Винт, Пластина & deflector (SCREW, Plate & deflector)

нет в наличии, поставок нет
2 0301250

Шайба, Spray deflector (WASHER, Spray deflector)

нет в наличии, поставок нет
2 0911009

   (последний код) WASHER

нет в наличии, поставок нет
3 0345776

SPRAY DEFLECTOR (SPRAY DEFLECTOR)

нет в наличии, поставок нет
3 0913262

   (последний код) SPRAY-DEFLECTOR

нет в наличии, поставок нет
4 0911201

Шайба, Spray Пластина (WASHER, Spray plate)

нет в наличии, поставок нет
6 0910741

Винт, Spray Пластина (SCREW, Spray plate)

нет в наличии, поставок нет
6 0313023

   (последний код) SCREW

нет в наличии, поставок нет
7 0124341

Винт, Крышка, short (SCREW, Cover, short)

нет в наличии, поставок нет
7 0338305

   (последний код) SCREW

нет в наличии, поставок нет
8 0301250

Шайба, Винт, Крепление Крышка (WASHER, Screw, mount cover)

нет в наличии, поставок нет
8 0911009

   (последний код) WASHER

нет в наличии, поставок нет
9 0312978

Винт, Пластина to adapter (SCREW, Plate to adapter)

нет в наличии, поставок нет
9 0320289

   (последний код) SCREW

нет в наличии, поставок нет
10 0338741

Крышка, Монтажный кронштейн (левый)ower (COVER, Mount bracket lower)

нет в наличии, поставок нет
10 0337773

   (последний код) COVER,LOWER

нет в наличии, поставок нет
11 0341013

Винт, Крышка (SCREW, Cover)

нет в наличии, поставок нет
12 0333565

Крышка, Water Пластина (COVER, Water plate)

нет в наличии, поставок нет
13 0302290

LOCK Шайба пластины to adapter (LOCK WASHER, Plate to adapter)

нет в наличии, поставок нет
13 0338307

   (последний код) WASHER,LOCK

нет в наличии, поставок нет
14 0308688

Шайба, Цилиндр to adapter (WASHER, Cylinder to adapter)

нет в наличии, поставок нет
15 0435479

Удлинитель корпуса (EXHAUST HOUSING)

нет в наличии, поставок нет
16 0911042

Винт, Adapter to Цилиндр, long (SCREW, Adapter to cylinder, long)

нет в наличии, поставок нет
17 0308688

Шайба, Удлинитель корпуса (WASHER, Exhaust housing)

нет в наличии, поставок нет
18 0434629

RUBBER Крепление нижнее (RUBBER MOUNT, Lower)

нет в наличии, поставок нет
18 0391774

   (последний код) RUBBER MOUNT

нет в наличии, поставок нет
20 0309484

Винт, Цилиндр to adapter, short (SCREW, Cylinder to adapter, short)

нет в наличии, поставок нет
20 0959968

   (последний код) SCREW

нет в наличии, поставок нет
21 0320961

Сальник, Редуктор to Внутренности машинки газ-реверс (SEAL, Gearcase to inner housing)

нет в наличии, поставок нет
22 0328584

Крепление, Крышка двигателя (капот) (MOUNT, Engine cover)

нет в наличии, поставок нет
22 0349557

   (последний код) MOUNT

нет в наличии, поставок нет
23 0333165

Винт, Крышка, long (SCREW, Cover, long)

нет в наличии, поставок нет
23 0338306

   (последний код) SCREW

нет в наличии, поставок нет
24 0334118

Сальник, Выхлоп Передний корпус (SEAL, Exhaust housing, front)

нет в наличии, поставок нет
25 0329749

Шайба, Крепление (WASHER, Mount)

нет в наличии, поставок нет
25 0349556

   (последний код) WASHER

нет в наличии, поставок нет
26 0338597

Удлинитель корпуса, Inner, верхний (EXHAUST HOUSING, Inner, upper)

нет в наличии, поставок нет
27 0346898

Водяная трубка (WATER TUBE)

нет в наличии, поставок нет
27 0321015

   (последний код) WATER TUBE

нет в наличии, поставок нет
28 0305145

Пыльник водяной трубки (GROMMET, Water tube)

нет в наличии, поставок нет
29 0343809

Прокладка, Пластина to adapter (GASKET, Plate to adapter)

нет в наличии, поставок нет
29 0333566

   (последний код) GASKET

нет в наличии, поставок нет
30 0439918

ADAPTER, Удлинитель корпуса (ADAPTER, Exhaust housing)

нет в наличии, поставок нет
30 5001299

   (последний код) ADAPTOR & STUD AY

нет в наличии, поставок нет
31 0314616

*Шпилька, Adapter (STUD, Adapter)

нет в наличии, поставок нет
31 0324811

   (последний код) STUD-CYL

нет в наличии, поставок нет
32 0339717

*Сальник, Переключающая тяга (SEAL, Shift rod)

нет в наличии, поставок нет
33 0321164

*Заглушка (PLUG)

нет в наличии, поставок нет
33 0307544

   (последний код) PLUG

нет в наличии, поставок нет
34 0321164

*Заглушка, Emissions port (PLUG, Emissions port)

нет в наличии, поставок нет
34 0307544

   (последний код) PLUG

нет в наличии, поставок нет
35 0302290

Шайба с блокировкой (LOCK WASHER)

нет в наличии, поставок нет
35 0338307

   (последний код) WASHER,LOCK

нет в наличии, поставок нет
36 0341011

Винт, Adapter to Корпус, outer (SCREW, Adapter to housing, outer)

нет в наличии, поставок нет
37 0333879

Прокладка, Adapter to powerhead (GASKET, Adapter to powerhead)

нет в наличии, поставок нет
37 0331214

   (последний код) GASKET

нет в наличии, поставок нет
38 0432017

Монтажная резинка в сборе (RUBBER MOUNT ASSY)

нет в наличии, поставок нет
38 0396366

   (последний код) UPPER-MOUNT

нет в наличии, поставок нет
39 0330930

Винт, верхний Крепление (SCREW, Upper mount)

нет в наличии, поставок нет
39 0335021

   (последний код) SCREW 3/8-16

нет в наличии, поставок нет
40 0306422

Гайка, Картер двигателя to adapter (NUT, Crankcase to adapter)

нет в наличии, поставок нет
41 0329743

Шпилька, Крышка Крепление (STUD, Cover mount)

нет в наличии, поставок нет
42 0341010

Винт, Внутренности машинки газ-реверс to adapter (SCREW, Inner housing to adapter)

нет в наличии, поставок нет
43 0330929

Пластина верхней опоры (PLATE, Upper mount)

нет в наличии, поставок нет
44 0306503

Винт, Adapter to Картер двигателя (SCREW, Adapter to crankcase)

нет в наличии, поставок нет
44 0316533

   (последний код) SCREW

нет в наличии, поставок нет
45 0332128

Винт, Удлинитель корпуса (SCREW, Exhaust housing)

нет в наличии, поставок нет
46 0341010

Винт, Adapter to Внутренности машинки газ-реверс (SCREW, Adapter to inner housing)

нет в наличии, поставок нет
47 0334113

Прокладка, Inner Удлинитель корпуса to water Пластина (GASKET, Inner exhaust housing to water plate)

нет в наличии, поставок нет
48 0333434

Сальник, Крышка to adapter (SEAL, Cover to adapter)

нет в наличии, поставок нет
48 0328589

   (последний код) SEAL

нет в наличии, поставок нет
49 0316040

Шпилька, Удлинитель корпуса (STUD, Exhaust housing)

нет в наличии, поставок нет
49 3852141

   (последний код) STUD

нет в наличии, поставок нет
50 0330931

Винт, верхний Крепление (SCREW, Upper mount)

нет в наличии, поставок нет
50 0121250

   (последний код) SCREW

нет в наличии, поставок нет
51 0306422

Гайка, Powerhead to adapter (NUT, Powerhead to adapter)

нет в наличии, поставок нет
52 0328742

Гайка, Adapter to outer Корпус (NUT, Adapter to outer housing)

нет в наличии, поставок нет
52 0308133

   (последний код) NUT

нет в наличии, поставок нет
53 0341009

Винт, Adapter to outer Корпус (SCREW, Adapter to outer housing)

нет в наличии, поставок нет
54 0301250

Шайба, Картер двигателя to adapter (WASHER, Crankcase to adapter)

нет в наличии, поставок нет
54 0911009

   (последний код) WASHER

нет в наличии, поставок нет
55 0320936

Сальник, Удлинитель корпуса (SEAL, Exhaust housing)

нет в наличии, поставок нет
56 0347251

WATER Пластина (WATER PLATE)

нет в наличии, поставок нет
56 0338668

   (последний код) PLATE,W/PUMP

нет в наличии, поставок нет
57 0338664

Выхлоп HSG., Inner, нижний (EXHAUST HSG., Inner, lower)

нет в наличии, поставок нет
58 0329241

Шайба, Powerhead to adapter (WASHER, Powerhead to adapter)

нет в наличии, поставок нет
58 3852193

   (последний код) WASHER

нет в наличии, поставок нет
59 0308688

Шайба с блокировкой (LOCK WASHER)

нет в наличии, поставок нет
60 0302290

Шайба с блокировкой (LOCK WASHER)

нет в наличии, поставок нет
60 0338307

   (последний код) WASHER,LOCK

нет в наличии, поставок нет
evinrude

Время выполнения запроса 2.6528799533844 сек.


 
 

данный сайт носит информационный характер и не является публичной офертой

склад запчастей для водомоторной техники