вконтакте

Контактный телефон: +7 (981) 121-46-93, +7 (800) 200-90-76 , Email: parts-katalog@yandex.ru, где купить

 
 

  Логин:

Пароль:

Регистрация

www.partskatalog.ru Все каталоги Запчасти Mercury Запчасти Suzuki Запчасти Tohatsu Запчасти Honda Контакты


Все разделы каталога запчастей на этот двигатель

Раздел:   вперёд

вернуться к списку узлов и деталей

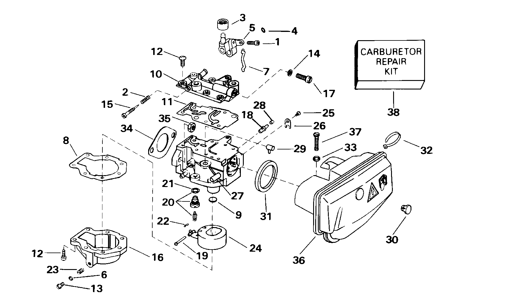
ДЕТАЛИРОВКА ДЛЯ МОДЕЛИ: EVINRUDE E15WRSSC Commercial, Rope Start, Tiller,

КАРБЮРАТОР | CARBURETOR;


Подвесной лодочный мотор Эвинруд E15WRSSC Commercial, Rope Start, Tiller,  - rburetor - rburetor

Номер на
рисунке
АртикулНаименованиеКол-во
на складе
Цена
0439129

Карбюратор в сборе. (CARBURETOR ASSY.)

нет в наличии, поставок нет
0437267

   (последний код) CARB AY,15HP

нет в наличии, поставок нет
1 0330346

*Винт, Adjustment (SCREW, Adjustment)

1 шт710 руб.
1 0324393

   (последний код) SCREW

нет в наличии, поставок нет
2 0337807

*Пружина, Игольчатый клапан (SPRING, Needle valve)

нет в наличии, поставок нет
3 0323328

*Ролик (ROLLER)

1 шт620 руб.
4 0321117

*Уплотнительное кольцо, Cam folнижний (O-RING, Cam follower)

5 шт100 руб.
4 3852165

   (последний код) O-RING

5 шт80 руб.
5 0323327

*Рычаг (LEVER)

нет в наличии, поставок нет
6 0303630

*Шайба, Сливной винт - Z. Also available in Ремкомплект карбюратора (WASHER, Screw plug - Z. Also available in Carburetor Repair Kit)

нет в наличии, поставок нет
7 0334235

*Соединитель, Folнижний (LINK, Follower)

нет в наличии, поставок нет
8 0338882

*Прокладка, Bowl - Z. Also available in Ремкомплект карбюратора (GASKET, Bowl - Z. Also available in Carburetor Repair Kit)

нет в наличии, поставок нет
8 0333346

   (последний код) GASKET

нет в наличии, поставок нет
9 0316991

*Заглушка, Expansion, nozzle well (PLUG, Expansion, nozzle well)

нет в наличии, поставок нет
10 0437985

*Крышка, Карбюратор Корпус (COVER, Carburetor body)

нет в наличии, поставок нет
10 0436762

   (последний код) COVER&INSERT AY

нет в наличии, поставок нет
11 0340616

*Прокладка крышки - Z. Also available in Ремкомплект карбюратора (GASKET, Cover - Z. Also available in Carburetor Repair Kit)

нет в наличии, поставок нет
11 0339991

   (последний код) GASKET,CARB.

нет в наличии, поставок нет
12 0908045

*Винт, Поплавковая камера & Крышка (SCREW, Float chamber & cover)

нет в наличии, поставок нет
13 0330057

*Винт заглушки (SCREW, Plug)

нет в наличии, поставок нет
14 0317477

*Шайба, Idle passage - Z. Also available in Ремкомплект карбюратора (WASHER, Idle passage - Z. Also available in Carburetor Repair Kit)

нет в наличии, поставок нет
15 0339218

*Игольчатый клапан, Slow speed (NEEDLE VALVE, Slow speed)

нет в наличии, поставок нет
16 0339321

*Поплавковая камера (FLOAT CHAMBER)

нет в наличии, поставок нет
17 0330055

*Сливной винт, Idle passage (SCREW PLUG, Idle passage)

нет в наличии, поставок нет
18 0327706

*Ниппель, Primer (NIPPLE, Primer)

нет в наличии, поставок нет
19 0302661

*HINGE Стопор поплавка - Z. Also available in Ремкомплект карбюратора (HINGE PIN, Float - Z. Also available in Carburetor Repair Kit)

нет в наличии, поставок нет
20 0396522

*Клапан поплавка & Седло в сборе. - Z. Also available in Ремкомплект карбюратора (FLOAT VALVE & SEAT ASSY. - Z. Also available in Carburetor Repair Kit)

нет в наличии, поставок нет
20 0382889

   (последний код) FLOAT-VALVE

нет в наличии, поставок нет
21 0301996

**Шайба - Z. Also available in Ремкомплект карбюратора (WASHER - Z. Also available in Carburetor Repair Kit)

1 шт140 руб.
22 0336842

**Пружина Зажим - Z. Also available in Ремкомплект карбюратора (SPRING CLIP - Z. Also available in Carburetor Repair Kit)

нет в наличии, поставок нет
22 0603145

   (последний код) CLIP

нет в наличии, поставок нет
23 0326500

*HIGH SPEED ORIFICE, № 48 (HIGH SPEED ORIFICE, No. 48)

нет в наличии, поставок нет
24 0396514

*Поплавок в сборе. - Z. Also available in Ремкомплект карбюратора (FLOAT ASSY. - Z. Also available in Carburetor Repair Kit)

нет в наличии, поставок нет
24 0386149

   (последний код) FLOAT&ARM AY

нет в наличии, поставок нет
25 0330284

*Винт (SCREW)

нет в наличии, поставок нет
26 0330285

*Зажим (CLIP)

нет в наличии, поставок нет
26 0310942

   (последний код) CLIP

нет в наличии, поставок нет
27 0311511

*Штифт, Choke Рычаг (PIN, Choke lever)

нет в наличии, поставок нет
27 0322963

   (последний код) PIN

нет в наличии, поставок нет
28 0327227

*Колпачок, Primer Ниппель (CAP, Primer nipple)

нет в наличии, поставок нет
29 0340810

*Колпачок, Рестриктор (CAP, Restrictor)

нет в наличии, поставок нет
30 0316337

Заглушка, Air Глушитель (PLUG, Air silencer)

нет в наличии, поставок нет
31 0339192

Сальник, Air Глушитель to Карбюратор (SEAL, Air silencer to carburetor)

нет в наличии, поставок нет
32 0317893

Крепёжный хомут, Кабели to Глушитель (TIE STRAP, Cable to silencer)

нет в наличии, поставок нет
32 3852149

   (последний код) TIE-STRAP

нет в наличии, поставок нет
33 0328739

Шайба, Винт (WASHER, Screw)

нет в наличии, поставок нет
33 3852190

   (последний код) WASHER

нет в наличии, поставок нет
34 0338282

Прокладка - Z. Also available in Ремкомплект карбюратора (GASKET - Z. Also available in Carburetor Repair Kit)

нет в наличии, поставок нет
35 0328742

Гайка, Карбюратор Креплениеing (NUT, Carburetor mounting)

нет в наличии, поставок нет
35 0308133

   (последний код) NUT

нет в наличии, поставок нет
36 0436296

AIR Глушитель (AIR SILENCER)

нет в наличии, поставок нет
36 0338204

   (последний код) SILENCER,AIR

нет в наличии, поставок нет
37 0331758

Воздушный винт Глушитель (SCREW, Air silencer)

нет в наличии, поставок нет
38 0436359

Ремкомплект карбюратора (CARBURETOR REPAIR KIT)

нет в наличии, поставок нет
38 0439073

   (последний код) KIT AY,CARB REPAIR

нет в наличии, поставок нет
evinrude

Время выполнения запроса 1.6721811294556 сек.


 
 

данный сайт носит информационный характер и не является публичной офертой

склад запчастей для водомоторной техники