вконтакте

Контактный телефон: +7 (981) 121-46-93, +7 (800) 200-90-76 , Email: parts-katalog@yandex.ru, где купить

 
 

  Логин:

Пароль:

Регистрация

www.partskatalog.ru Все каталоги Запчасти Mercury Запчасти Suzuki Запчасти Tohatsu Запчасти Honda Контакты



УВАЖАЕМЫЕ КЛИЕНТЫ!
C 31 ОКТЯБРЯ 2025 ПО 10 НОЯБРЯ 2025 ГОДА РАБОТАТЬ НЕ БУДЕМ




Все разделы каталога запчастей на этот двигатель

назад Раздел:   вперёд

вернуться к списку узлов и деталей

ДЕТАЛИРОВКА ДЛЯ МОДЕЛИ: EVINRUDE E50PL4EES 1999

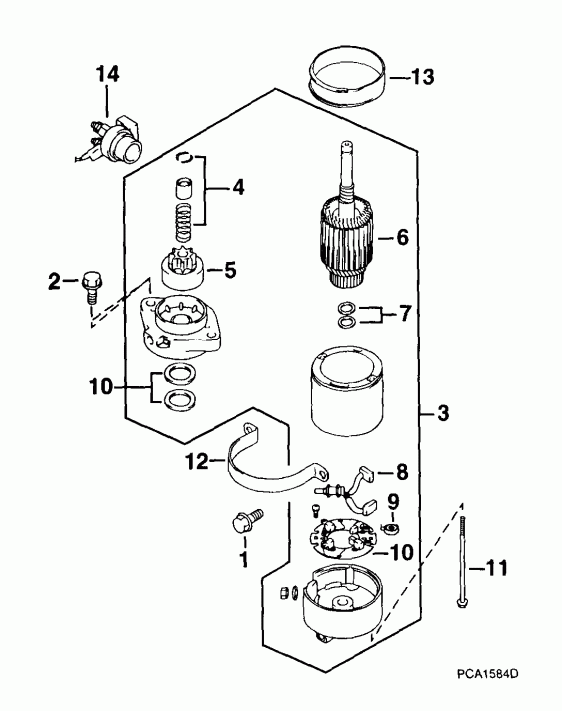
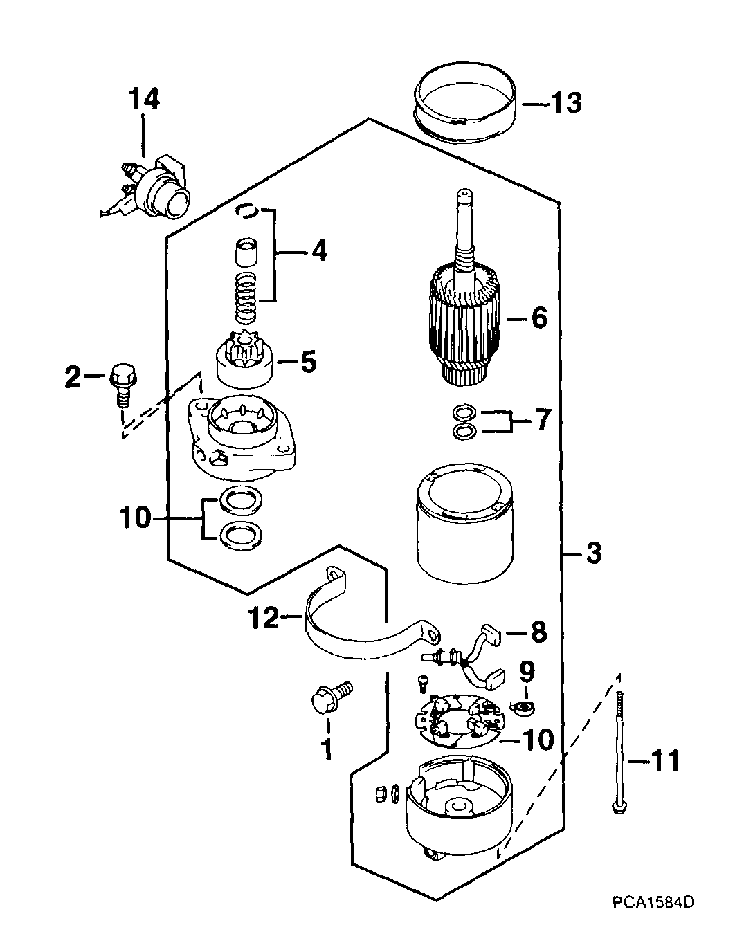
ДВИГАТЕЛЬ СТАРТЕРА | STARTER MOTOR;


Лодочный подвесной мотор Evinrude E50PL4EES 1999  - arter Motor

Номер на
рисунке
АртикулНаименованиеКол-во
на складе
Цена
1 5030994

Болт, Ремешок (BOLT, Band)

нет в наличии, поставок нет
2 5030995

Болт, Двигатель стартера (BOLT, Starter motor)

нет в наличии, поставок нет
3 5031457

Двигатель стартера (STARTER MOTOR)

нет в наличии, поставок нет
3 5030780

   (последний код) MOTOR AY, STARTING

нет в наличии, поставок нет
4 5031458

Шестерня STOP SET (PINION STOP SET)

нет в наличии, поставок нет
4 5031082

   (последний код) PINION STOP KIT

нет в наличии, поставок нет
5 5031459

Комплект шестерёнок. (PINION ASSY.)

нет в наличии, поставок нет
6 5031084

Якорь (ARMATURE)

нет в наличии, поставок нет
7 5031460

Установочная шайба (WASHER SET)

нет в наличии, поставок нет
8 5031086

Щётка KIT (BRUSH KIT)

нет в наличии, поставок нет
9 5031087

Пружина (SPRING)

нет в наличии, поставок нет
10 5031088

Держатель, Щётка (HOLDER, Brush)

нет в наличии, поставок нет
11 5031115

Болт, Корпус (BOLT, Housing)

нет в наличии, поставок нет
12 5031461

Крепежная скоба двигателя электростартера (BAND, Starter motor)

нет в наличии, поставок нет
13 5030786

Нижний демпфер (DAMPER, Lower)

нет в наличии, поставок нет
14 5030783

Реле, Двигатель стартера (RELAY, Starter motor)

нет в наличии, поставок нет
evinrude

Время выполнения запроса 0.98143887519836 сек.


 
 

данный сайт носит информационный характер и не является публичной офертой

склад запчастей для водомоторной техники