вконтакте

Контактный телефон: +7 (981) 121-46-93, +7 (800) 200-90-76 , Email: parts-katalog@yandex.ru, где купить

 
 

  Логин:

Пароль:

Регистрация

www.partskatalog.ru Все каталоги Запчасти Mercury Запчасти Suzuki Запчасти Tohatsu Запчасти Honda Контакты


Все разделы каталога запчастей на этот двигатель

назад Раздел:   вперёд

вернуться к списку узлов и деталей

ДЕТАЛИРОВКА ДЛЯ МОДЕЛИ: EVINRUDE BE30BAEEN 1999

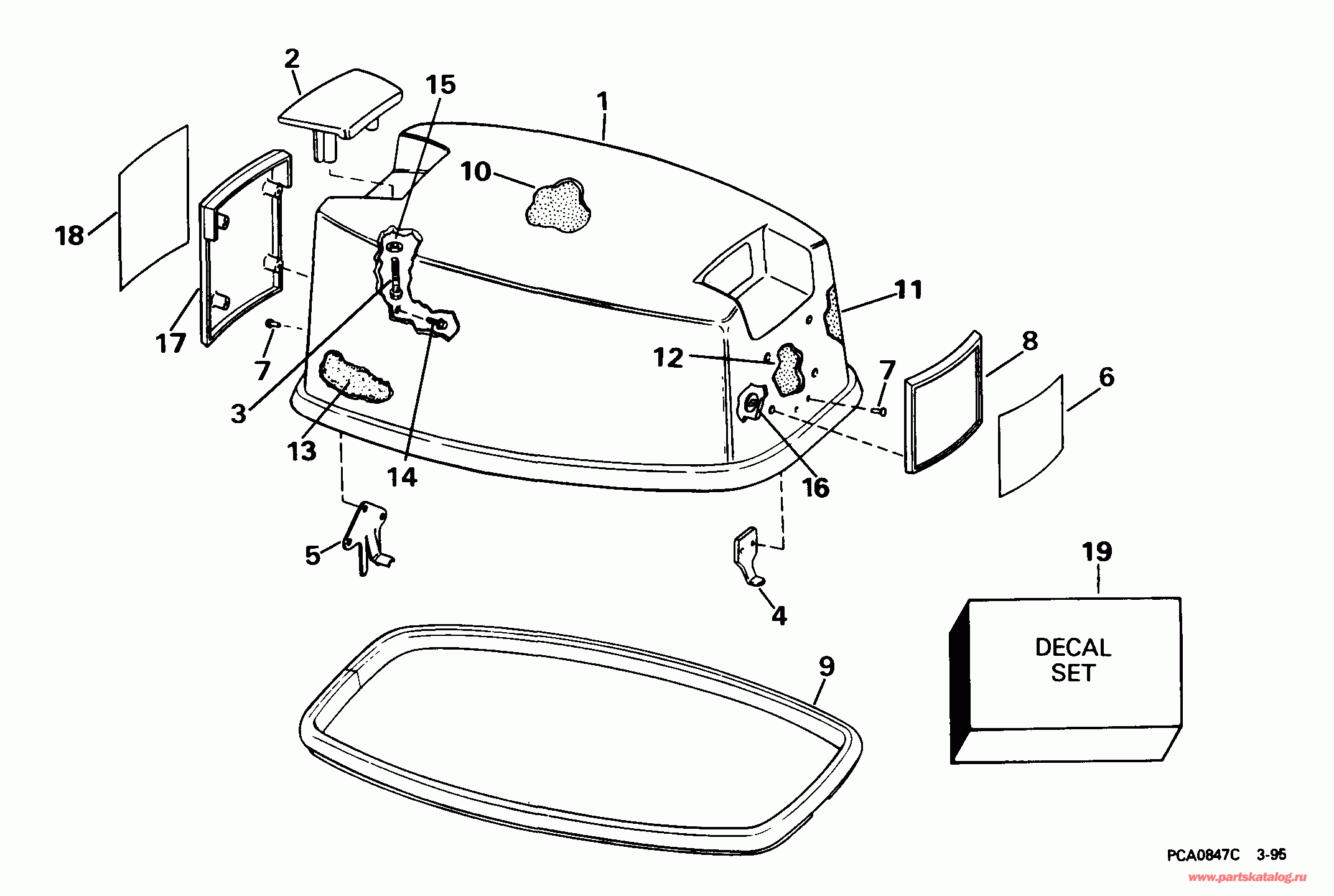
КРЫШКА ДВИГАТЕЛЯ (КАПОТ) | ENGINE COVER;


 Evinrude BE30BAEEN 1999  - gine Cover - gine Крышка

Номер на
рисунке
АртикулНаименованиеКол-во
на складе
Цена
1 5000418

Крышка двигателя (капот) в сборе.. 25R, 25RL, 25RT 30R, 30RL 25JR Only (ENGINE COVER ASSY.. 25R, 25RL, 25RT . 30R, 30RL . 25JR Only .)

нет в наличии, поставок нет
1 0284988

Крышка двигателя (капот) в сборе.. SE25RD Only (ENGINE COVER ASSY.. SE25RD Only .)

нет в наличии, поставок нет
1 0284989

Крышка двигателя (капот) в сборе.. BE30BA Only (ENGINE COVER ASSY.. BE30BA Only .)

нет в наличии, поставок нет
1 5000796

Крышка двигателя (капот) в сборе.. SJ25RD Only BJ30BA Only (ENGINE COVER ASSY.. SJ25RD Only . BJ30BA Only .)

нет в наличии, поставок нет
1 0438330

   (последний код) COVER AY,MOTOR-UPR

нет в наличии, поставок нет
2 0208399

Рукоятка наклона (TILT HANDLE)

нет в наличии, поставок нет
3 0330838

Винт, Рукоятка наклона (SCREW, Tilt handle)

нет в наличии, поставок нет
3 0329268

   (последний код) SCREW

нет в наличии, поставок нет
4 0207482

Крючок капота двигателя, front (HOOK, Engine cover, front)

нет в наличии, поставок нет
4 0206656

   (последний код) HOOK

нет в наличии, поставок нет
5 0329635

Крючок капота двигателя, rear (HOOK, Engine cover, rear)

нет в наличии, поставок нет
5 0316171

   (последний код) ANCHOR BLOCK

нет в наличии, поставок нет
6 0345515

Пластина, Рама, front. 25R, 25RL, 25RT 30R, 30RL 25JR Only (PLATE, Frame, front. 25R, 25RL, 25RT . 30R, 30RL . 25JR Only .)

нет в наличии, поставок нет
6 0213219

Пластина, Рама, front. SE25RD Only BE30BA Only (PLATE, Frame, front. SE25RD Only . BE30BA Only .)

нет в наличии, поставок нет
6 0343190

Пластина, Рама, front. SJ25RD Only (PLATE, Frame, front. SJ25RD Only .)

нет в наличии, поставок нет
6 0343192

Пластина, Рама, front. BJ30BA Only (PLATE, Frame, front. BJ30BA Only .)

нет в наличии, поставок нет
7 0554355

Заклёпка (RIVET)

нет в наличии, поставок нет
7 0544355

   (последний код) RIVET

нет в наличии, поставок нет
8 0335032

Рама, Front. 25R, 25RL, 25RT 30R, 30RL 25JR Only (FRAME, Front. 25R, 25RL, 25RT . 30R, 30RL . 25JR Only .)

нет в наличии, поставок нет
8 0210965

Рама, Front. SE25RD Only BE30BA Only (FRAME, Front. SE25RD Only . BE30BA Only .)

нет в наличии, поставок нет
8 0207863

Рама, Front. SJ25RD Only BJ30BA Only (FRAME, Front. SJ25RD Only . BJ30BA Only .)

нет в наличии, поставок нет
8 0206660

   (последний код) APPLIQUE

нет в наличии, поставок нет
9 0316225

Резинка капота двигателя (SEAL, Engine cover)

нет в наличии, поставок нет
9 0326487

   (последний код) SEAL

нет в наличии, поставок нет
10 0341527

SOUND BLANKET, Top (SOUND BLANKET, Top)

нет в наличии, поставок нет
10 0211277

   (последний код) SOUND-BLANKE

нет в наличии, поставок нет
11 0341528

SOUND BLANKET, Port (SOUND BLANKET, Port)

нет в наличии, поставок нет
11 0211278

   (последний код) SOUND BLANKET

нет в наличии, поставок нет
12 0341530

SOUND BLANKET, Front (SOUND BLANKET, Front)

нет в наличии, поставок нет
12 0211280

   (последний код) SOUND-BLANKE

нет в наличии, поставок нет
13 0341529

SOUND BLANKET, Stbd. (SOUND BLANKET, Stbd.)

нет в наличии, поставок нет
13 0211279

   (последний код) SOUND-BLANKE

нет в наличии, поставок нет
14 0334528

Винт, Рама Креплениеing, rear (SCREW, Frame mounting, rear)

нет в наличии, поставок нет
15 0202150

Шайба, Рукоятка наклона (WASHER, Tilt handle)

нет в наличии, поставок нет
16 0317223

Гайка, Push-on (NUT, Push-on)

нет в наличии, поставок нет
17 0335041

Рама, Rear. 25R, 25RL, 25RT 30R, 30RL 25JR Only (FRAME, Rear. 25R, 25RL, 25RT . 30R, 30RL . 25JR Only .)

нет в наличии, поставок нет
17 0210973

Рама, Rear. SE25RD Only BE30BA Only (FRAME, Rear. SE25RD Only . BE30BA Only .)

нет в наличии, поставок нет
17 0338054

Рама, Rear. SJ25RD Only BJ30BA Only (FRAME, Rear. SJ25RD Only . BJ30BA Only .)

нет в наличии, поставок нет
18 0345516

Пластина, Рама, rear. 25R, 25RL, 25RT (PLATE, Frame, rear. 25R, 25RL, 25RT .)

нет в наличии, поставок нет
18 0345517

Пластина, Рама, rear. 30R, 30RL (PLATE, Frame, rear. 30R, 30RL .)

нет в наличии, поставок нет
18 0345518

Пластина, Рама, rear. 25JR Only (PLATE, Frame, rear. 25JR Only .)

нет в наличии, поставок нет
18 0213223

Пластина, Рама, rear. SE25RD Only (PLATE, Frame, rear. SE25RD Only .)

нет в наличии, поставок нет
18 0213226

Пластина, Рама, rear. BE30BA Only (PLATE, Frame, rear. BE30BA Only .)

нет в наличии, поставок нет
18 0343191

Пластина, Рама, rear. SJ25RD Only (PLATE, Frame, rear. SJ25RD Only .)

нет в наличии, поставок нет
18 0343193

Пластина, Рама, rear. BJ30BA Only (PLATE, Frame, rear. BJ30BA Only .)

нет в наличии, поставок нет
19 5000446

Комплект наклеек. 25R, 25RL, 25RT 30R, 30RL 25JR Only (DECAL SET. 25R, 25RL, 25RT . 30R, 30RL . 25JR Only .)

нет в наличии, поставок нет
19 0285043

Комплект наклеек. SE25RD Only (DECAL SET. SE25RD Only .)

нет в наличии, поставок нет
19 0285044

Комплект наклеек. BE30BA Only (DECAL SET. BE30BA Only .)

нет в наличии, поставок нет
evinrude

Время выполнения запроса 1.4003591537476 сек.


 
 

данный сайт носит информационный характер и не является публичной офертой

склад запчастей для водомоторной техники