вконтакте

Контактный телефон: +7 (981) 121-46-93, +7 (800) 200-90-76 , Email: parts-katalog@yandex.ru, где купить

 
 

  Логин:

Пароль:

Регистрация

www.partskatalog.ru Все каталоги Запчасти Mercury Запчасти Suzuki Запчасти Tohatsu Запчасти Honda Контакты


Все разделы каталога запчастей на этот двигатель

назад Раздел:   вперёд

вернуться к списку узлов и деталей

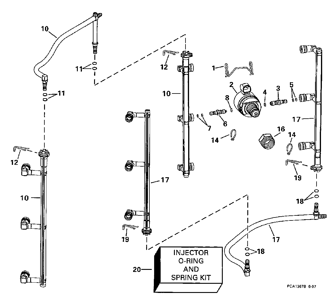
ДЕТАЛИРОВКА ДЛЯ МОДЕЛИ: EVINRUDE E175FSLECS 1998

ИНЖЕКТОР & FUEL КОЛЛЕКТОРS | INJECTOR & FUEL MANIFOLDS;


Подвесной мотор Эвинруд E175FSLECS 1998  - jector & Fuel Manifolds / jector & Fuel Коллекторs

Номер на
рисунке
АртикулНаименованиеКол-во
на складе
Цена
1 0343563

Фиксатор, Fuel Коллектор to инжектор (RETAINER, Fuel manifold to injector)

нет в наличии, поставок нет
2 0439127

Топливный инжектор, в сборе (INJECTOR ASSY., Fuel)

нет в наличии, поставок нет
2 0438967

   (последний код) NOZZLE AY,PDS

нет в наличии, поставок нет
3 0438109

Ниппель в сборе., Fuel вход (NIPPLE ASSY., Fuel inlet)

нет в наличии, поставок нет
4 0340827

Уплотнительное кольцо, Ниппель to Корпус. коричневый (O-RING, Nipple to housing. Brown)

нет в наличии, поставок нет
5 0343585

Уплотнительное кольцо, Ниппель to rail. коричневый (O-RING, Nipple to rail. Brown)

нет в наличии, поставок нет
6 0439125

Ниппель в сборе., Fuel return (NIPPLE ASSY., Fuel return)

нет в наличии, поставок нет
7 0343605

Уплотнительное кольцо, инжектор, fuel return. чёрный (O-RING, Injector, fuel return. Black)

нет в наличии, поставок нет
8 0124946

Уплотнительное кольцо, Ниппель to Корпус. чёрный (O-RING, Nipple to housing. Black)

нет в наличии, поставок нет
10 0438994

Трубка для подключения топливного бака, в сборе return (TUBE ASSY., Fuel return)

нет в наличии, поставок нет
10 0438993

   (последний код) TUBE ASSY FUEL RTN

нет в наличии, поставок нет
11 0343585

Уплотнительное кольцо (O-RING)

нет в наличии, поставок нет
12 0344103

Фиксатор (RETAINER)

нет в наличии, поставок нет
12 0343587

   (последний код) RETAINER

нет в наличии, поставок нет
14 0317893

Крепёжный хомут (TIE STRAP)

нет в наличии, поставок нет
14 3852149

   (последний код) TIE-STRAP

нет в наличии, поставок нет
16 0344138

Держатель, инжектор to Головка блока цилиндра (HOLDER, Injector to cylinder head)

нет в наличии, поставок нет
16 0341569

   (последний код) HOLDER,PDS

нет в наличии, поставок нет
17 0438992

Трубка для подключения топливного бака, в сборе feed (TUBE ASSY., Fuel feed)

нет в наличии, поставок нет
17 0438991

   (последний код) TUBE ASSY FUEL FEED

нет в наличии, поставок нет
18 0343585

Уплотнительное кольцо (O-RING)

нет в наличии, поставок нет
19 0344103

Фиксатор (RETAINER)

нет в наличии, поставок нет
19 0343587

   (последний код) RETAINER

нет в наличии, поставок нет
20 0439133

Уплотнительное кольцо & Пружина KIT, инжектор (O-RING & SPRING KIT, Injector)

нет в наличии, поставок нет
evinrude

Время выполнения запроса 1.0718429088593 сек.


 
 

данный сайт носит информационный характер и не является публичной офертой

склад запчастей для водомоторной техники