| |
Все разделы каталога запчастей на этот двигатель
вернуться к списку узлов и деталей ДЕТАЛИРОВКА ДЛЯ МОДЕЛИ: EVINRUDE E25QLECA 1998
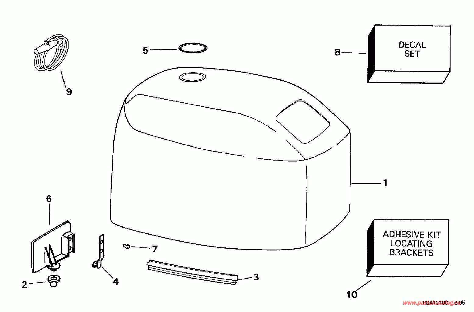
КРЫШКА ДВИГАТЕЛЯ (КАПОТ) -- JOHNSON | ENGINE COVER -- JOHNSON;
Номер на рисунке | Артикул | Наименование | Кол-во на складе | Цена |
| 1 | 0438319 | MOTOR Крышка в сборе. J25RM, J25RML, J25TK, J25TKL BJ25AR, BJ25ARL (MOTOR COVER ASSY.. J25RM, J25RML, J25TK, J25TKL BJ25AR, BJ25ARL) | нет в наличии, поставок нет |
| 1 | 0437360 | (последний код) COVER AY,MOTOR-UPR | нет в наличии, поставок нет |
| 1 | 0438320 | MOTOR Крышка в сборе. J25KL, J25QL BJ25K, BJ25KL, BJ25QL (MOTOR COVER ASSY.. J25KL, J25QL BJ25K, BJ25KL, BJ25QL) | нет в наличии, поставок нет |
| 1 | 0438321 | MOTOR Крышка в сборе. BJ35AR, BJ35ARL J35TKL (MOTOR COVER ASSY.. BJ35AR, BJ35ARL J35TKL) | нет в наличии, поставок нет |
| 1 | 0438322 | MOTOR Крышка в сборе. J35KL, J35QL BJ35K, BJ35KL, BJ35QL (MOTOR COVER ASSY.. J35KL, J35QL BJ35K, BJ35KL, BJ35QL) | нет в наличии, поставок нет |
| 1 | 0437363 | (последний код) MTR CVR 35HP MIRAG | нет в наличии, поставок нет |
| 2 | 0334432 | Бампер (BUMPER) | нет в наличии, поставок нет |
| 3 | 0339801 | Сальник, Крышка (SEAL, Cover) | нет в наличии, поставок нет |
| 4 | 0436245 | Крючок в сборе. (HOOK ASSY.) | нет в наличии, поставок нет |
| 5 | 0341988 | LENS, Jo., BJ25AR, BJ25ARL BJ25K, BJ25KL, BJ25QL BJ35AR, BJ35ARL BJ35K, BJ35KL, BJ35QL (LENS, Jo.,. BJ25AR, BJ25ARL BJ25K, BJ25KL, BJ25QL BJ35AR, BJ35ARL BJ35K, BJ35KL, BJ35QL) | нет в наличии, поставок нет |
| 6 | 0439052 | Кронштейн, Locating (BRACKET, Locating) | нет в наличии, поставок нет |
| 6 | 0436246 | (последний код) BRACKET,LOCATING | нет в наличии, поставок нет |
| 7 | 0328744 | Винт, Крючок to Кронштейн (SCREW, Hook to bracket) | нет в наличии, поставок нет |
| 7 | 0308741 | (последний код) SCREW | нет в наличии, поставок нет |
| 8 | 0438444 | Комплект наклеек. J25RM, J25RML, J25TK, J25TKL J25KL, J25QL (DECAL SET. J25RM, J25RML, J25TK, J25TKL J25KL, J25QL) | нет в наличии, поставок нет |
| 8 | 0437890 | Комплект наклеек. BJ25AR, BJ25ARL BJ25K, BJ25KL, BJ25QL (DECAL SET. BJ25AR, BJ25ARL BJ25K, BJ25KL, BJ25QL) | нет в наличии, поставок нет |
| 8 | 0437892 | Комплект наклеек. BJ35AR, BJ35ARL BJ35K, BJ35KL, BJ35QL (DECAL SET. BJ35AR, BJ35ARL BJ35K, BJ35KL, BJ35QL) | нет в наличии, поставок нет |
| 8 | 0438445 | Комплект наклеек. J35KL, J35QL J35TKL (DECAL SET. J35KL, J35QL J35TKL) | нет в наличии, поставок нет |
| 9 | 0378347 | EMERGENCY Шнур стартера. J25KL, J25QL BJ25K, BJ25KL, BJ25QL (EMERGENCY START ROPE. J25KL, J25QL BJ25K, BJ25KL, BJ25QL) | нет в наличии, поставок нет |
| 10 | 0431929 | ADHESIVE KIT, Locating Кронштейнs (ADHESIVE KIT, Locating brackets) | нет в наличии, поставок нет |

Время выполнения запроса 0.9390881061554 сек.
|
|