вконтакте

Контактный телефон: +7 (981) 121-46-93, +7 (800) 200-90-76 , Email: parts-katalog@yandex.ru, где купить

 
 

  Логин:

Пароль:

Регистрация

www.partskatalog.ru Все каталоги Запчасти Mercury Запчасти Suzuki Запчасти Tohatsu Запчасти Honda Контакты



УВАЖАЕМЫЕ КЛИЕНТЫ!
C 31 ОКТЯБРЯ 2025 ПО 10 НОЯБРЯ 2025 ГОДА РАБОТАТЬ НЕ БУДЕМ




Все разделы каталога запчастей на этот двигатель

назад Раздел:   вперёд

вернуться к списку узлов и деталей

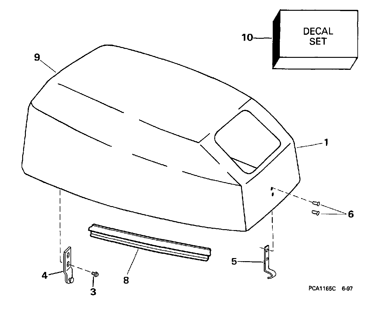
ДЕТАЛИРОВКА ДЛЯ МОДЕЛИ: EVINRUDE E15RECR 1998

КРЫШКА ДВИГАТЕЛЯ (КАПОТ) -- EVINRUDE | ENGINE COVER -- EVINRUDE;


Подвесной мотор Эвинруд E15RECR 1998  - Evinrude -  Evinrude

Номер на
рисунке
АртикулНаименованиеКол-во
на складе
Цена
1 0284979

Крышка двигателя (капот) в сборе.. 9.9 Models, Except 10SEL (ENGINE COVER ASSY.. 9.9 Models, Except 10SEL)

нет в наличии, поставок нет
1 0284981

Крышка двигателя (капот) в сборе.. 15 Models (ENGINE COVER ASSY.. 15 Models)

нет в наличии, поставок нет
1 0284980

Крышка двигателя (капот) в сборе.. 10SEL Models (ENGINE COVER ASSY.. 10SEL Models)

нет в наличии, поставок нет
3 0329217

Винт, Rear Крючок (SCREW, Rear hook)

нет в наличии, поставок нет
3 0333707

   (последний код) SCREW

нет в наличии, поставок нет
4 0438947

Крючок, Rear (HOOK, Rear)

нет в наличии, поставок нет
5 0436301

Крючок спереди (HOOK, Front)

нет в наличии, поставок нет
6 0339068

Заклёпка, Front Крючок (RIVET, Front hook)

нет в наличии, поставок нет
8 0339204

Сальник (SEAL)

нет в наличии, поставок нет
9 0344255

SOUND BLANKET, Rear (SOUND BLANKET, Rear)

нет в наличии, поставок нет
10 0285037

Комплект наклеек. 9.9 Models, Except 10SEL (DECAL SET. 9.9 Models, Except 10SEL)

нет в наличии, поставок нет
10 0285038

Комплект наклеек. 15 Models (DECAL SET. 15 Models)

нет в наличии, поставок нет
10 0285039

Комплект наклеек. 10SEL Models (DECAL SET. 10SEL Models)

нет в наличии, поставок нет
evinrude

Время выполнения запроса 0.64677214622498 сек.


 
 

данный сайт носит информационный характер и не является публичной офертой

склад запчастей для водомоторной техники