вконтакте

Контактный телефон: +7 (981) 121-46-93, +7 (800) 200-90-76 , Email: parts-katalog@yandex.ru, где купить

 
 

  Логин:

Пароль:

Регистрация

www.partskatalog.ru Все каталоги Запчасти Mercury Запчасти Suzuki Запчасти Tohatsu Запчасти Honda Контакты



УВАЖАЕМЫЕ КЛИЕНТЫ!
C 31 ОКТЯБРЯ 2025 ПО 10 НОЯБРЯ 2025 ГОДА РАБОТАТЬ НЕ БУДЕМ




Все разделы каталога запчастей на этот двигатель

назад Раздел:   вперёд

вернуться к списку узлов и деталей

ДЕТАЛИРОВКА ДЛЯ МОДЕЛИ: EVINRUDE E15RECR 1998

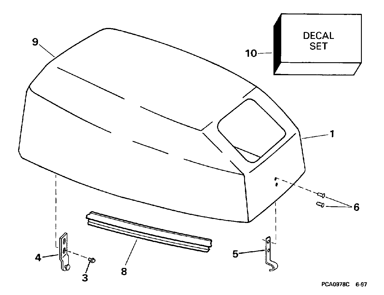
КРЫШКА ДВИГАТЕЛЯ (КАПОТ) -- JOHNSON | ENGINE COVER -- JOHNSON;


Лодочный подвесной мотор EVINRUDE E15RECR 1998  -  Johnson - Johnson

Номер на
рисунке
АртикулНаименованиеКол-во
на складе
Цена
1 0438309

Крышка двигателя (капот) в сборе.. 9.9 Models (ENGINE COVER ASSY.. 9.9 Models)

нет в наличии, поставок нет
1 0438310

   (последний код) MTR CVR 9.9 SAIL W

нет в наличии, поставок нет
1 0438312

Крышка двигателя (капот) в сборе.. 15 Models (ENGINE COVER ASSY.. 15 Models)

нет в наличии, поставок нет
1 0438310

Крышка двигателя (капот) в сборе.. 10SEL Models (ENGINE COVER ASSY.. 10SEL Models)

нет в наличии, поставок нет
1 0438309

   (последний код) MTR CVR 9.9HP WH

нет в наличии, поставок нет
3 0329217

Винт, Rear Крючок (SCREW, Rear hook)

нет в наличии, поставок нет
3 0333707

   (последний код) SCREW

нет в наличии, поставок нет
4 0438947

Крючок, Rear (HOOK, Rear)

нет в наличии, поставок нет
5 0436301

Крючок спереди (HOOK, Front)

нет в наличии, поставок нет
6 0339068

Заклёпка, Front Крючок (RIVET, Front hook)

нет в наличии, поставок нет
8 0339204

Сальник (SEAL)

нет в наличии, поставок нет
9 0344255

SOUND BLANKET, Rear (SOUND BLANKET, Rear)

нет в наличии, поставок нет
10 0438433

Комплект наклеек. 9.9 Models 10SEL Models (DECAL SET. 9.9 Models 10SEL Models)

нет в наличии, поставок нет
10 0438434

Комплект наклеек. 15 Models (DECAL SET. 15 Models)

нет в наличии, поставок нет
evinrude

Время выполнения запроса 1.0800750255585 сек.


 
 

данный сайт носит информационный характер и не является публичной офертой

склад запчастей для водомоторной техники