вконтакте

Контактный телефон: +7 (981) 121-46-93, +7 (800) 200-90-76 , Email: parts-katalog@yandex.ru, где купить

 
 

  Логин:

Пароль:

Регистрация

www.partskatalog.ru Все каталоги Запчасти Mercury Запчасти Suzuki Запчасти Tohatsu Запчасти Honda Контакты



УВАЖАЕМЫЕ КЛИЕНТЫ!
C 19 ДЕКАБРЯ 2025 ПО 02 МАРТА 2026 ГОДА ОТДЕЛ ЗАПЧАСТЕЙ И СЕРВИС РАБОТАТЬ НЕ БУДУТ
ПРОДАЖА ЛОДОЧНЫХ МОТОРОВ В ШТАТНОМ РЕЖИМЕ
ОБ ИЗМЕНЕНИЯХ В ГРАФИКЕ РАБОТЫ ЧИТАЙТЕ НА САЙТА




Все разделы каталога запчастей на этот двигатель

Раздел:   вперёд

вернуться к списку узлов и деталей

ДЕТАЛИРОВКА ДЛЯ МОДЕЛИ: EVINRUDE E15RLECR 1998

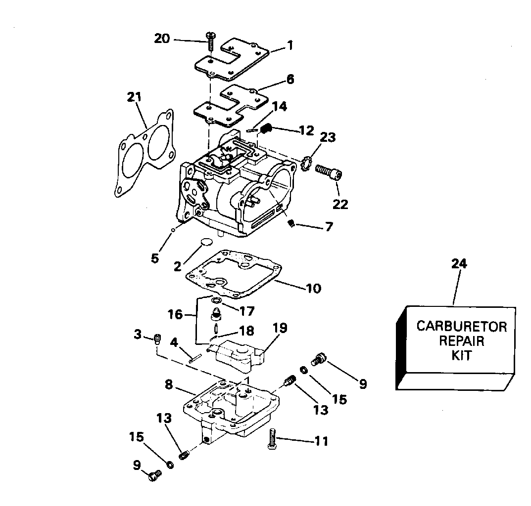
КАРБЮРАТОР | CARBURETOR;


Подвесной лодочный мотор EVINRUDE E15RLECR 1998  - rburetor / rburetor

Номер на
рисунке
АртикулНаименованиеКол-во
на складе
Цена
0436778 0436778

Карбюратор в сборе.. Not Shown 9.9 Шнур & SEL Models (CARBURETOR ASSY.. Not Shown 9.9 Rope & SEL Models)

нет в наличии, поставок нет
0436778 0435222

   (последний код) CARBURETOR AY

нет в наличии, поставок нет
0436779 0436779

Карбюратор в сборе.. Not Shown 10REL Only (CARBURETOR ASSY.. Not Shown 10REL Only)

нет в наличии, поставок нет
0436779 0435223

   (последний код) CARBURETOR AY

нет в наличии, поставок нет
0439129 0439129

Карбюратор в сборе.. Not Shown 15 Шнур & TE (CARBURETOR ASSY.. Not Shown 15 Rope & TE)

нет в наличии, поставок нет
0439129 0437267

   (последний код) CARB AY,15HP

нет в наличии, поставок нет
0439128 0439128

Карбюратор в сборе.. Not Shown 15REL Only (CARBURETOR ASSY.. Not Shown 15REL Only)

нет в наличии, поставок нет
0439128 0437268

   (последний код) CARBURETOR AY

нет в наличии, поставок нет
1 0330346

Винт, Adjustment (SCREW, Adjustment)

1 шт710 руб.
1 0324393

   (последний код) SCREW

нет в наличии, поставок нет
2 0337807

Пружина, Игольчатый клапан (SPRING, Needle valve)

нет в наличии, поставок нет
3 0323328

Ролик (ROLLER)

1 шт620 руб.
4 0321117

Уплотнительное кольцо, Cam folнижний (O-RING, Cam follower)

5 шт100 руб.
4 3852165

   (последний код) O-RING

5 шт80 руб.
5 0323327

Рычаг (LEVER)

нет в наличии, поставок нет
6 0303630

Шайба, Сливной винт (WASHER, Screw plug)

нет в наличии, поставок нет
7 0334235

Соединитель, Folнижний (LINK, Follower)

нет в наличии, поставок нет
8 0338882

Прокладка, Bowl (GASKET, Bowl)

нет в наличии, поставок нет
8 0333346

   (последний код) GASKET

нет в наличии, поставок нет
9 0327706

Ниппель, Primer (NIPPLE, Primer)

нет в наличии, поставок нет
10 0438061

Крышка, Карбюратор Корпус. 9.9 Шнур & SEL Models 10REL Only (COVER, Carburetor body. 9.9 Rope & SEL Models 10REL Only)

нет в наличии, поставок нет
10 0437985

Крышка, Карбюратор Корпус. 15 Шнур & TE 15REL Only (COVER, Carburetor body. 15 Rope & TE 15REL Only)

нет в наличии, поставок нет
10 0436762

   (последний код) COVER&INSERT AY

нет в наличии, поставок нет
11 0340616

Прокладка крышки (GASKET, Cover)

нет в наличии, поставок нет
11 0339991

   (последний код) GASKET,CARB.

нет в наличии, поставок нет
12 0908045

Винт, Поплавковая камера & Крышка (SCREW, Float chamber & cover)

нет в наличии, поставок нет
13 0330057

Винт заглушки (SCREW, Plug)

нет в наличии, поставок нет
14 0317477

Шайба, Idle passage (WASHER, Idle passage)

нет в наличии, поставок нет
15 0339218

Игольчатый клапан, Slow speed (NEEDLE VALVE, Slow speed)

нет в наличии, поставок нет
16 0339321

Поплавковая камера (FLOAT CHAMBER)

нет в наличии, поставок нет
17 0330055

Сливной винт, Idle passage (SCREW PLUG, Idle passage)

нет в наличии, поставок нет
19 0302661

HINGE Стопор поплавка (HINGE PIN, Float)

нет в наличии, поставок нет
20 0396522

Клапан поплавка & Седло в сборе. (FLOAT VALVE & SEAT ASSY.)

нет в наличии, поставок нет
20 0382889

   (последний код) FLOAT-VALVE

нет в наличии, поставок нет
21 0301996

Шайба (WASHER)

1 шт140 руб.
22 0336842

Пружина Зажим (SPRING CLIP)

нет в наличии, поставок нет
22 0603145

   (последний код) CLIP

нет в наличии, поставок нет
23 0323703

HIGH SPEED ORIFICE, № 36. 9.9 Шнур & SEL Models 10REL Only (HIGH SPEED ORIFICE, No. 36. 9.9 Rope & SEL Models 10REL Only)

нет в наличии, поставок нет
23 0326500

HIGH SPEED ORIFICE, № 48. 15 Шнур & TE 15REL Only (HIGH SPEED ORIFICE, No. 48. 15 Rope & TE 15REL Only)

нет в наличии, поставок нет
24 0396514

Поплавок в сборе. (FLOAT ASSY.)

нет в наличии, поставок нет
24 0386149

   (последний код) FLOAT&ARM AY

нет в наличии, поставок нет
25 0330284

Винт. 9.9 Шнур & SEL Models 15 Шнур & TE (SCREW. 9.9 Rope & SEL Models 15 Rope & TE)

нет в наличии, поставок нет
26 0330285

Зажим. 9.9 Шнур & SEL Models 15 Шнур & TE (CLIP. 9.9 Rope & SEL Models 15 Rope & TE)

нет в наличии, поставок нет
26 0310942

   (последний код) CLIP

нет в наличии, поставок нет
27 0311511

Штифт, Choke Рычаг. 9.9 Шнур & SEL Models 15 Шнур & TE (PIN, Choke lever. 9.9 Rope & SEL Models 15 Rope & TE)

нет в наличии, поставок нет
27 0322963

   (последний код) PIN

нет в наличии, поставок нет
28 0327227

Колпачок, Primer Ниппель. 9.9 Шнур & SEL Models 15 Шнур & TE (CAP, Primer nipple. 9.9 Rope & SEL Models 15 Rope & TE)

нет в наличии, поставок нет
29 0340810

Колпачок, Рестриктор (CAP, Restrictor)

нет в наличии, поставок нет
30 0316991

Заглушка, Nozzle well (PLUG, Nozzle well)

нет в наличии, поставок нет
31 0314513

FITTING, Fuel вход (FITTING, Fuel inlet)

нет в наличии, поставок нет
32 0316337

Заглушка, Air Глушитель (PLUG, Air silencer)

нет в наличии, поставок нет
33 0328739

Шайба, Винт (WASHER, Screw)

нет в наличии, поставок нет
33 3852190

   (последний код) WASHER

нет в наличии, поставок нет
34 0338282

Прокладка (GASKET)

нет в наличии, поставок нет
35 0328742

Гайка, Карбюратор Креплениеing (NUT, Carburetor mounting)

нет в наличии, поставок нет
35 0308133

   (последний код) NUT

нет в наличии, поставок нет
36 0436296

AIR Глушитель (AIR SILENCER)

нет в наличии, поставок нет
36 0338204

   (последний код) SILENCER,AIR

нет в наличии, поставок нет
37 0331758

Воздушный винт Глушитель (SCREW, Air silencer)

нет в наличии, поставок нет
38 0317893

Крепёжный хомут, Тросик дросселя (TIE STRAP, Throttle cable)

нет в наличии, поставок нет
38 3852149

   (последний код) TIE-STRAP

нет в наличии, поставок нет
39 0339192

Сальник, Air Глушитель to Карбюратор (SEAL, Air silencer to carburetor)

нет в наличии, поставок нет
40 0436359

Ремкомплект карбюратора (CARBURETOR REPAIR KIT)

нет в наличии, поставок нет
40 0439073

   (последний код) KIT AY,CARB REPAIR

нет в наличии, поставок нет
evinrude

Время выполнения запроса 0.77352595329285 сек.


 
 

данный сайт носит информационный характер и не является публичной офертой

склад запчастей для водомоторной техники