вконтакте

Контактный телефон: +7 (981) 121-46-93, +7 (800) 200-90-76 , Email: parts-katalog@yandex.ru, где купить

 
 

  Логин:

Пароль:

Регистрация

www.partskatalog.ru Все каталоги Запчасти Mercury Запчасти Suzuki Запчасти Tohatsu Запчасти Honda Контакты



УВАЖАЕМЫЕ КЛИЕНТЫ!
C 19 ДЕКАБРЯ 2025 ПО 02 МАРТА 2026 ГОДА ОТДЕЛ ЗАПЧАСТЕЙ И СЕРВИС РАБОТАТЬ НЕ БУДУТ
ПРОДАЖА ЛОДОЧНЫХ МОТОРОВ В ШТАТНОМ РЕЖИМЕ
ОБ ИЗМЕНЕНИЯХ В ГРАФИКЕ РАБОТЫ ЧИТАЙТЕ НА САЙТА




Все разделы каталога запчастей на этот двигатель

назад Раздел:   вперёд

вернуться к списку узлов и деталей

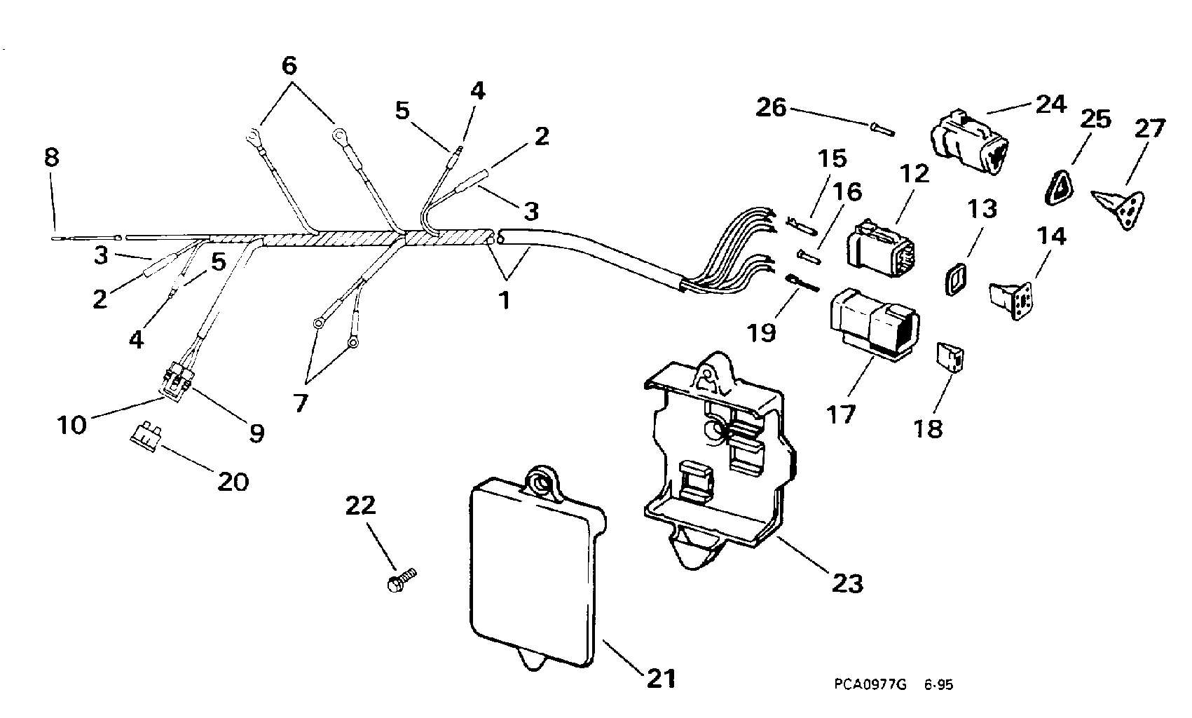
ДЕТАЛИРОВКА ДЛЯ МОДЕЛИ: EVINRUDE SE15BAECA 1998

MOTOR КАБЕЛИ | MOTOR CABLE;


Подвесной мотор EVINRUDE SE15BAECA 1998  - tor Cable / tor Кабели

Номер на
рисунке
АртикулНаименованиеКол-во
на складе
Цена
1 0586025

MOTOR Кабели (MOTOR CABLE)

нет в наличии, поставок нет
1 0585119

   (последний код) CABLE AY,MOTOR

нет в наличии, поставок нет
2 0512876

Клемма, Socket (TERMINAL, Socket)

нет в наличии, поставок нет
2 3852244

   (последний код) TERMINAL,SOC

нет в наличии, поставок нет
3 0513186

Гильза (SLEEVE)

нет в наличии, поставок нет
3 3852248

   (последний код) SLEEVE,SKT-B

нет в наличии, поставок нет
4 0512947

Клемма, Bullet (TERMINAL, Bullet)

нет в наличии, поставок нет
4 0910462

   (последний код) TERM.-60766-

нет в наличии, поставок нет
5 0513185

Гильза (SLEEVE)

нет в наличии, поставок нет
5 0512948

   (последний код) SLEEVE

нет в наличии, поставок нет
6 0510818

Клемма, Кольцо, 1 / 4 дюйм (TERMINAL, Ring, 1/4 in.)

нет в наличии, поставок нет
6 3854243

   (последний код) TERMINAL,RIN

нет в наличии, поставок нет
7 0511829

Клемма, Кольцо, #10 (TERMINAL, Ring, #10)

нет в наличии, поставок нет
7 3852233

   (последний код) TERMINAL,RIN

нет в наличии, поставок нет
8 0581656

Клемма, Socket (TERMINAL, Socket)

нет в наличии, поставок нет
8 3852257

   (последний код) TERMINAL AY,SCKT

нет в наличии, поставок нет
9 0514033

Коннектор (CONNECTOR)

нет в наличии, поставок нет
10 0514035

Клемма (TERMINAL)

нет в наличии, поставок нет
10 3858186

   (последний код) TERMINAL

нет в наличии, поставок нет
12 0514687

Коннектор, 6-socket (CONNECTOR, 6-socket)

нет в наличии, поставок нет
13 0514790

Сальник (SEAL)

нет в наличии, поставок нет
14 0514683

LOCK WEDGE (LOCK WEDGE)

нет в наличии, поставок нет
15 0514680

Клемма, Socket (TERMINAL, Socket)

нет в наличии, поставок нет
16 0514690

Заглушка, Vacant hole (PLUG, Vacant hole)

нет в наличии, поставок нет
17 0514688

Коннектор, 6-Штифт (CONNECTOR, 6-pin)

нет в наличии, поставок нет
18 0514684

LOCK WEDGE (LOCK WEDGE)

нет в наличии, поставок нет
19 0514679

Клемма, Штифт (TERMINAL, Pin)

нет в наличии, поставок нет
20 0514021

Предохранитель, 20 Amp (FUSE, 20 Amp)

нет в наличии, поставок нет
21 0342265

Крышка, Кронштейн (COVER, Bracket)

нет в наличии, поставок нет
21 0341030

   (последний код) COVER,-CONN

нет в наличии, поставок нет
22 0330838

Винт, Крышка (SCREW, Cover)

нет в наличии, поставок нет
22 0329268

   (последний код) SCREW

нет в наличии, поставок нет
23 0342197

Кронштейн коннектораs (BRACKET, Connectors)

нет в наличии, поставок нет
0586072 0586072

Внешняя розетка & Сальник в сборе., Trim Кабели. Not Shown (RECEPTACLE & SEAL ASSY., Trim cable. Not Shown)

нет в наличии, поставок нет
24 0514686

Коннектор, 3-Штифт (CONNECTOR, 3-pin)

нет в наличии, поставок нет
25 0514789

Сальник (SEAL)

нет в наличии, поставок нет
26 0514690

Заглушка, Vacant hole (PLUG, Vacant hole)

нет в наличии, поставок нет
27 0514681

LOCK WEDGE (LOCK WEDGE)

нет в наличии, поставок нет
evinrude

Время выполнения запроса 1.0229949951172 сек.


 
 

данный сайт носит информационный характер и не является публичной офертой

склад запчастей для водомоторной техники