| |
Все разделы каталога запчастей на этот двигатель
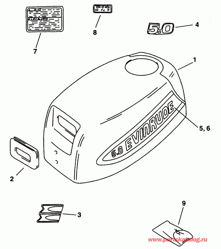
вернуться к списку узлов и деталей ДЕТАЛИРОВКА ДЛЯ МОДЕЛИ: EVINRUDE E5RECS 1998
КРЫШКА ДВИГАТЕЛЯ (КАПОТ) -- EVINRUDE | ENGINE COVER -- EVINRUDE;
Номер на рисунке | Артикул | Наименование | Кол-во на складе | Цена |
| 1 | 5030294 | Крышка двигателя (капот) в сборе. (ENGINE COVER ASSY.) | нет в наличии, поставок нет |
| 2 | 5030308 | Сальник, Rewind Стартер (SEAL, Rewind starter) | нет в наличии, поставок нет |
| 3 | 5030297 | Наклейка, Крышка двигателя (капот), front (DECAL, Engine cover, front) | нет в наличии, поставок нет |
| 4 | 5030299 | Наклейка, Крышка двигателя (капот), rear (DECAL, Engine cover, rear) | нет в наличии, поставок нет |
| 5 | 5030301 | STRIPE, Stbd. (STRIPE, Stbd.) | нет в наличии, поставок нет |
| 6 | 5030303 | STRIPE, Port (STRIPE, Port) | нет в наличии, поставок нет |
| 7 | 5030306 | Наклейка, Safety warning (DECAL, Safety warning) | нет в наличии, поставок нет |
| 8 | 5030204 | Наклейка, Переключатель (DECAL, Shift) | нет в наличии, поставок нет |
| 9 | 5030143 | Комплект инструмента (TOOL SET) | нет в наличии, поставок нет |

Время выполнения запроса 0.77690005302429 сек.
|
|