вконтакте

Контактный телефон: +7 (981) 121-46-93, +7 (800) 200-90-76 , Email: parts-katalog@yandex.ru, где купить

 
 

  Логин:

Пароль:

Регистрация

www.partskatalog.ru Все каталоги Запчасти Mercury Запчасти Suzuki Запчасти Tohatsu Запчасти Honda Контакты


Все разделы каталога запчастей на этот двигатель

назад Раздел:   вперёд

вернуться к списку узлов и деталей

ДЕТАЛИРОВКА ДЛЯ МОДЕЛИ: EVINRUDE BE250CXEUM 1997

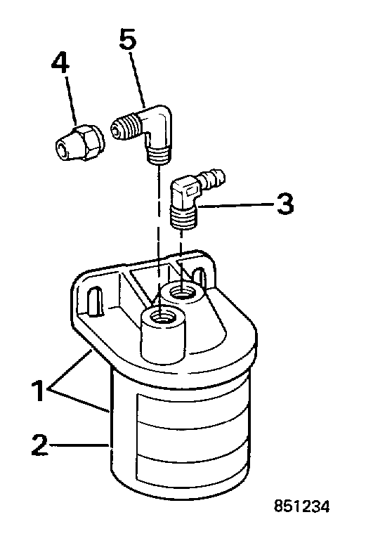
ТОПЛИВНЫЙ ФИЛЬТР | FUEL FILTER;


Лодочный мотор Evinrude BE250CXEUM 1997  - el Filter

Номер на
рисунке
АртикулНаименованиеКол-во
на складе
Цена
1 0395842

OMC Топливный фильтр в сборе. (OMC FUEL FILTER ASSY.)

нет в наличии, поставок нет
2 0502905

ELEMENT (ELEMENT)

нет в наличии, поставок нет
2 0174144

   (последний код) FUEL FILTER

нет в наличии, поставок нет
3 0909985

ELBOW (ELBOW)

нет в наличии, поставок нет
3 0174177

   (последний код) ELBOW KIT

нет в наличии, поставок нет
4 0303608

FLARE Гайка (FLARE NUT)

нет в наличии, поставок нет
5 0124511

ELBOW, 90o (ELBOW, 90o)

нет в наличии, поставок нет
evinrude

Время выполнения запроса 0.58194518089294 сек.


 
 

данный сайт носит информационный характер и не является публичной офертой

склад запчастей для водомоторной техники