вконтакте

Контактный телефон: +7 (981) 121-46-93, +7 (800) 200-90-76 , Email: parts-katalog@yandex.ru, где купить

 
 

  Логин:

Пароль:

Регистрация

www.partskatalog.ru Все каталоги Запчасти Mercury Запчасти Suzuki Запчасти Tohatsu Запчасти Honda Контакты


Все разделы каталога запчастей на этот двигатель

назад Раздел:   вперёд

вернуться к списку узлов и деталей

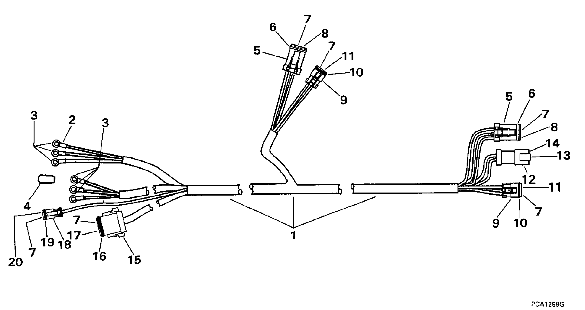
ДЕТАЛИРОВКА ДЛЯ МОДЕЛИ: EVINRUDE SE200WTPLS 1997

INSTRUMENT КАБЕЛИ - 20 ФУТ | INSTRUMENT CABLE - 20 FT.;


Лодочный мотор Эвинруд SE200WTPLS 1997  - 20 фут / 20 Ft.

Номер на
рисунке
АртикулНаименованиеКол-во
на складе
Цена
1 0176341

Кабели в сборе., 20 фут (CABLE ASSY., 20 ft.)

нет в наличии, поставок нет
2 0510781

Трубопровод (TUBING)

нет в наличии, поставок нет
3 0126663

Клемма, Кольцо (TERMINAL, Ring)

нет в наличии, поставок нет
3 0126960

   (последний код) TERMINAL,RING-#8

нет в наличии, поставок нет
4 0513186

Гильза (SLEEVE)

нет в наличии, поставок нет
4 3852248

   (последний код) SLEEVE,SKT-B

нет в наличии, поставок нет
5 0514687

Коннектор, 6-socket (CONNECTOR, 6-socket)

нет в наличии, поставок нет
6 0514790

Сальник (SEAL)

нет в наличии, поставок нет
7 0514680

Клемма, Socket (TERMINAL, Socket)

нет в наличии, поставок нет
8 0514683

LOCK WEDGE (LOCK WEDGE)

нет в наличии, поставок нет
9 0514685

Коннектор, 3-socket (CONNECTOR, 3-socket)

нет в наличии, поставок нет
10 0514789

Сальник (SEAL)

нет в наличии, поставок нет
11 0514681

LOCK WEDGE (LOCK WEDGE)

нет в наличии, поставок нет
12 0514688

Коннектор, 3-Штифт (CONNECTOR, 3-pin)

нет в наличии, поставок нет
13 0514679

Клемма, Штифт (TERMINAL, Pin)

нет в наличии, поставок нет
14 0514684

LOCK WEDGE (LOCK WEDGE)

нет в наличии, поставок нет
15 0176296

Коннектор, 8-socket (CONNECTOR, 8-socket)

нет в наличии, поставок нет
16 0514791

Сальник (SEAL)

нет в наличии, поставок нет
17 0127288

LOCK WEDGE (LOCK WEDGE)

нет в наличии, поставок нет
18 0176295

Коннектор, 2-socket (CONNECTOR, 2-socket)

нет в наличии, поставок нет
19 0514788

Сальник (SEAL)

нет в наличии, поставок нет
20 0127287

LOCK WEDGE (LOCK WEDGE)

нет в наличии, поставок нет
evinrude

Время выполнения запроса 0.71955108642578 сек.


 
 

данный сайт носит информационный характер и не является публичной офертой

склад запчастей для водомоторной техники