| |
Все разделы каталога запчастей на этот двигатель
вернуться к списку узлов и деталей ДЕТАЛИРОВКА ДЛЯ МОДЕЛИ: EVINRUDE HE130CXAUM 1997
РУЛЕВАЯ СИСТЕМА СОЕДИНИТЕЛЬ KIT | STEERING LINK KIT;
Номер на рисунке | Артикул | Наименование | Кол-во на складе | Цена |
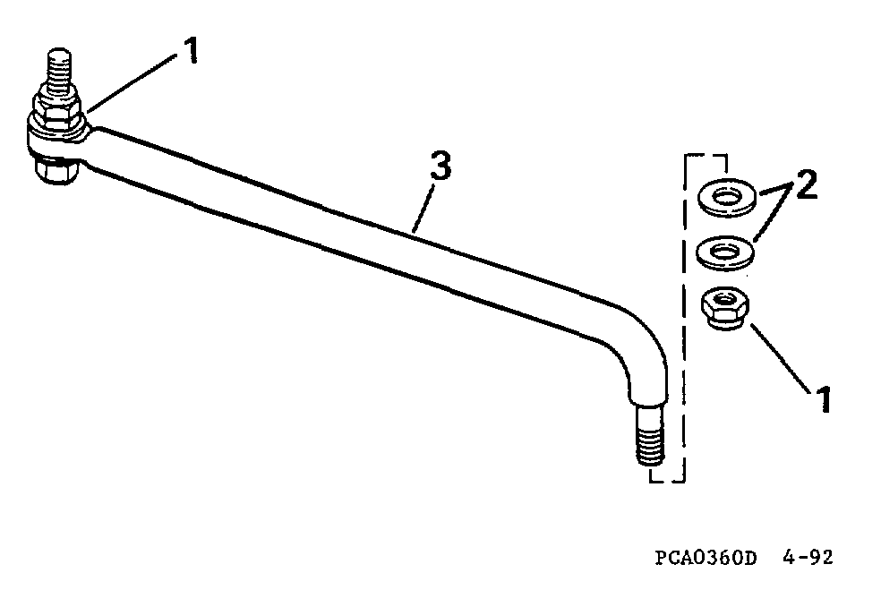
| 0175125 | 0175125 | Рулевая система Соединитель KIT, Stainless steel. Not Shown (STEERING LINK KIT, Stainless steel. Not Shown) | нет в наличии, поставок нет |
| 0175125 | 0175110 | (последний код) ROD AY, CONNECTOR | нет в наличии, поставок нет |
| 1 | 0315077 | LOCKГайка, Stainless steel (LOCKNUT, Stainless steel) | нет в наличии, поставок нет |
| 1 | 3852132 | (последний код) NUT,LOCK | нет в наличии, поставок нет |
| 2 | 0319453 | Шайба (WASHER) | нет в наличии, поставок нет |
| 2 | 3852155 | (последний код) WASHER | нет в наличии, поставок нет |
| 3 | 0175110 | Рулевая система Соединитель в сборе., Stainless steel (STEERING LINK ASSY., Stainless steel) | нет в наличии, поставок нет |

Время выполнения запроса 0.26589894294739 сек.
|
|