вконтакте

Контактный телефон: +7 (981) 121-46-93, +7 (800) 200-90-76 , Email: parts-katalog@yandex.ru, где купить

 
 

  Логин:

Пароль:

Регистрация

www.partskatalog.ru Все каталоги Запчасти Mercury Запчасти Suzuki Запчасти Tohatsu Запчасти Honda Контакты


Все разделы каталога запчастей на этот двигатель

назад Раздел:   вперёд

вернуться к списку узлов и деталей

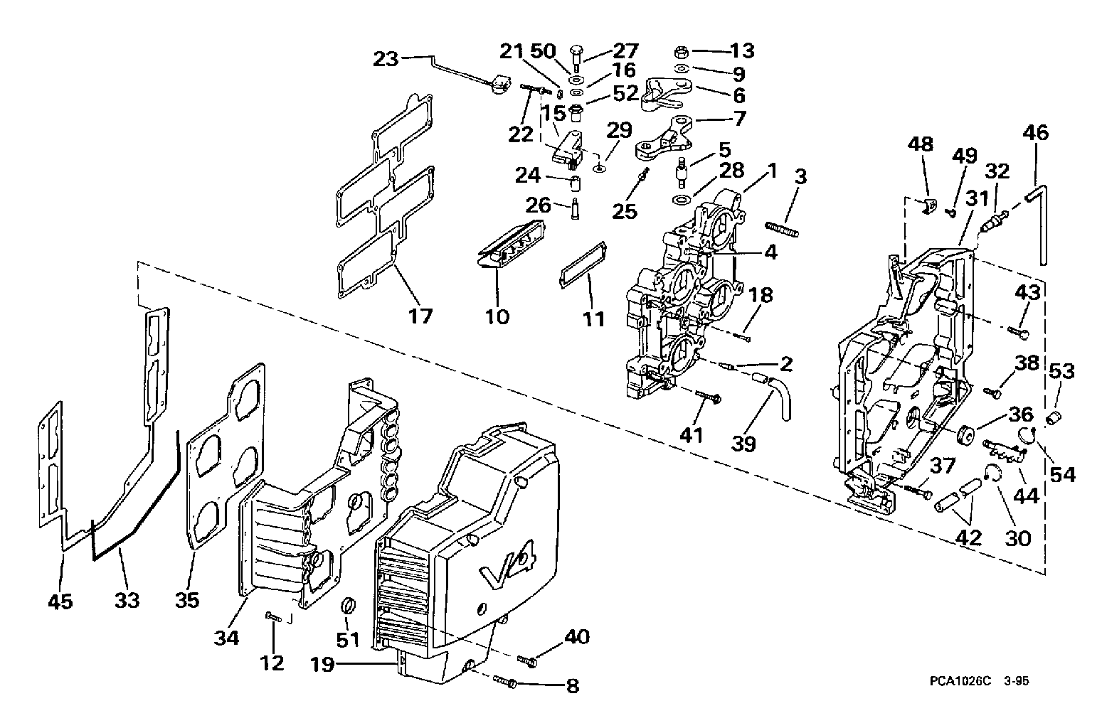
ДЕТАЛИРОВКА ДЛЯ МОДЕЛИ: EVINRUDE SE125RWYJ 1997

ВПУСКНОЙ КОЛЛЕКТОР | INTAKE MANIFOLD;


Двигатель EVINRUDE SE125RWYJ 1997  - take Коллектор - take Manifold

Номер на
рисунке
АртикулНаименованиеКол-во
на складе
Цена
1 0437337

Впускной коллектор в сборе. (INTAKE MANIFOLD ASSY.)

нет в наличии, поставок нет
1 0436856

   (последний код) MANIFOLD AY,INTAKE

нет в наличии, поставок нет
2 0325659

FITTING, Drain (FITTING, Drain)

нет в наличии, поставок нет
3 0310872

Шпилька (STUD)

нет в наличии, поставок нет
4 0328789

FITTING, Primer (FITTING, Primer)

нет в наличии, поставок нет
5 0333585

Шпилька, Кулачок дросселя (STUD, Throttle cam)

нет в наличии, поставок нет
6 0333973

CAM, Spark (CAM, Spark)

нет в наличии, поставок нет
7 0333974

Кулачок дросселя (CAM, Throttle)

нет в наличии, поставок нет
8 0331102

Винт, Крышка to Основание, long (SCREW, Cover to base, long)

нет в наличии, поставок нет
8 0329625

   (последний код) WING-SCREW

нет в наличии, поставок нет
9 0328708

Шайба, Spark cam (WASHER, Spark cam)

нет в наличии, поставок нет
10 0396201

REED BOX в сборе. (REED BOX ASSY.)

нет в наличии, поставок нет
10 0396072

   (последний код) REED BOX

нет в наличии, поставок нет
11 0328626

Прокладка, Leaf Пластина (GASKET, Leaf plate)

нет в наличии, поставок нет
12 0330838

Винт, Baffle (SCREW, Baffle)

нет в наличии, поставок нет
12 0329268

   (последний код) SCREW

нет в наличии, поставок нет
13 0315077

Гайка, Кулачок дросселя (NUT, Throttle cam)

нет в наличии, поставок нет
13 3852132

   (последний код) NUT,LOCK

нет в наличии, поставок нет
15 0341026

Рычаг, Spark (LEVER, Spark)

нет в наличии, поставок нет
16 0328708

Шайба, Винт to Рычаг (WASHER, Screw to lever)

нет в наличии, поставок нет
17 0328622

Прокладка коллектора to Картер двигателя (GASKET, Manifold to crankcase)

нет в наличии, поставок нет
18 0321707

Винт, Reed box (SCREW, Reed box)

нет в наличии, поставок нет
19 0436279

Крышка, Air Глушитель (COVER, Air silencer)

нет в наличии, поставок нет
19 0339108

   (последний код) COVER

нет в наличии, поставок нет
21 0309485

Гайка, Slide adjustment (NUT, Slide adjustment)

нет в наличии, поставок нет
21 0132520

   (последний код) NUT

нет в наличии, поставок нет
22 0333584

Штифт, Slide adjustment (PIN, Slide adjustment)

нет в наличии, поставок нет
23 0431822

Стержень Штифт & SLIDE (PIVOT PIN & SLIDE)

нет в наличии, поставок нет
24 0333589

Ролик, Spark Рычаг (ROLLER, Spark lever)

нет в наличии, поставок нет
25 0330121

Винт дросселя to spark cam (SCREW, Throttle to spark cam)

нет в наличии, поставок нет
25 0326186

   (последний код) SCREW

нет в наличии, поставок нет
26 0341022

Винт, Spark Рычаг Ролик (SCREW, Spark lever roller)

нет в наличии, поставок нет
27 0333591

Винт, Spark Рычаг (SCREW, Spark lever)

нет в наличии, поставок нет
28 0320744

Шайба, Шпилька (WASHER, Stud)

нет в наличии, поставок нет
28 0306124

   (последний код) WASHER

нет в наличии, поставок нет
29 0305940

Шайба, Рычаг to Картер двигателя (WASHER, Lever to crankcase)

нет в наличии, поставок нет
30 0320107

Крепёжный хомут (TIE STRAP)

нет в наличии, поставок нет
30 5035626

   (последний код) BAND,REM CON

нет в наличии, поставок нет
31 0432950

Основание, Air Глушитель (BASE, Air silencer)

нет в наличии, поставок нет
31 0334703

   (последний код) BASE-AIR-SIL

нет в наличии, поставок нет
32 0317121

FITTING, Vent (FITTING, Vent)

нет в наличии, поставок нет
33 0

Сальник, Крышка to Основание, 14 1 / 2 дюйм (363 мм) сокращёная длина from 50 фут (15, 2m) Roll, P / N 309044 (SEAL, Cover to base, 14 1/2 in. (363mm). Cut to Length from 50 ft. (15,2m) Roll, P/N 309044)

нет в наличии, поставок нет
34 0339109

BAFFLE, Air Корпус глушителя (BAFFLE, Air silencer cover)

нет в наличии, поставок нет
34 0331097

   (последний код) BAFFLE

нет в наличии, поставок нет
35 0339224

Сальник, Baffle to Карбюратор (SEAL, Baffle to carburetor)

нет в наличии, поставок нет
36 0329518

Пыльник, Основание to Шланг (GROMMET, Base to hose)

нет в наличии, поставок нет
36 3852195

   (последний код) GROMMET

нет в наличии, поставок нет
37 0314610

Воздушный винт Глушитель Основание, long (SCREW, Air silencer base, long)

нет в наличии, поставок нет
38 0328694

Воздушный винт Глушитель Основание, верхний (SCREW, Air silencer base, upper)

нет в наличии, поставок нет
38 0911122

   (последний код) SCREW

нет в наличии, поставок нет
39 0329695

Шланг, Air Глушитель drain (HOSE, Air silencer drain)

нет в наличии, поставок нет
40 0909533

Винт, Крышка to Основание (SCREW, Cover to base)

нет в наличии, поставок нет
40 0324429

   (последний код) SCREW,IMP HSG

нет в наличии, поставок нет
41 0307471

Винт, Коллектор, 1 3 / 8 дюйм (35 мм) (SCREW, Manifold, 1 3/8 in. (35mm))

нет в наличии, поставок нет
42 0331526

Шланг, Коллектор to #1 Карбюратор (HOSE, Manifold to #1 carburetor)

нет в наличии, поставок нет
42 0325881

   (последний код) HOSE

нет в наличии, поставок нет
42 0

Шланг, Коллектор to #2 carb., 5 1 / 2 дюйм (140 мм) сокращёная длина from 25 фут (7, 6m) Roll, P / N 327228 (HOSE, Manifold to #2 carb., 5 1/2 in. (140mm). Cut to Length from 25 ft. (7,6m) Roll, P/N 327228)

нет в наличии, поставок нет
42 0

Шланг, Коллектор to #3 carb., 13 дюйм (330 мм) сокращёная длина from 25 фут (7, 6m) Roll, P / N 327228 (HOSE, Manifold to #3 carb., 13 in. (330mm). Cut to Length from 25 ft. (7,6m) Roll, P/N 327228)

нет в наличии, поставок нет
42 0

Шланг, Коллектор to #4 carb., 4 дюйм (102 мм) сокращёная длина from 25 фут (7, 6m) Roll, P / N 327228 (HOSE, Manifold to #4 carb., 4 in. (102mm). Cut to Length from 25 ft. (7,6m) Roll, P/N 327228)

нет в наличии, поставок нет
43 0322831

Воздушный винт Глушитель Основание (SCREW, Air silencer base)

нет в наличии, поставок нет
44 0394385

FUEL Коллектор (FUEL MANIFOLD)

нет в наличии, поставок нет
45 0331101

Прокладка крышки to Основание (GASKET, Cover to base)

нет в наличии, поставок нет
46 0

Шланг, Подшипник vent, 18 1 / 2 дюйм (457 мм) сокращёная длина from 25 фут (7, 6m) Roll, P / N 327229 (HOSE, Bearing vent, 18 1/2 in. (457mm). Cut to Length from 25 ft. (7,6m) Roll, P/N 327229)

нет в наличии, поставок нет
48 0341513

TIMING POINTER, Впускной коллектор (TIMING POINTER, Intake manifold)

нет в наличии, поставок нет
48 0343985

   (последний код) POINTER,TIMING

нет в наличии, поставок нет
49 0328696

Винт, Timing pointer (SCREW, Timing pointer)

нет в наличии, поставок нет
50 0309020

Шайба, Spark Рычаг (WASHER, Spark lever)

нет в наличии, поставок нет
51 0339263

Сальник, Крышка to baffle (SEAL, Cover to baffle)

нет в наличии, поставок нет
52 0312676

TEE Гайка, Spark Рычаг (TEE NUT, Spark lever)

нет в наличии, поставок нет
53 0333264

Заглушка, Fuel Коллектор (PLUG, Fuel manifold)

нет в наличии, поставок нет
54 0320107

Крепёжный хомут (TIE STRAP)

нет в наличии, поставок нет
54 5035626

   (последний код) BAND,REM CON

нет в наличии, поставок нет
evinrude

Время выполнения запроса 1.7952311038971 сек.


 
 

данный сайт носит информационный характер и не является публичной офертой

склад запчастей для водомоторной техники