вконтакте

Контактный телефон: +7 (981) 121-46-93, +7 (800) 200-90-76 , Email: parts-katalog@yandex.ru, где купить

 
 

  Логин:

Пароль:

Регистрация

www.partskatalog.ru Все каталоги Запчасти Mercury Запчасти Suzuki Запчасти Tohatsu Запчасти Honda Контакты



УВАЖАЕМЫЕ КЛИЕНТЫ!
C 19 ДЕКАБРЯ 2025 ПО 02 МАРТА 2026 ГОДА ОТДЕЛ ЗАПЧАСТЕЙ И СЕРВИС РАБОТАТЬ НЕ БУДУТ
ПРОДАЖА ЛОДОЧНЫХ МОТОРОВ В ШТАТНОМ РЕЖИМЕ
ОБ ИЗМЕНЕНИЯХ В ГРАФИКЕ РАБОТЫ ЧИТАЙТЕ НА САЙТА




Все разделы каталога запчастей на этот двигатель

назад Раздел:   вперёд

вернуться к списку узлов и деталей

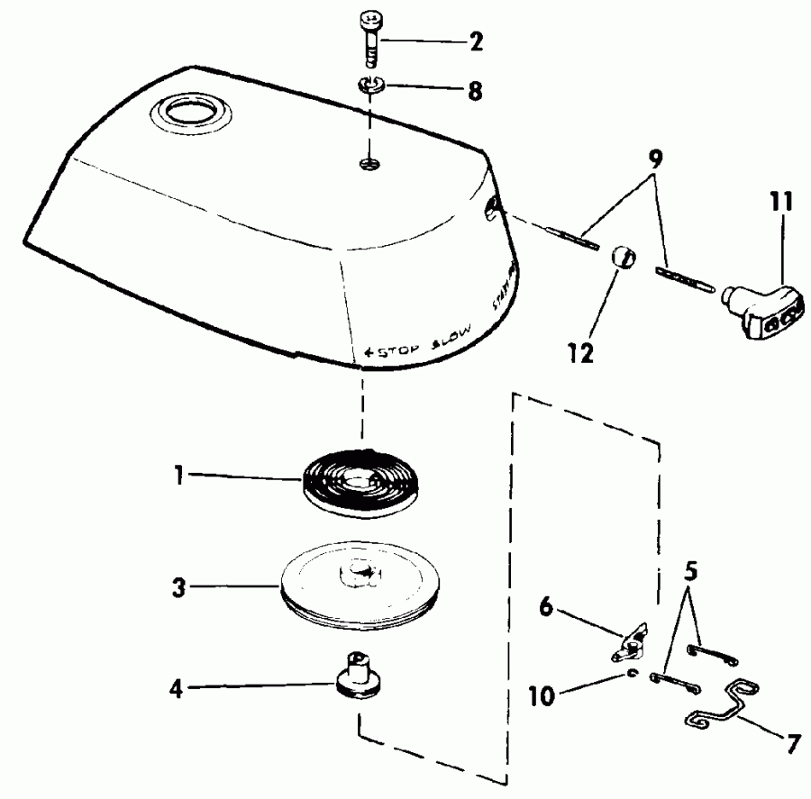
ДЕТАЛИРОВКА ДЛЯ МОДЕЛИ: EVINRUDE E90SLEUA 1997

НИЖНЯЯ КРЫШКА ДВИГАТЕЛЯ | LOWER ENGINE COVER;


Лодочный подвесной мотор Эвинруд E90SLEUA 1997  - wer Engine Cover / wer Крышка двигателя (капот)

Номер на
рисунке
АртикулНаименованиеКол-во
на складе
Цена
1 0308532

Втулка, Latch Рычаг (BUSHING, Latch lever)

нет в наличии, поставок нет
1 0122475

   (последний код) BUSHING

нет в наличии, поставок нет
2 0335632

Крышка, Anchor block (COVER, Anchor block)

нет в наличии, поставок нет
3 0335221

Винт, Нижняя часть корпуса (SCREW, Lower cover)

нет в наличии, поставок нет
3 0328715

   (последний код) SCREW

нет в наличии, поставок нет
4 0335570

Крючок спереди & rear (HOOK, Front & rear)

нет в наличии, поставок нет
5 0320107

Крепёжный хомут (TIE STRAP)

нет в наличии, поставок нет
5 5035626

   (последний код) BAND,REM CON

нет в наличии, поставок нет
6 0328584

Крепление нижнее Крышка (MOUNT, Lower cover)

нет в наличии, поставок нет
6 0349557

   (последний код) MOUNT

нет в наличии, поставок нет
7 0434646

Крышка двигателя (капот), Starboard (ENGINE COVER, Starboard)

нет в наличии, поставок нет
7 0433339

   (последний код) COVER AY,MOTOR

нет в наличии, поставок нет
8 0335500

Сальник, Stbd. (SEAL, Stbd.)

нет в наличии, поставок нет
9 0335345

Сальник, Electric Проводs (SEAL, Electric wires)

нет в наличии, поставок нет
10 0335846

Винт, Крышка, anchor block (SCREW, Cover, anchor block)

нет в наличии, поставок нет
11 0328725

Винт, Фиксатор (SCREW, Retainer)

нет в наличии, поставок нет
11 3852187

   (последний код) SCREW

нет в наличии, поставок нет
12 0307103

Сальник, Anchor block (SEAL, Anchor block)

нет в наличии, поставок нет
13 0329749

Шайба, Крепление (WASHER, Mount)

нет в наличии, поставок нет
13 0349556

   (последний код) WASHER

нет в наличии, поставок нет
14 0433514

LATCH HANDLE (LATCH HANDLE)

нет в наличии, поставок нет
15 0434645

Крышка двигателя (капот), Port (ENGINE COVER, Port)

нет в наличии, поставок нет
15 0433338

   (последний код) COVER AY,MOTOR-LWR

нет в наличии, поставок нет
16 0335499

Сальник, Port (SEAL, Port)

нет в наличии, поставок нет
17 0336225

Дренажный шланг (HOSE, Drain)

нет в наличии, поставок нет
18 0331977

EYELET, Drain Шланг (EYELET, Drain hose)

нет в наличии, поставок нет
19 0

Резинка капота двигателя, rear, нижний , 1.6 дюйм (38 мм) сокращёная длина from 331018 (SEAL, Engine cover, rear, lower, 1.6 in. (38 mm). Cut to Length from 331018)

нет в наличии, поставок нет
20 0

Резинка капота двигателя, rear, верхний , 4 дюйм (102 мм) сокращёная длина from 331018 (SEAL, Engine cover, rear, upper, 4 in. (102 mm). Cut to Length from 331018)

нет в наличии, поставок нет
21 0

Резинка капота двигателя, front, 7.25 дюйм (182 мм) сокращёная длина from 331018 (SEAL, Engine cover, front, 7.25 in. (182mm). Cut to Length from 331018)

нет в наличии, поставок нет
22 0335643

Бампер (BUMPER)

нет в наличии, поставок нет
23 0330234

Пружинная шайба, Latch handle (SPRING WASHER, Latch handle)

нет в наличии, поставок нет
24 0911429

Винт, Крышка (SCREW, Cover)

нет в наличии, поставок нет
24 0343505

   (последний код) SCREW

нет в наличии, поставок нет
25 0335631

Пыльник тросика управленияs (GROMMET, Control cables)

нет в наличии, поставок нет
26 0336634

Фиксатор, Пыльник (RETAINER, Grommet)

нет в наличии, поставок нет
27 0336383

Крышка, Fuel & electric (COVER, Fuel & electric)

нет в наличии, поставок нет
28 0336384

Пыльник, Fuel & electric (GROMMET, Fuel & electric)

нет в наличии, поставок нет
29 0335200

Винт, Handle to latch (SCREW, Handle to latch)

нет в наличии, поставок нет
29 3852212

   (последний код) SCREW

нет в наличии, поставок нет
30 0435273

Фиксатор, Fuel & electric (RETAINER, Fuel & electric)

нет в наличии, поставок нет
30 0335578

   (последний код) RETAINER,FUE

нет в наличии, поставок нет
31 0336545

Гильза, Braided (SLEEVE, Braided)

нет в наличии, поставок нет
evinrude

Время выполнения запроса 0.5064160823822 сек.


 
 

данный сайт носит информационный характер и не является публичной офертой

склад запчастей для водомоторной техники