вконтакте

Контактный телефон: +7 (981) 121-46-93, +7 (800) 200-90-76 , Email: parts-katalog@yandex.ru, где купить

 
 

  Логин:

Пароль:

Регистрация

www.partskatalog.ru Все каталоги Запчасти Mercury Запчасти Suzuki Запчасти Tohatsu Запчасти Honda Контакты


Все разделы каталога запчастей на этот двигатель

назад Раздел:   вперёд

вернуться к списку узлов и деталей

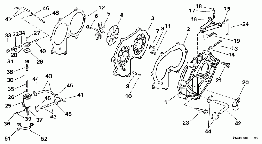
ДЕТАЛИРОВКА ДЛЯ МОДЕЛИ: EVINRUDE E25EEUB 1997

ВПУСКНОЙ КОЛЛЕКТОР | INTAKE MANIFOLD;


Подвесной мотор Эвинруд E25EEUB 1997  - take Коллектор - take Manifold

Номер на
рисунке
АртикулНаименованиеКол-во
на складе
Цена
1 0396788

Впускной коллектор. 25E, 25EL (MANIFOLD, Intake. 25E, 25EL)

нет в наличии, поставок нет
1 0396786

   (последний код) MANIFOLD 396788

нет в наличии, поставок нет
1 0396790

Впускной коллектор. 30E, 30EL (MANIFOLD, Intake. 30E, 30EL)

нет в наличии, поставок нет
1 0395626

   (последний код) INTAKE-MANIF

нет в наличии, поставок нет
1 0431628

Впускной коллектор. 20SE, 20SEL (MANIFOLD, Intake. 20SE, 20SEL)

нет в наличии, поставок нет
2 0326260

Прокладка коллектора. Included in Powerhead Комплект прокладок (GASKET, Manifold. Included in Powerhead Gasket Set)

нет в наличии, поставок нет
2 0321573

   (последний код) GASKET

нет в наличии, поставок нет
0437712 0437712

LEAF Пластина ASSEMBLY. Not Shown (LEAF PLATE ASSEMBLY. Not Shown)

нет в наличии, поставок нет
0437712 0398489

   (последний код) PLATE-AY

нет в наличии, поставок нет
3 0324318

Пластина, Leaf (PLATE, Leaf)

нет в наличии, поставок нет
3 0320155

   (последний код) LEAFPLATE

нет в наличии, поставок нет
4 0342054

LEAF Клапан (LEAF VALVE)

нет в наличии, поставок нет
4 0327221

   (последний код) LEAF-VALVE

нет в наличии, поставок нет
5 0336752

STOP, Leaf (STOP, Leaf)

нет в наличии, поставок нет
5 0331573

   (последний код) LEAF-STOP

нет в наличии, поставок нет
6 0301858

Винт, Leaf to Пластина (SCREW, Leaf to plate)

нет в наличии, поставок нет
7 0306546

Шайба с блокировкой, Leaf Винт (LOCK WASHER, Leaf screw)

нет в наличии, поставок нет
8 0306556

Гайка, Leaf Винт (NUT, Leaf screw)

нет в наличии, поставок нет
8 3852064

   (последний код) NUT

нет в наличии, поставок нет
9 0309466

Клапан, Drain (VALVE, Drain)

нет в наличии, поставок нет
10 0332612

Винт, Клапан (SCREW, Valve)

нет в наличии, поставок нет
11 0307609

Винт, Пластина to Картер двигателя (SCREW, Plate to crankcase)

нет в наличии, поставок нет
12 0321479

Прокладка, Пластина to Картер двигателя. Included in Powerhead Комплект прокладок (GASKET, Plate to crankcase. Included in Powerhead Gasket Set)

нет в наличии, поставок нет
13 0331449

Штифт, Cam folнижний (PIN, Cam follower)

нет в наличии, поставок нет
14 0315101

Втулка, Folнижний Штифт (BUSHING, Follower pin)

нет в наличии, поставок нет
14 0910272

   (последний код) BEARING

нет в наличии, поставок нет
15 0313329

Фиксатор, Соединитель to cam folнижний (RETAINER, Link to cam follower)

нет в наличии, поставок нет
16 0396154

CAM FOLнижний (CAM FOLLOWER)

нет в наличии, поставок нет
17 0305232

Ролик колпачка folнижний (ROLLER, Cam follower)

нет в наличии, поставок нет
18 0307529

Уплотнительное кольцо, Ролик to cam folнижний (O-RING, Roller to cam follower)

нет в наличии, поставок нет
19 0320157

Пружина, Cam folнижний (SPRING, Cam follower)

нет в наличии, поставок нет
20 0330151

Струбцина, Leads. 25E, 25EL 30E, 30EL (CLAMP, Leads. 25E, 25EL 30E, 30EL)

нет в наличии, поставок нет
20 3852199

   (последний код) CLAMP,"J"

нет в наличии, поставок нет
21 0304294

Винт, Коллектор to Картер двигателя (SCREW, Manifold to crankcase)

нет в наличии, поставок нет
23 0303459

Винт, Коллектор to Картер двигателя (SCREW, Manifold to crankcase)

нет в наличии, поставок нет
23 3852048

   (последний код) SCREW

нет в наличии, поставок нет
24 0330227

Соединитель, Карбюратор to cam folнижний (LINK, Carburetor to cam follower)

нет в наличии, поставок нет
25 0437237

Соленоид, в сборе., Primer (SOLENOID ASSY., Primer)

нет в наличии, поставок нет
25 5007356

   (последний код) KIT AY,PRMR SOL

нет в наличии, поставок нет
26 0511986

Пружина клапана (SPRING, Valve)

нет в наличии, поставок нет
27 0330121

Винт, Крышка to Корпус (SCREW, Cover to housing)

нет в наличии, поставок нет
27 0326186

   (последний код) SCREW

нет в наличии, поставок нет
28 0341073

Крышка, Primer solenoid (COVER, Primer solenoid)

нет в наличии, поставок нет
29 0341297

Прокладка, Solenoid (GASKET, Solenoid)

нет в наличии, поставок нет
30 0511809

Плунжер (PLUNGER)

нет в наличии, поставок нет
31 0332365

Фильтр, Клапан Корпус (FILTER, Valve housing)

нет в наличии, поставок нет
31 0511811

   (последний код) FILTER

нет в наличии, поставок нет
32 0175158

Рычаг & Клапан в сборе. (LEVER & VALVE ASSY.)

нет в наличии, поставок нет
33 0126341

Колпачок, Клапан (CAP, Valve)

нет в наличии, поставок нет
34 0331365

Уплотнительное кольцо, Ручной клапан (O-RING, Manual valve)

нет в наличии, поставок нет
34 0326721

   (последний код) O-RING

нет в наличии, поставок нет
35 0333447

Клапан, Плунжер (VALVE, Plunger)

нет в наличии, поставок нет
35 0511988

   (последний код) VALVE

нет в наличии, поставок нет
36 0512947

Клемма, Bullet (TERMINAL, Bullet)

нет в наличии, поставок нет
36 0910462

   (последний код) TERM.-60766-

нет в наличии, поставок нет
37 0510818

Клемма, Кольцо (TERMINAL, Ring)

нет в наличии, поставок нет
37 3854243

   (последний код) TERMINAL,RIN

нет в наличии, поставок нет
38 0511987

Пружина, Плунжер (SPRING, Plunger)

нет в наличии, поставок нет
39 0513185

Гильза (SLEEVE)

нет в наличии, поставок нет
39 0512948

   (последний код) SLEEVE

нет в наличии, поставок нет
40 0

Топливный шланг tee to primer, 3 дюйм (76 мм) сокращёная длина from 327228 -- 5 / 32 дюйм I.D., 25 фут (7, 6m) Roll 30E, 30EL (HOSE, Fuel tee to primer, 3 in. (76mm). Cut to Length from 327228 -- 5/32 in. I.D., 25 ft. (7,6m) Roll 30E, 30EL)

нет в наличии, поставок нет
40 0

Топливный шланг tee to primer, 8 дюйм (203 мм) сокращёная длина from 327228 -- 5 / 32 дюйм I.D., 25 фут (7, 6m) Roll 30E, 30EL (HOSE, Fuel tee to primer, 8 in. (203mm). Cut to Length from 327228 -- 5/32 in. I.D., 25 ft. (7,6m) Roll 30E, 30EL)

нет в наличии, поставок нет
41 0313537

TEE, Solenoid to Карбюратор (TEE, Solenoid to carburetor)

нет в наличии, поставок нет
42 0

Шланг, Коллектор to bypass Крышка, 12 дюйм (305 мм) сокращёная длина from 327229 -- 0.0575 дюйм I.D., 25 фут (7, 6m) Roll 30E, 30EL (HOSE, Manifold to bypass cover,12 in. (305mm). Cut to Length from 327229 -- 0.0575 in. I.D., 25 ft. (7,6m) Roll 30E, 30EL)

нет в наличии, поставок нет
43 0

Топливный шланг tee to carb., 6 1 / 4 дюйм (159 мм) сокращёная длина from 327228 -- 5 / 32 дюйм I.D., 25 фут (7, 6m) Roll (HOSE, Fuel tee to carb., 6 1/4 in. (159mm). Cut to Length from 327228 -- 5/32 in. I.D., 25 ft. (7,6m) Roll)

нет в наличии, поставок нет
44 0317893

Крепёжный хомут (TIE STRAP)

нет в наличии, поставок нет
44 3852149

   (последний код) TIE-STRAP

нет в наличии, поставок нет
45 0320107

Крепёжный хомут (TIE STRAP)

нет в наличии, поставок нет
45 5035626

   (последний код) BAND,REM CON

нет в наличии, поставок нет
46 0325569

TEE, Primer Шланг. 25E, 25EL 20SE, 20SEL (TEE, Primer hose. 25E, 25EL 20SE, 20SEL)

нет в наличии, поставок нет
47 0

Шланг, Primer tee to carb., 8 дюйм (203 мм) сокращёная длина from 327229 -- 0.0575 дюйм I.D., 25 фут (7, 6m) Roll 25E, 25EL 20SE, 20SEL (HOSE, Primer tee to carb., 8 in. (203mm). Cut to Length from 327229 -- 0.0575 in. I.D., 25 ft. (7,6m) Roll 25E, 25EL 20SE, 20SEL)

нет в наличии, поставок нет
48 0

Шланг, Tee to Коллектор, 2 1 / 4 дюйм (57 мм) сокращёная длина from 327229 -- 0.0575 дюйм I.D., 25 фут (7, 6m) Roll 25E, 25EL 20SE, 20SEL (HOSE, Tee to manifold, 2 1/4 in. (57mm). Cut to Length from 327229 -- 0.0575 in. I.D., 25 ft. (7,6m) Roll 25E, 25EL 20SE, 20SEL)

нет в наличии, поставок нет
49 0

Шланг, Primer to tee, 2 1 / 4 дюйм (57 мм) сокращёная длина from 327229 -- 0.0575 дюйм I.D., 25 фут (7, 6m) Roll 30E, 30EL (HOSE, Primer to tee, 2 1/4 in. (57mm). Cut to Length from 327229 -- 0.0575 in. I.D., 25 ft. (7,6m) Roll 30E, 30EL)

нет в наличии, поставок нет
49 0

Шланг, Primer to carb., 9 1 / 2 дюйм, (242 мм) сокращёная длина from 327229 -- 0.0575 дюйм I.D., 25 фут (7, 6m) Roll 30E, 30EL (HOSE, Primer to carb., 9 1/2 in., (242mm). Cut to Length from 327229 -- 0.0575 in. I.D., 25 ft. (7,6m) Roll 30E, 30EL)

нет в наличии, поставок нет
51 0329594

Винт зажима (SCREW, Clamp)

нет в наличии, поставок нет
52 0328907

Струбцина (CLAMP)

нет в наличии, поставок нет
52 0303740

   (последний код) YOKE

нет в наличии, поставок нет
evinrude

Время выполнения запроса 0.89912104606628 сек.


 
 

данный сайт носит информационный характер и не является публичной офертой

склад запчастей для водомоторной техники