вконтакте

Контактный телефон: +7 (981) 121-46-93, +7 (800) 200-90-76 , Email: parts-katalog@yandex.ru, где купить

 
 

  Логин:

Пароль:

Регистрация

www.partskatalog.ru Все каталоги Запчасти Mercury Запчасти Suzuki Запчасти Tohatsu Запчасти Honda Контакты


Все разделы каталога запчастей на этот двигатель

назад Раздел:   вперёд

вернуться к списку узлов и деталей

ДЕТАЛИРОВКА ДЛЯ МОДЕЛИ: EVINRUDE E25TELEUM 1997

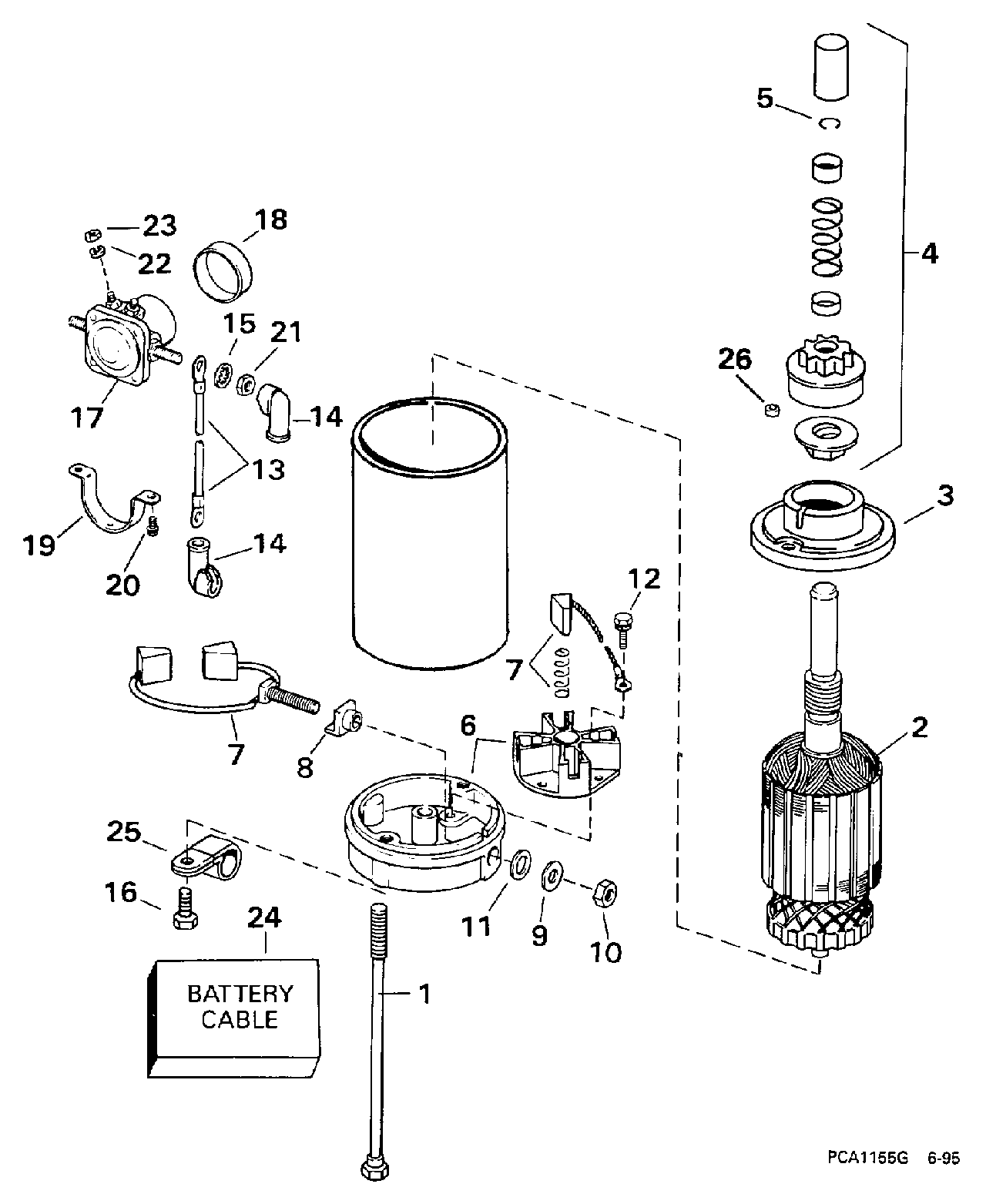
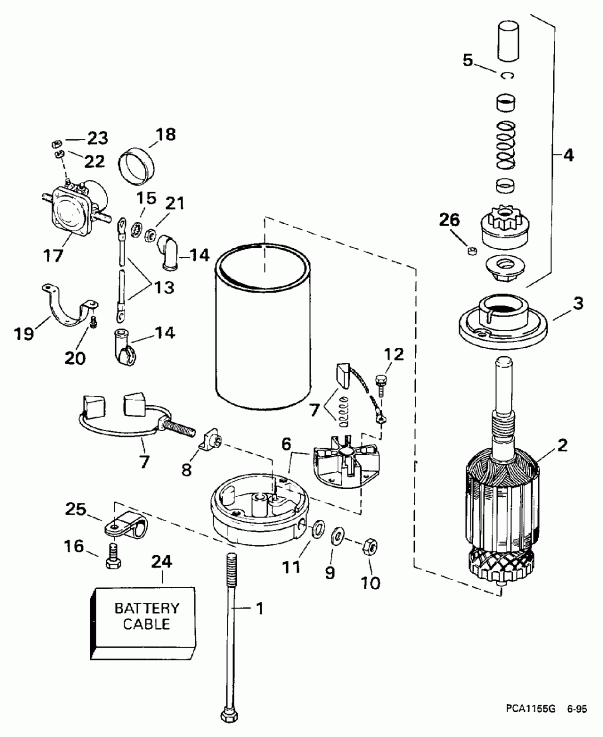
ЭЛЕКТРОСТАРТЕР & SOLENOID | ELECTRIC STARTER & SOLENOID;


Подвесной лодочный мотор Evinrude E25TELEUM 1997  - ectric Стартер & Solenoid / ectric Starter & Solenoid

Номер на
рисунке
АртикулНаименованиеКол-во
на складе
Цена
0585061 0585061

Двигатель стартера в сборе.. Not Shown (STARTER MOTOR ASSY.. Not Shown)

нет в наличии, поставок нет
0585061 0586278

   (последний код) MOTOR AY,STARTER

нет в наличии, поставок нет
1 0335857

THRU Болт PACKAGE (THRU BOLT PACKAGE)

нет в наличии, поставок нет
1 0387939

   (последний код) THRU-BOLT-PA

нет в наличии, поставок нет
2 0585271

Якорь в сборе. (ARMATURE ASSY.)

нет в наличии, поставок нет
3 0585268

Колпачок в сборе (CAP ASSY.)

нет в наличии, поставок нет
4 0586102

DRIVE в сборе. (DRIVE ASSY.)

нет в наличии, поставок нет
4 0585273

   (последний код) KIT-AY,DRIVE

нет в наличии, поставок нет
5 0342721

Кольцо, Стартер drive (RING, Starter drive)

нет в наличии, поставок нет
6 0585265

Колпачок в сборе, Commutator (CAP ASSY., Commutator)

нет в наличии, поставок нет
6 0387768

   (последний код) CAP

нет в наличии, поставок нет
7 0385952

Щётка & Пружина SET (BRUSH & SPRING SET)

нет в наличии, поставок нет
7 0387681

   (последний код) BRUSH & SCREW

нет в наличии, поставок нет
8 0316743

Втулка, Insulation (BUSHING, Insulation)

нет в наличии, поставок нет
9 0316749

Плоская шайба (WASHER, Plain)

нет в наличии, поставок нет
10 0328741

Гайка, Input Шпилька (NUT, Input stud)

нет в наличии, поставок нет
10 0304753

   (последний код) NUT

нет в наличии, поставок нет
11 0316748

Шайба, Insulation (WASHER, Insulation)

нет в наличии, поставок нет
12 0316746

Болт & Шайба с блокировкой (BOLT & LOCK WASHER)

нет в наличии, поставок нет
13 0388246

LEAD, Стартер to solenoid (LEAD, Starter to solenoid)

нет в наличии, поставок нет
13 0386721

   (последний код) FF-CABLE-AY

нет в наличии, поставок нет
14 0322815

Крышка, Кабели (COVER, Cable)

нет в наличии, поставок нет
14 0312970

   (последний код) COVER

нет в наличии, поставок нет
15 0331259

Шайба с блокировкой, Клемма (LOCK WASHER, Terminal)

нет в наличии, поставок нет
16 0312299

Винт струбцины тросика (SCREW, Cable clamp)

нет в наличии, поставок нет
17 0586180

Соленоид, в сборе. (SOLENOID ASSY.)

нет в наличии, поставок нет
17 0582708

   (последний код) SOLENOID AY,START

нет в наличии, поставок нет
18 0311217

Гильза, Solenoid (SLEEVE, Solenoid)

нет в наличии, поставок нет
19 0330112

Струбцина, Solenoid Креплениеing (CLAMP, Solenoid mounting)

нет в наличии, поставок нет
19 0311218

   (последний код) CLAMP

нет в наличии, поставок нет
20 0312889

Винт, Solenoid Креплениеing (SCREW, Solenoid mounting)

нет в наличии, поставок нет
20 0328724

   (последний код) SCREW

нет в наличии, поставок нет
21 0311349

Гайка, Клемма (NUT, Terminal)

нет в наличии, поставок нет
22 0304454

Шайба с блокировкой, Клемма (LOCK WASHER, Terminal)

нет в наличии, поставок нет
23 0306556

Гайка, Клемма (NUT, Terminal)

нет в наличии, поставок нет
23 3852064

   (последний код) NUT

нет в наличии, поставок нет
24 0584381

Кабель аккумулятора (BATTERY CABLE)

нет в наличии, поставок нет
24 0432911

   (последний код) CABLE-AY-BAT

нет в наличии, поставок нет
25 0317000

Зажим кабеля (CLAMP, Cable)

нет в наличии, поставок нет
25 0318190

   (последний код) CLAMP

нет в наличии, поставок нет
26 0304847

Сальник, Стартер Болт (SEAL, Starter bolt)

нет в наличии, поставок нет
evinrude

Время выполнения запроса 0.94305801391602 сек.


 
 

данный сайт носит информационный характер и не является публичной офертой

склад запчастей для водомоторной техники