вконтакте

Контактный телефон: +7 (981) 121-46-93, +7 (800) 200-90-76 , Email: parts-katalog@yandex.ru, где купить

 
 

  Логин:

Пароль:

Регистрация

www.partskatalog.ru Все каталоги Запчасти Mercury Запчасти Suzuki Запчасти Tohatsu Запчасти Honda Контакты



УВАЖАЕМЫЕ КЛИЕНТЫ!
C 31 ОКТЯБРЯ 2025 ПО 10 НОЯБРЯ 2025 ГОДА РАБОТАТЬ НЕ БУДЕМ




Все разделы каталога запчастей на этот двигатель

назад Раздел:   вперёд

вернуться к списку узлов и деталей

ДЕТАЛИРОВКА ДЛЯ МОДЕЛИ: EVINRUDE BE4BREUC 1997

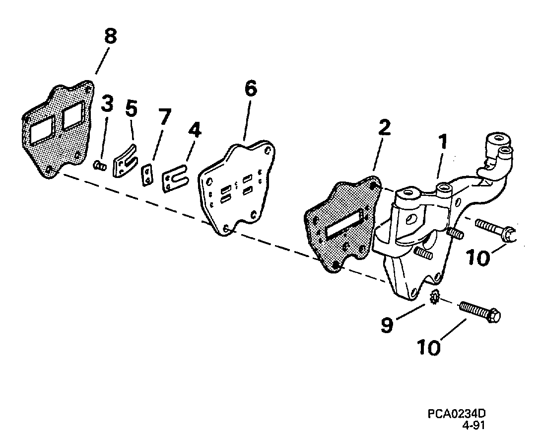
ВПУСКНОЙ КОЛЛЕКТОР | INTAKE MANIFOLD;


Подвесной мотор Эвинруд BE4BREUC 1997  - take Manifold / take Коллектор

Номер на
рисунке
АртикулНаименованиеКол-во
на складе
Цена
1 0433870

Впускной коллектор (MANIFOLD, Intake)

нет в наличии, поставок нет
2 0323444

Прокладка коллектора (GASKET, Manifold)

нет в наличии, поставок нет
0396396 0396396

LEAF Пластина в сборе.. Not Shown (LEAF PLATE ASSY.. Not Shown)

нет в наличии, поставок нет
3 0303764

Винт, Leaf to Пластина (SCREW, Leaf to plate)

нет в наличии, поставок нет
4 0314915

LEAF Клапан (LEAF VALVE)

нет в наличии, поставок нет
5 0323485

Пластина, Leaf backвыше (PLATE, Leaf backup)

нет в наличии, поставок нет
6 0322927

LEAF Пластина (LEAF PLATE)

нет в наличии, поставок нет
7 0330812

Регулировочная шайба, Leaf Пластина (SHIM, Leaf plate)

нет в наличии, поставок нет
8 0332057

Прокладка, Пластина to Картер двигателя (GASKET, Plate to crankcase)

нет в наличии, поставок нет
9 0328701

Шайба, Stop Переключатель Заземление (WASHER, Stop switch ground)

нет в наличии, поставок нет
9 3852182

   (последний код) WASHER,LOCK

нет в наличии, поставок нет
10 0333676

Винт, Коллектор to Картер двигателя (SCREW, Manifold to crankcase)

нет в наличии, поставок нет
10 3854923

   (последний код) SCREW

нет в наличии, поставок нет
evinrude

Время выполнения запроса 1.1044120788574 сек.


 
 

данный сайт носит информационный характер и не является публичной офертой

склад запчастей для водомоторной техники