вконтакте

Контактный телефон: +7 (981) 121-46-93, +7 (800) 200-90-76 , Email: parts-katalog@yandex.ru, где купить

 
 

  Логин:

Пароль:

Регистрация

www.partskatalog.ru Все каталоги Запчасти Mercury Запчасти Suzuki Запчасти Tohatsu Запчасти Honda Контакты


Все разделы каталога запчастей на этот двигатель

назад Раздел:   вперёд

вернуться к списку узлов и деталей

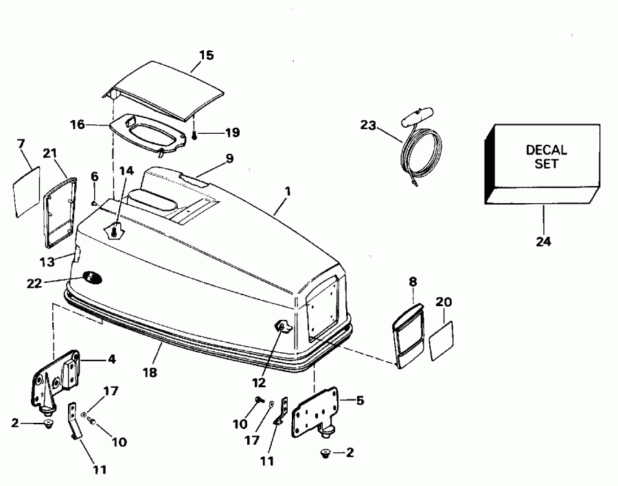
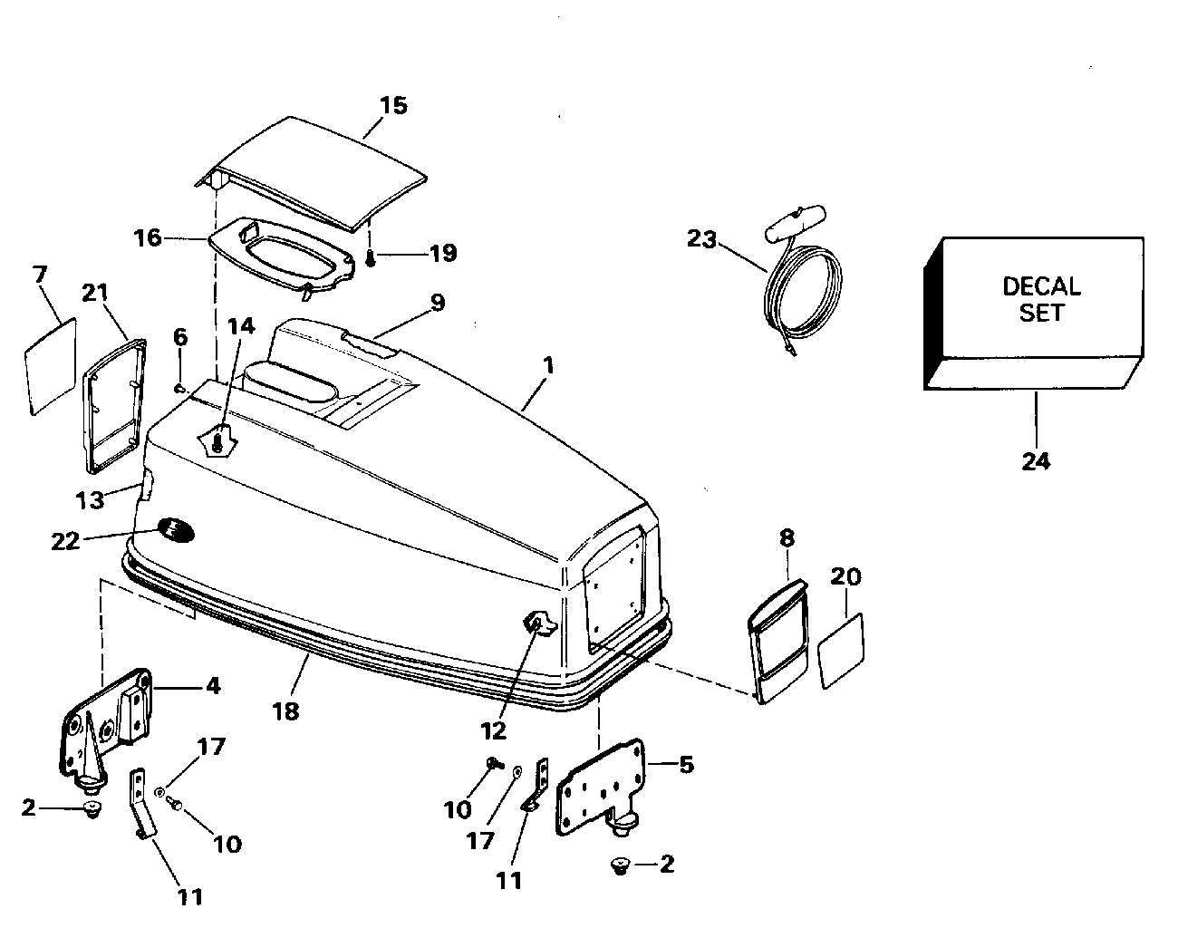
ДЕТАЛИРОВКА ДЛЯ МОДЕЛИ: EVINRUDE E40TEEDS 1996

КРЫШКА ДВИГАТЕЛЯ (КАПОТ) - EVINRUDE 40 | ENGINE COVER - EVINRUDE 40;


Подвесной двигатель EVINRUDE E40TEEDS 1996  - Evinrude 40 / Evinrude 40

Номер на
рисунке
АртикулНаименованиеКол-во
на складе
Цена
1 0284721

Крышка двигателя (капот) в сборе., 40EE - 40EL - 40TL 40TEE - 40TEL - 40TTL (ENGINE COVER ASSY.,. 40EE - 40EL - 40TL 40TEE - 40TEL - 40TTL)

нет в наличии, поставок нет
1 0285147

   (последний код) SVC-UMC AY EV 4

нет в наличии, поставок нет
2 0334432

Бампер, Locating Кронштейн (BUMPER, Locating bracket)

нет в наличии, поставок нет
4 0333939

LOCATING Кронштейн, Rear (LOCATING BRACKET, Rear)

нет в наличии, поставок нет
5 0333938

LOCATING Кронштейн, Front (LOCATING BRACKET, Front)

нет в наличии, поставок нет
6 0326948

Заклёпка, Locating Кронштейн (RIVET, Locating bracket)

нет в наличии, поставок нет
6 0331881

   (последний код) RIVET

нет в наличии, поставок нет
7 0212770

Пластина, Rear. 40EE - 40EL - 40TL 40TEE - 40TEL - 40TTL (PLATE, Rear. 40EE - 40EL - 40TL 40TEE - 40TEL - 40TTL)

нет в наличии, поставок нет
8 0210971

Рама, Front (FRAME, Front)

нет в наличии, поставок нет
9 0341531

SOUND BLANKET, Top (SOUND BLANKET, Top)

нет в наличии, поставок нет
9 0316543

   (последний код) SOUND BLKT

нет в наличии, поставок нет
10 0305284

Винт, Крючок to Кронштейн (SCREW, Hook to bracket)

нет в наличии, поставок нет
10 0908158

   (последний код) SCREW

нет в наличии, поставок нет
11 0323176

Крючок, Кронштейн (HOOK, Bracket)

нет в наличии, поставок нет
11 0315191

   (последний код) HOOK

нет в наличии, поставок нет
12 0317223

Защелка, Applique (FASTENER, Applique)

нет в наличии, поставок нет
13 0341532

SOUND BLANKET, Side (SOUND BLANKET, Side)

нет в наличии, поставок нет
13 0316544

   (последний код) SOUND BLKT

нет в наличии, поставок нет
14 0323228

Винт, Рукоятка наклона, rear (SCREW, Tilt handle, rear)

нет в наличии, поставок нет
15 0208181

Рукоятка наклона (TILT HANDLE)

нет в наличии, поставок нет
16 0210296

BAFFLE, Рукоятка наклона (BAFFLE, Tilt handle)

нет в наличии, поставок нет
17 0313079

Шайба, Крючок to Кронштейн (WASHER, Hook to bracket)

нет в наличии, поставок нет
18 0211111

Резинка капота двигателя (SEAL, Engine cover)

нет в наличии, поставок нет
19 0323229

Винт, Рукоятка наклона, front (SCREW, Tilt handle, front)

нет в наличии, поставок нет
20 0212769

Пластина, Applique. 40EE - 40EL - 40TL 40TEE - 40TEL - 40TTL (PLATE, Applique. 40EE - 40EL - 40TL 40TEE - 40TEL - 40TTL)

нет в наличии, поставок нет
21 0210972

Рама, Rear (FRAME, Rear)

нет в наличии, поставок нет
22 0212497

LENS, Ev., port & stbd.. 40EE - 40EL - 40TL 40TEE - 40TEL - 40TTL (LENS, Ev., port & stbd.. 40EE - 40EL - 40TL 40TEE - 40TEL - 40TTL)

нет в наличии, поставок нет
22 0212687

   (последний код) LENS,EV-LOGO

нет в наличии, поставок нет
23 0378347

Шнур стартера (STARTER ROPE)

нет в наличии, поставок нет
24 0284830

Комплект наклеек. 40EE - 40EL - 40TL 40TEE - 40TEL - 40TTL (DECAL SET. 40EE - 40EL - 40TL 40TEE - 40TEL - 40TTL)

нет в наличии, поставок нет
evinrude

Время выполнения запроса 0.91910099983215 сек.


 
 

данный сайт носит информационный характер и не является публичной офертой

склад запчастей для водомоторной техники