вконтакте

Контактный телефон: +7 (981) 121-46-93, +7 (800) 200-90-76 , Email: parts-katalog@yandex.ru, где купить

 
 

  Логин:

Пароль:

Регистрация

www.partskatalog.ru Все каталоги Запчасти Mercury Запчасти Suzuki Запчасти Tohatsu Запчасти Honda Контакты


Все разделы каталога запчастей на этот двигатель

назад Раздел:   вперёд

вернуться к списку узлов и деталей

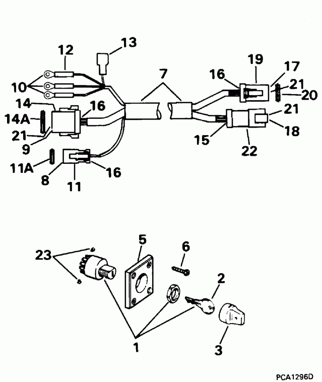
ДЕТАЛИРОВКА ДЛЯ МОДЕЛИ: EVINRUDE E50JEDS 1996

IGNITION ПЕРЕКЛЮЧАТЕЛЬ & КАБЕЛИ - 40TE, 40TTL | IGNITION SWITCH & CABLE - 40TE, 40TTL;


Мотор Evinrude E50JEDS 1996  - 40te, 40ttl - 40te, 40ttl

Номер на
рисунке
АртикулНаименованиеКол-во
на складе
Цена
1 0584600

Переключатель & Ключ в сборе. (SWITCH & KEY ASSY.)

нет в наличии, поставок нет
1 0175321

   (последний код) SWITCH&KEY AY

нет в наличии, поставок нет
2 0322693

Ключ BLANK. See Parts & Аксессуары Catalog для Ключ OrdeКольцо Inдляmation (KEY BLANK. See Parts & Accessories Catalog for Key Ordering Information)

нет в наличии, поставок нет
3 0332179

PUSH Ручка (PUSH KNOB)

нет в наличии, поставок нет
5 0174653

BEZEL KIT (BEZEL KIT)

нет в наличии, поставок нет
6 0125308

Винт, Bezel (SCREW, Bezel)

нет в наличии, поставок нет
7 0176418

Кабели в сборе. (CABLE ASSY.)

нет в наличии, поставок нет
8 0127287

LOCK WEDGE, 2-socket (LOCK WEDGE, 2-socket)

нет в наличии, поставок нет
9 0127288

LOCK WEDGE, 8-socket (LOCK WEDGE, 8-socket)

нет в наличии, поставок нет
10 0126960

Кольцо Клемма (RING TERMINAL)

нет в наличии, поставок нет
10 0126663

   (последний код) TERMINAL

нет в наличии, поставок нет
11 0176295

Коннектор, 2-socket (CONNECTOR, 2-socket)

нет в наличии, поставок нет
11A 0514788

Сальник (SEAL)

нет в наличии, поставок нет
12 0512136

Трубопровод (TUBING)

нет в наличии, поставок нет
13 0123975

Крышка (COVER)

нет в наличии, поставок нет
14 0176296

Коннектор, 8-socket (CONNECTOR, 8-socket)

нет в наличии, поставок нет
14A 0514791

Сальник (SEAL)

нет в наличии, поставок нет
15 0514679

Клемма, Штифт (TERMINAL, Pin)

нет в наличии, поставок нет
16 0514680

Клемма, Socket (TERMINAL, Socket)

нет в наличии, поставок нет
17 0514683

LOCK WEDGE, 6-socket (LOCK WEDGE, 6-socket)

нет в наличии, поставок нет
18 0514684

LOCK WEDGE, 6-Штифт (LOCK WEDGE, 6-pin)

нет в наличии, поставок нет
19 0514687

Коннектор, 6-socket (CONNECTOR, 6-socket)

нет в наличии, поставок нет
20 0514790

Сальник (SEAL)

нет в наличии, поставок нет
21 0514690

Заглушка (PLUG)

нет в наличии, поставок нет
22 0514688

Коннектор, 6-Штифт (CONNECTOR, 6-pin)

нет в наличии, поставок нет
23 0306559

Винт, Ignition leads (SCREW, Ignition leads)

нет в наличии, поставок нет
evinrude

Время выполнения запроса 1.4098038673401 сек.


 
 

данный сайт носит информационный характер и не является публичной офертой

склад запчастей для водомоторной техники