вконтакте

Контактный телефон: +7 (981) 121-46-93, +7 (800) 200-90-76 , Email: parts-katalog@yandex.ru, где купить

 
 

  Логин:

Пароль:

Регистрация

www.partskatalog.ru Все каталоги Запчасти Mercury Запчасти Suzuki Запчасти Tohatsu Запчасти Honda Контакты


Все разделы каталога запчастей на этот двигатель

назад Раздел:   вперёд

вернуться к списку узлов и деталей

ДЕТАЛИРОВКА ДЛЯ МОДЕЛИ: EVINRUDE E40JREDC 1996

КРЫШКА ДВИГАТЕЛЯ (КАПОТ) - JOHNSON | ENGINE COVER - JOHNSON;


Подвесной двигатель EVINRUDE E40JREDC 1996  - Johnson

Номер на
рисунке
АртикулНаименованиеКол-во
на складе
Цена
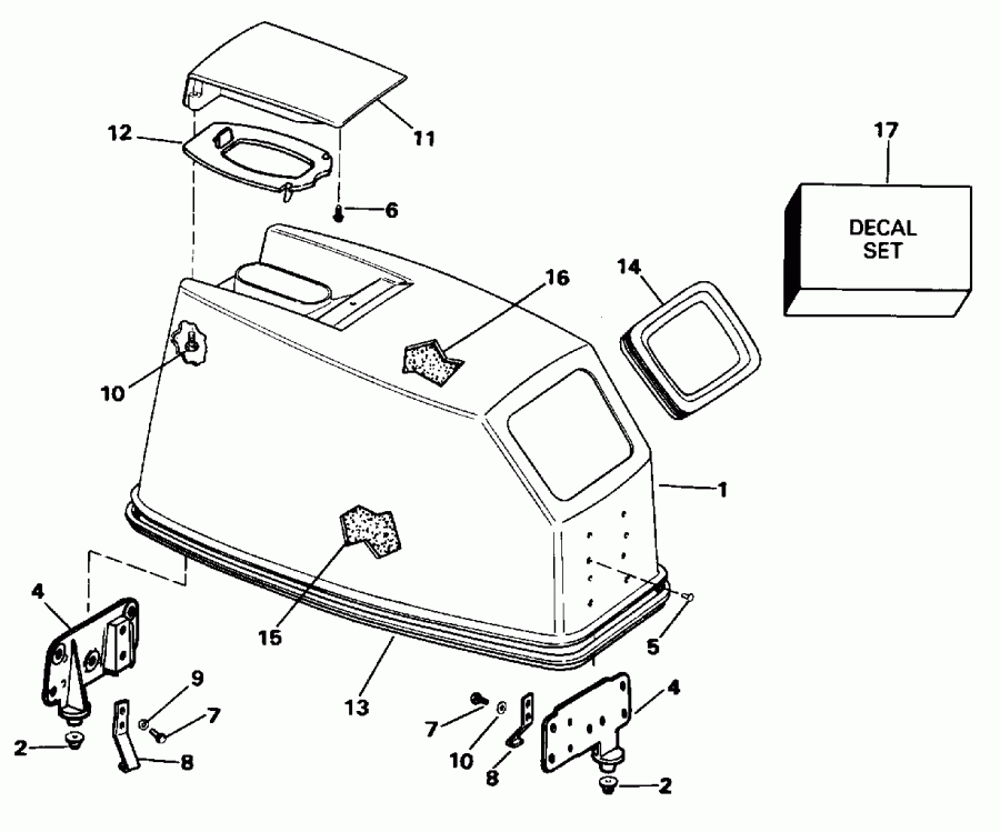
1 0437715

Крышка двигателя (капот) в сборе. (ENGINE COVER ASSY.)

нет в наличии, поставок нет
1 0438338

   (последний код) COVER AY,MOTOR-UPR

нет в наличии, поставок нет
2 0334432

Бампер, Locating Кронштейн (BUMPER, Locating bracket)

нет в наличии, поставок нет
4 0333937

LOCATING Кронштейн (LOCATING BRACKET)

нет в наличии, поставок нет
5 0326948

Заклёпка, Locating Кронштейн (RIVET, Locating bracket)

нет в наличии, поставок нет
5 0331881

   (последний код) RIVET

нет в наличии, поставок нет
6 0323229

Винт, Рукоятка наклона, front (SCREW, Tilt handle, front)

нет в наличии, поставок нет
7 0305284

Винт, Крючок to Кронштейн (SCREW, Hook to bracket)

нет в наличии, поставок нет
7 0908158

   (последний код) SCREW

нет в наличии, поставок нет
8 0340944

Крючок, Кронштейн (HOOK, Bracket)

нет в наличии, поставок нет
9 0313079

Шайба, Крючок to Кронштейн (WASHER, Hook to bracket)

нет в наличии, поставок нет
10 0323228

Винт, Рукоятка наклона, rear (SCREW, Tilt handle, rear)

нет в наличии, поставок нет
11 0333090

Рукоятка наклона (TILT HANDLE)

нет в наличии, поставок нет
12 0210296

BAFFLE, Рукоятка наклона (BAFFLE, Tilt handle)

нет в наличии, поставок нет
13 0211111

Сальник, Крышка (SEAL, Cover)

нет в наличии, поставок нет
14 0332025

Сальник, Крышка Кронштейн (SEAL, Cover bracket)

нет в наличии, поставок нет
14 0330790

   (последний код) 2277B5034

нет в наличии, поставок нет
15 0341532

SOUND BLANKET, Side (SOUND BLANKET, Side)

нет в наличии, поставок нет
15 0316544

   (последний код) SOUND BLKT

нет в наличии, поставок нет
16 0341533

SOUND BLANKET, Top (SOUND BLANKET, Top)

нет в наличии, поставок нет
16 0334309

   (последний код) SOUND-BLKT

нет в наличии, поставок нет
17 0437759

Комплект наклеек (DECAL SET)

нет в наличии, поставок нет
evinrude

Время выполнения запроса 0.95080494880676 сек.


 
 

данный сайт носит информационный характер и не является публичной офертой

склад запчастей для водомоторной техники