вконтакте

Контактный телефон: +7 (981) 121-46-93, +7 (800) 200-90-76 , Email: parts-katalog@yandex.ru, где купить

 
 

  Логин:

Пароль:

Регистрация

www.partskatalog.ru Все каталоги Запчасти Mercury Запчасти Suzuki Запчасти Tohatsu Запчасти Honda Контакты



УВАЖАЕМЫЕ КЛИЕНТЫ!
C 19 ДЕКАБРЯ 2025 ПО 02 МАРТА 2026 ГОДА ОТДЕЛ ЗАПЧАСТЕЙ И СЕРВИС РАБОТАТЬ НЕ БУДУТ
ПРОДАЖА ЛОДОЧНЫХ МОТОРОВ В ШТАТНОМ РЕЖИМЕ
ОБ ИЗМЕНЕНИЯХ В ГРАФИКЕ РАБОТЫ ЧИТАЙТЕ НА САЙТА




Все разделы каталога запчастей на этот двигатель

назад Раздел:   вперёд

вернуться к списку узлов и деталей

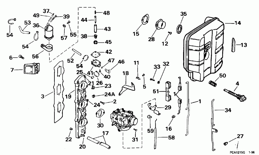
ДЕТАЛИРОВКА ДЛЯ МОДЕЛИ: EVINRUDE BE25KLEDC 1996

ВПУСКНОЙ КОЛЛЕКТОР | INTAKE MANIFOLD;


Подвесной мотор Evinrude BE25KLEDC 1996  - take Manifold / take Коллектор

Номер на
рисунке
АртикулНаименованиеКол-во
на складе
Цена
1 0436472

Соединитель в сборе., верх и низ. "C" Suffix Models Only (LINK ASSY., Upper & lower. "C" Suffix Models Only)

нет в наличии, поставок нет
1 0438231

Тяга дросселя. G" Suffix Models Only (LINK, Throttle. G" Suffix Models Only)

нет в наличии, поставок нет
2 0337244

Винт, Коллектор to Картер двигателя, M6 (SCREW, Manifold to crankcase, M6)

нет в наличии, поставок нет
3 0339427

Прокладка, Block to Коллектор. Included in Powerhead Комплект прокладок (GASKET, Block to manifold. Included in Powerhead Gasket Set)

нет в наличии, поставок нет
4 0340130

Ручка (KNOB)

нет в наличии, поставок нет
5 0327074

Винт, Timing pointer (SCREW, Timing pointer)

нет в наличии, поставок нет
5 0307129

   (последний код) SCREW

нет в наличии, поставок нет
6 0339432

Винт, Reed box to Система впуска, M5 (SCREW, Reed box to intake, M5)

нет в наличии, поставок нет
7 0438505

REED BOX ASSEMBLY (REED BOX ASSEMBLY)

нет в наличии, поставок нет
7 0438610

   (последний код) BOX AY,REED

нет в наличии, поставок нет
7 0438504

REED BOX ASSEMBLY. 25 Models with "B" Prefix Only (REED BOX ASSEMBLY. 25 Models with "B" Prefix Only)

нет в наличии, поставок нет
7 0438611

   (последний код) BOX AY,REED

нет в наличии, поставок нет
11 0340055

TIMING POINTER (TIMING POINTER)

нет в наличии, поставок нет
12 0343107

Винт, Adapter to Карбюратор (SCREW, Adapter to carburetor)

нет в наличии, поставок нет
13 0342573

Проставка (SPACER)

нет в наличии, поставок нет
14 0436673

AIR Глушитель в сборе. (AIR SILENCER ASSY.)

нет в наличии, поставок нет
15 0341055

Прокладка, Adapter (GASKET, Adapter)

нет в наличии, поставок нет
16 0318165

Фиксатор, Соединитель to Карбюратор (RETAINER, Link to carburetor)

нет в наличии, поставок нет
17 0

Шланг, Air Глушитель drain, 5 1 / 2 дюйм (140 мм) сокращёная длина from 335738, 156 дюйм I.D. ## сокращёная длина from 341088, 093 дюймI.D., 25 фут (7, 6m) Roll (HOSE, Air silencer drain, 5 1/2 in. (140mm). Cut to Length from 335738, .156 in. I.D. ## Cut to Length from 341088, . 093 in.I.D., 25 ft. (7,6m) Roll)

нет в наличии, поставок нет
18 0342282

Кронштейн, Timing pointer (BRACKET, Timing pointer)

нет в наличии, поставок нет
19 0438077

Впускной коллектор в сборе. (INTAKE MANIFOLD ASSY.)

нет в наличии, поставок нет
19 0437000

   (последний код) MANIFOLD AY,INTAKE

нет в наличии, поставок нет
20 0325659

Ниппель, Коллектор (NIPPLE, Manifold)

нет в наличии, поставок нет
21 0327706

Ниппель, Primer (NIPPLE, Primer)

нет в наличии, поставок нет
22 0437773

Обратный клапан, Recirc., #3 (CHECK VALVE, Recirc., #3)

нет в наличии, поставок нет
22 0437613

   (последний код) VALVE AY,CHECK

нет в наличии, поставок нет
23 0339094

ELBOW, Recirc., Коллектор (ELBOW, Recirc., manifold)

нет в наличии, поставок нет
24 0437708

MAINTENANCE Клапан в сборе. (MAINTENANCE VALVE ASSY.)

нет в наличии, поставок нет
24A 0126341

Колпачок, Maintenance Клапан (CAP, Maintenance valve)

нет в наличии, поставок нет
25 0327227

Колпачок, Primer Ниппель. Шнур Models AC Models TEL Models (CAP, Primer nipple. Rope Models AC Models TEL Models)

нет в наличии, поставок нет
26 0317893

Крепёжный хомут. Шнур Models AC Models TEL Models (TIE STRAP. Rope Models AC Models TEL Models)

нет в наличии, поставок нет
26 3852149

   (последний код) TIE-STRAP

нет в наличии, поставок нет
27 0318165

Фиксатор, Choke Соединитель. Шнур Models AC Models TEL Models (RETAINER, Choke link. Rope Models AC Models TEL Models)

нет в наличии, поставок нет
28 0341054

ADAPTER (ADAPTER)

нет в наличии, поставок нет
29 0341059

CHOKE Кабели Кронштейн. Шнур Models AC Models TEL Models (CHOKE CABLE BRACKET. Rope Models AC Models TEL Models)

нет в наличии, поставок нет
30 0340461

Прокладка карбюратора. Included in Powerhead Комплект прокладок (GASKET, Carburetor. Included in Powerhead Gasket Set)

нет в наличии, поставок нет
31 0340002

Винт, Карбюратор Креплениеing, M6 (SCREW, Carburetor mounting, M6)

нет в наличии, поставок нет
32 0335753

Шайба, Соединитель Винт. "C" Suffix Models Only (WASHER, Link screw. "C" Suffix Models Only)

нет в наличии, поставок нет
32 0334823

   (последний код) WASHER

нет в наличии, поставок нет
33 0341619

Винт дросселя Соединитель. "C" Suffix Models Only (SCREW, Throttle link. "C" Suffix Models Only)

нет в наличии, поставок нет
34 0437028

Соединитель, Choke. Шнур Models AC Models TEL Models (LINK, Choke. Rope Models AC Models TEL Models)

нет в наличии, поставок нет
35 0340384

Сальник, Air Глушитель (SEAL, Air silencer)

нет в наличии, поставок нет
36 0437236

Соленоид, в сборе., Primer. Remote TNT Models (SOLENOID ASSY., Primer. Remote TNT Models)

нет в наличии, поставок нет
36 0437027

   (последний код) SOLENOID AY,PRIMER

нет в наличии, поставок нет
37 0512947

Клемма (TERMINAL)

нет в наличии, поставок нет
37 0910462

   (последний код) TERM.-60766-

нет в наличии, поставок нет
38 0511986

Пружина клапана (SPRING, Valve)

нет в наличии, поставок нет
39 0501818

Клемма, Кольцо, 1 / 4 дюйм (TERMINAL, Ring, 1/4 in.)

нет в наличии, поставок нет
40 0330121

Винт, Крышка to Корпус (SCREW, Cover to housing)

нет в наличии, поставок нет
40 0326186

   (последний код) SCREW

нет в наличии, поставок нет
41 0341073

Крышка, Primer solenoid (COVER, Primer solenoid)

нет в наличии, поставок нет
42 0341297

Прокладка, Solenoid (GASKET, Solenoid)

нет в наличии, поставок нет
43 0511809

Плунжер (PLUNGER)

нет в наличии, поставок нет
44 0333447

Клапан, Плунжер (VALVE, Plunger)

нет в наличии, поставок нет
44 0511988

   (последний код) VALVE

нет в наличии, поставок нет
45 0332365

Фильтр, Клапан Корпус (FILTER, Valve housing)

нет в наличии, поставок нет
45 0511811

   (последний код) FILTER

нет в наличии, поставок нет
46 0511812

Рычаг & Клапан (LEVER & VALVE)

нет в наличии, поставок нет
47 0331365

Уплотнительное кольцо, Ручной клапан (O-RING, Manual valve)

нет в наличии, поставок нет
47 0326721

   (последний код) O-RING

нет в наличии, поставок нет
48 0511987

Пружина, Плунжер (SPRING, Plunger)

нет в наличии, поставок нет
49 0513185

Гильза (SLEEVE)

нет в наличии, поставок нет
49 0512948

   (последний код) SLEEVE

нет в наличии, поставок нет
50 0340129

Пружина, Ручка (SPRING, Knob)

нет в наличии, поставок нет
51 0340075

Соединитель, Middle Карбюратор. "C" Suffix Models Only (LINK, Middle carburetor. "C" Suffix Models Only)

нет в наличии, поставок нет
52 0

Шланг, Primer solenoid to Система впуска, 11 1 / 2 дюйм 292 мм) Remote TNT Models (HOSE, Primer solenoid to intake, 11 1/2 in. 292mm). Remote TNT Models)

нет в наличии, поставок нет
53 0341203

Шланг, Tee to primer. Remote TNT Models (HOSE, Tee to primer. Remote TNT Models)

нет в наличии, поставок нет
54 0317893

Крепёжный хомут (TIE STRAP)

нет в наличии, поставок нет
54 3852149

   (последний код) TIE-STRAP

нет в наличии, поставок нет
55 0338562

Винт, Primer solenoid to pwhd., M6. Remote TNT Models (SCREW, Primer solenoid to pwhd., M6. Remote TNT Models)

нет в наличии, поставок нет
56 0910201

Струбцина, Primer solenoid. Remote TNT Models (CLAMP, Primer solenoid. Remote TNT Models)

нет в наличии, поставок нет
56 3852490

   (последний код) CLAMP

нет в наличии, поставок нет
57 0328701

Шайба с блокировкой, Solenoid grd.. Remote TNT Models (LOCK WASHER, Solenoid grd.. Remote TNT Models)

нет в наличии, поставок нет
57 3852182

   (последний код) WASHER,LOCK

нет в наличии, поставок нет
58 0437011

CHOKE Кабели. Шнур Models AC Models TEL Models (CHOKE CABLE. Rope Models AC Models TEL Models)

нет в наличии, поставок нет
59 0336417

Фиксатор, Кабели to brkt.. Шнур Models AC Models TEL Models (RETAINER, Cable to brkt.. Rope Models AC Models TEL Models)

нет в наличии, поставок нет
evinrude

Время выполнения запроса 2.6047389507294 сек.


 
 

данный сайт носит информационный характер и не является публичной офертой

склад запчастей для водомоторной техники