| |
Все разделы каталога запчастей на этот двигатель
вернуться к списку узлов и деталей ДЕТАЛИРОВКА ДЛЯ МОДЕЛИ: EVINRUDE E200TXATS 1993
КРЫШКА ДВИГАТЕЛЯ (КАПОТ) - EVINRUDE - 200 STL, VE200SL, 225STL | ENGINE COVER - EVINRUDE - 200 STL, VE200SL, 225STL  
Номер на рисунке | Артикул | Наименование | Кол-во на складе | Цена |
| 0284539 | 0284539 | Крышка двигателя (капот) в сборе., 200. Not Shown (ENGINE COVER ASSY., 200. Not Shown) | нет в наличии, поставок нет |
| 0284539 | 0284147 | (последний код) COVER AY,MOTOR-UPR | нет в наличии, поставок нет |
| 0284531 | 0284531 | Крышка двигателя (капот) в сборе., 225. Not Shown (ENGINE COVER ASSY., 225. Not Shown) | нет в наличии, поставок нет |
| 0284531 | 0285131 | (последний код) UMC AY, EV/BLUE | нет в наличии, поставок нет |
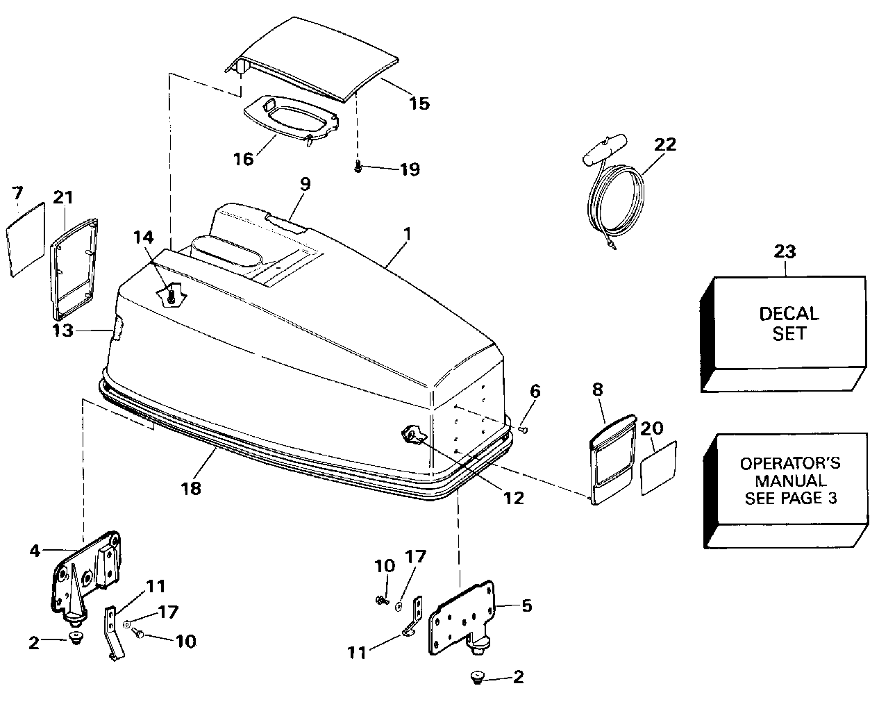
| 1 | 0435716 | Крючок (HOOK) | нет в наличии, поставок нет |
| 2 | 0323228 | Винт, Система впуска to brkt (SCREW, Intake to brkt) | нет в наличии, поставок нет |
| 3 | 0337791 | Крышка, Air Система впуска (COVER, Air intake) | нет в наличии, поставок нет |
| 4 | 0337790 | Резинка капота двигателя (SEAL, Engine cover) | нет в наличии, поставок нет |
| 5 | 0337788 | Кронштейн, Front (BRACKET, Front) | нет в наличии, поставок нет |
| 5 | 0437394 | (последний код) BRACKET AY,LATCH | нет в наличии, поставок нет |
| 6 | 0337789 | LOCATING BRKT., Rear (LOCATING BRKT., Rear) | нет в наличии, поставок нет |
| 7 | 0324898 | Бампер, Locating brkts (BUMPER, Locating brkts) | нет в наличии, поставок нет |
| 8 | 0337529 | Кронштейн, Rear (BRACKET, Rear) | нет в наличии, поставок нет |
| 8 | 0437393 | (последний код) BRACKET AY,LATCH | нет в наличии, поставок нет |
| 9 | 0337793 | BAFFLE, Air Система впуска (BAFFLE, Air intake) | нет в наличии, поставок нет |
| 10 | 0317223 | Защелка, Applique (FASTENER, Applique) | нет в наличии, поставок нет |
| 11 | 0211718 | APPLIQUE, V6, 200 (APPLIQUE, V6, 200) | нет в наличии, поставок нет |
| 11 | 0212020 | (последний код) APPLIQUE,V6 | нет в наличии, поставок нет |
| 11 | 0210499 | APPLIQUE, V6, 225 (APPLIQUE, V6, 225) | нет в наличии, поставок нет |
| 12 | 0211749 | APPLIQUE, Evinrude, 200 (APPLIQUE, Evinrude, 200) | нет в наличии, поставок нет |
| 12 | 0211688 | (последний код) APPLIQUE | нет в наличии, поставок нет |
| 12 | 0210305 | APPLIQUE, 225 (APPLIQUE, 225) | нет в наличии, поставок нет |
| 13 | 0211901 | LOUVER, Port (LOUVER, Port) | нет в наличии, поставок нет |
| 14 | 0323228 | Винт, Крючок (SCREW, Hook) | нет в наличии, поставок нет |
| 15 | 0332191 | Воздушный винт Система впуска (SCREW, Air intake) | нет в наличии, поставок нет |
| 16 | 0211902 | LOUVER, Stbd (LOUVER, Stbd) | нет в наличии, поставок нет |
| 17 | 0337528 | BAFFLE (BAFFLE) | нет в наличии, поставок нет |
| 18 | 0329737 | BAFFLE, Louver (BAFFLE, Louver) | нет в наличии, поставок нет |
| 19 | 0338482 | Сальник, Baffle (SEAL, Baffle) | нет в наличии, поставок нет |
| 20 | 0329866 | Кронштейн, Креплениеing (BRACKET, Mounting) | нет в наличии, поставок нет |
| 21 | 0330823 | Винт, Louver to Крышка (SCREW, Louver to cover) | нет в наличии, поставок нет |
| 21 | 0325838 | (последний код) SCREW | нет в наличии, поставок нет |
| 22 | 0212233 | APPLIQUE, Rear, 200 (APPLIQUE, Rear, 200) | нет в наличии, поставок нет |
| 23 | 0284543 | Комплект наклеек, 200 (DECAL SET, 200) | нет в наличии, поставок нет |
| 23 | 0284540 | Комплект наклеек, 225 (DECAL SET, 225) | нет в наличии, поставок нет |
| 24 | 0431929 | ADHESIVE KIT, Locating brkts. (ADHESIVE KIT, Locating brkts.) | нет в наличии, поставок нет |

Время выполнения запроса 2.7431080341339 сек.
|
|