вконтакте

Контактный телефон: +7 (981) 121-46-93, +7 (800) 200-90-76 , Email: parts-katalog@yandex.ru, где купить

 
 

  Логин:

Пароль:

Регистрация

www.partskatalog.ru Все каталоги Запчасти Mercury Запчасти Suzuki Запчасти Tohatsu Запчасти Honda Контакты


Все разделы каталога запчастей на этот двигатель

назад Раздел:   вперёд

вернуться к списку узлов и деталей

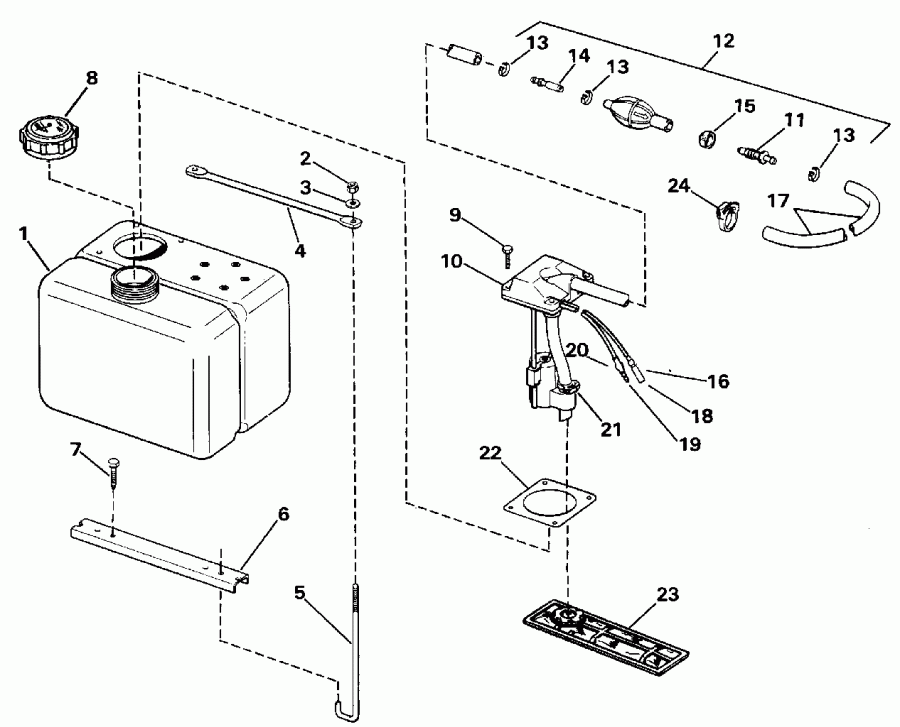
ДЕТАЛИРОВКА ДЛЯ МОДЕЛИ: EVINRUDE E250CXEND 1992

VRO МАСЛЯНЫЙ БАК KIT - 3 ГАЛЛОН | VRO OIL TANK KIT - 3 GALLON;


Двигатель Эвинруд E250CXEND 1992  - 3 Gallon

Номер на
рисунке
АртикулНаименованиеКол-во
на складе
Цена
0175094 0175094

Масляный бак KIT, (3.0 галлон) Not Shown (OIL TANK KIT, (3.0 gallon). Not Shown)

нет в наличии, поставок нет
0175094 0177302

   (последний код) KIT,3.0 GAL OIL TK

нет в наличии, поставок нет
1 0174248

Масляный бак в сборе. (OIL TANK ASSY.)

нет в наличии, поставок нет
1 0176996

   (последний код) KIT AY,3.0 GAL TK

нет в наличии, поставок нет
2 0121470

LOCKГайка, Крючок Болт to cross bar (LOCKNUT, Hook bolt to cross bar)

нет в наличии, поставок нет
3 0121497

Шайба (WASHER)

нет в наличии, поставок нет
4 0124694

CROSS BAR (CROSS BAR)

нет в наличии, поставок нет
5 0124691

Крючок Болт (HOOK BOLT)

нет в наличии, поставок нет
6 0124693

Кронштейн, Креплениеing (BRACKET, Mounting)

нет в наличии, поставок нет
7 0124073

LAG Винт (LAG SCREW)

нет в наличии, поставок нет
8 0175002

Колпачок ASSEMBLY (CAP ASSEMBLY)

нет в наличии, поставок нет
8 0176217

   (последний код) CAP AY,OIL W/VALVE

нет в наличии, поставок нет
9 0124485

Винт, Pickвыше в сборе. to tank (SCREW, Pickup assy. to tank)

нет в наличии, поставок нет
9 0337362

   (последний код) SCREW,TAPTITE

нет в наличии, поставок нет
10 0175095

OIL PICKвыше в сборе. (OIL PICKUP ASSY.)

нет в наличии, поставок нет
10 0177303

   (последний код) KIT AY,PICK-UP

нет в наличии, поставок нет
11 0396462

Клапан, выход (VALVE, Outlet)

нет в наличии, поставок нет
11 0383720

   (последний код) NIPPLE & VLVE

нет в наличии, поставок нет
12 0174157

Топливный шланг с грушей и коннекторами.. Use 175985 when used with 1 / 4" braided Шланг Use 174511 when used with 1 / 4" vinyl Шланг (PRIMER BULB ASSY.. Use 175985 when used with 1/4" braided hose Use 174511 when used with 1/4" vinyl hose)

нет в наличии, поставок нет
13 0303596

Струбцина, Ремешок, small (CLAMP, Band, small)

нет в наличии, поставок нет
14 0396461

Клапан, впускнойlet (VALVE, Inlet)

нет в наличии, поставок нет
15 0553166

Струбцина, Ремешок, large (CLAMP, Band, large)

нет в наличии, поставок нет
16 0513186

Гильза, Socket (SLEEVE, Socket)

нет в наличии, поставок нет
16 3852248

   (последний код) SLEEVE,SKT-B

нет в наличии, поставок нет
17 0124471

Шланг, Long, 180" (4, 6m) (HOSE, Long, 180" (4,6m))

нет в наличии, поставок нет
17 0772564

   (последний код) 25 FUEL LINE 5/16

нет в наличии, поставок нет
18 0512876

Клемма, Socket (TERMINAL, Socket)

нет в наличии, поставок нет
18 3852244

   (последний код) TERMINAL,SOC

нет в наличии, поставок нет
19 0125295

Клемма, Bullet (TERMINAL, Bullet)

нет в наличии, поставок нет
20 0125294

Гильза, Bullet Клемма (SLEEVE, Bullet terminal)

нет в наличии, поставок нет
21 0322654

Струбцина, Защелка (CLAMP, Snap)

нет в наличии, поставок нет
21 3852172

   (последний код) CLAMP,SNAP

нет в наличии, поставок нет
22 0123906

Прокладка (GASKET)

нет в наличии, поставок нет
23 0174377

Фильтр ASSEMBLY, Oil (FILTER ASSEMBLY, Oil)

нет в наличии, поставок нет
23 0124613

   (последний код) OIL-BAFFLE

нет в наличии, поставок нет
24 0322654

Струбцина, Защелка (CLAMP, Snap)

нет в наличии, поставок нет
24 3852172

   (последний код) CLAMP,SNAP

нет в наличии, поставок нет
evinrude

Время выполнения запроса 1.4151899814606 сек.


 
 

данный сайт носит информационный характер и не является публичной офертой

склад запчастей для водомоторной техники