| |
Все разделы каталога запчастей на этот двигатель
вернуться к списку узлов и деталей ДЕТАЛИРОВКА ДЛЯ МОДЕЛИ: EVINRUDE E50BELENM 1992
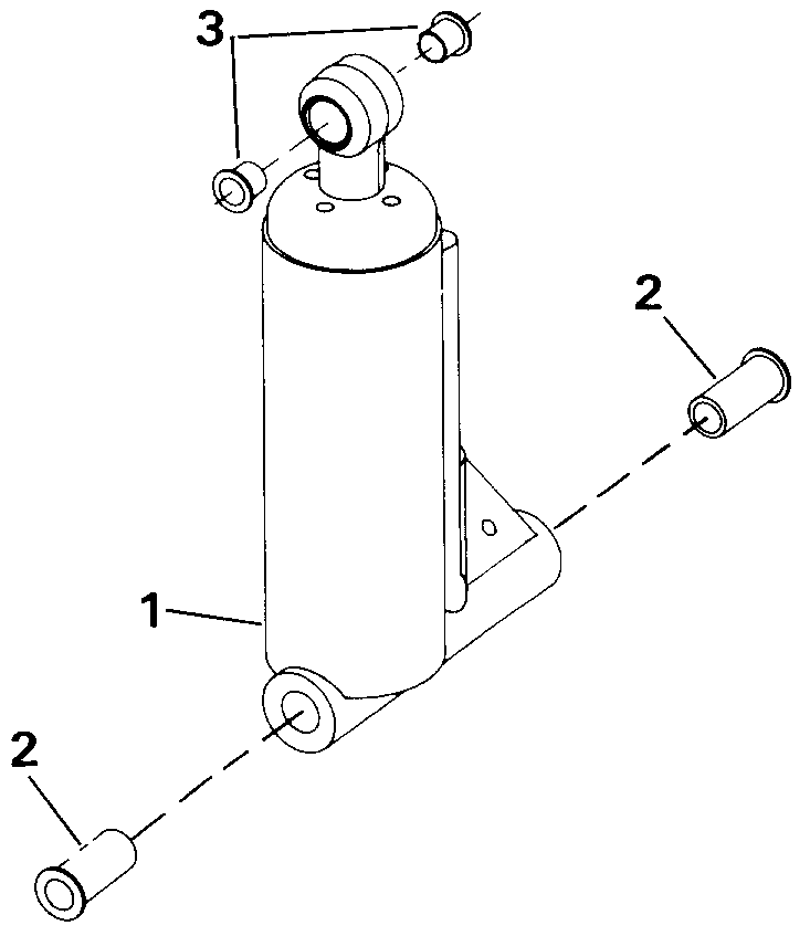
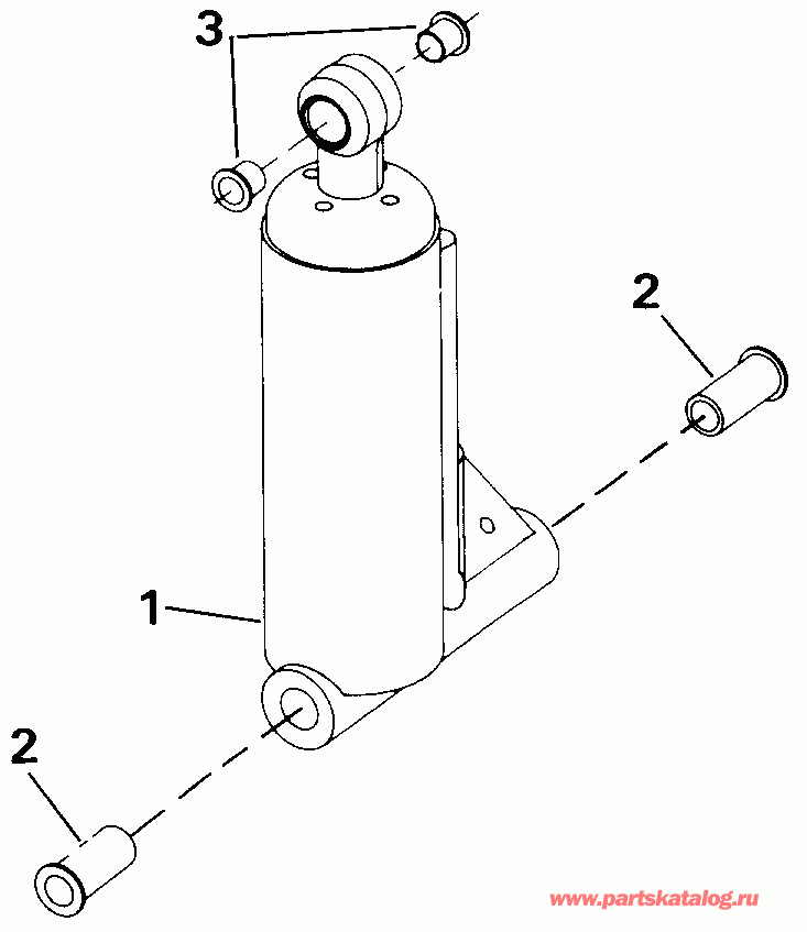
TILT ASSIST ЦИЛИНДР | TILT ASSIST CYLINDER;
Номер на рисунке | Артикул | Наименование | Кол-во на складе | Цена |
| 1 | 0434037 | TILT ASSIST Цилиндр (TILT ASSIST CYLINDER) | нет в наличии, поставок нет |
| 1 | 0398752 | (последний код) CYL,AY-TILT | нет в наличии, поставок нет |
| 2 | 0332434 | Втулка, Цилиндр to Штифт (BUSHING, Cylinder to pin) | нет в наличии, поставок нет |
| 3 | 0332436 | Втулка, Цилиндр to Поворотный кронштейн (BUSHING, Cylinder to swivel bracket) | нет в наличии, поставок нет |

Время выполнения запроса 0.23050403594971 сек.
|
|