вконтакте

Контактный телефон: +7 (981) 121-46-93, +7 (800) 200-90-76 , Email: parts-katalog@yandex.ru, где купить

 
 

  Логин:

Пароль:

Регистрация

www.partskatalog.ru Все каталоги Запчасти Mercury Запчасти Suzuki Запчасти Tohatsu Запчасти Honda Контакты


Все разделы каталога запчастей на этот двигатель

назад Раздел:   вперёд

вернуться к списку узлов и деталей

ДЕТАЛИРОВКА ДЛЯ МОДЕЛИ: EVINRUDE E6SLENM 1992

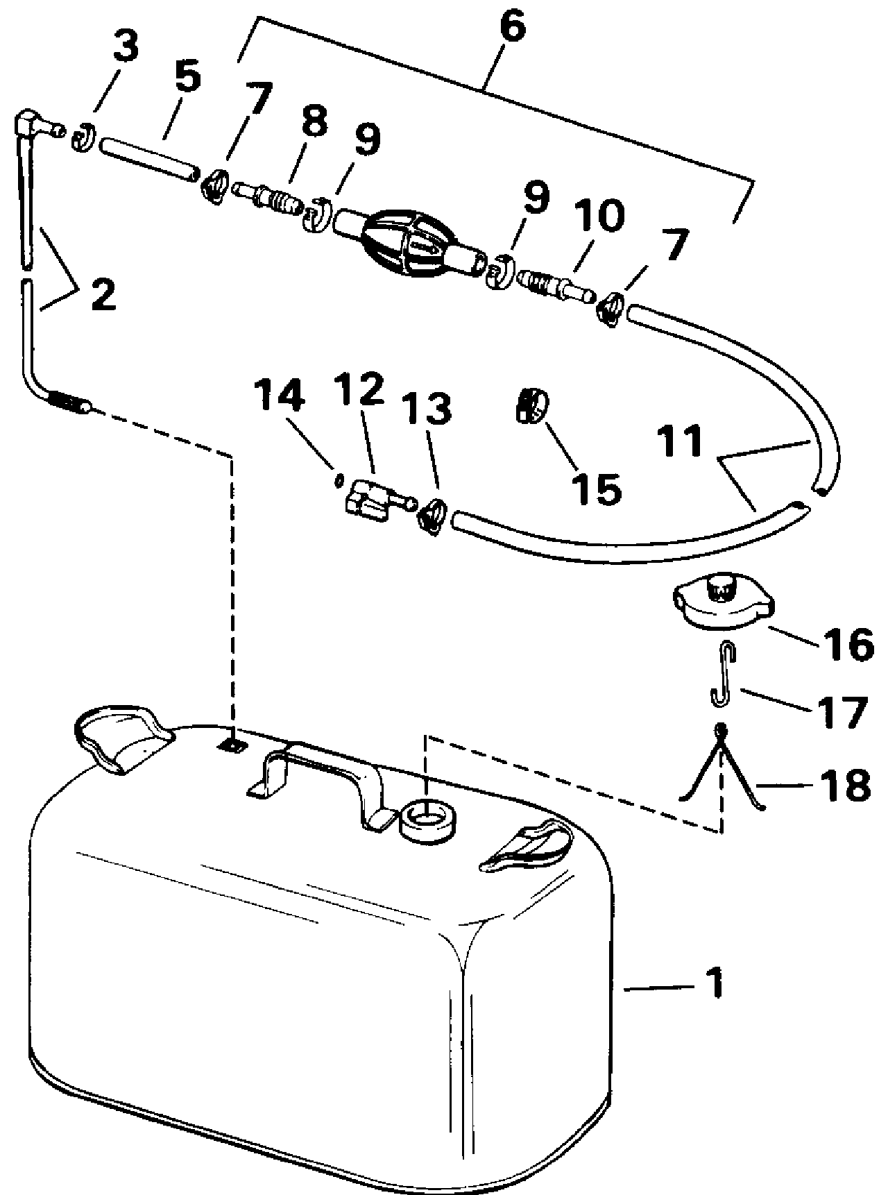
ТОПЛИВНЫЙ БАК WITHOUT GAUGE | FUEL TANK WITHOUT GAUGE;


Двигатель Evinrude E6SLENM 1992  - el Tank Without Gauge

Номер на
рисунке
АртикулНаименованиеКол-во
на складе
Цена
1 0397767

Топливный бак в сборе. WITHOUT GAUGE (FUEL TANK ASSY. WITHOUT GAUGE)

нет в наличии, поставок нет
1 0175980

   (последний код) FUEL TANK 6 GA ACC

нет в наличии, поставок нет
2 0397832

Трубка & SCREEN в сборе. (TUBE & SCREEN ASSY.)

нет в наличии, поставок нет
2 0392064

   (последний код) FUEL-LINE-SC

нет в наличии, поставок нет
3 0331384

Струбцина, Шланг (CLAMP, Hose)

нет в наличии, поставок нет
0174509 0174509

FUEL CONN., Шланг, & Топливный шланг с грушей и коннекторами.. Not Shown (FUEL CONN., HOSE, & PRIMER BULB ASSY.. Not Shown)

нет в наличии, поставок нет
0174509 0775636

   (последний код) KIT-HOSE & BULB AY

нет в наличии, поставок нет
5 0

Шланг, Short, 19 1 / 2 дюйм (495 мм) сокращёная длина From 333341-5 / 16 дюйм I.D., 25 фут (7, 6m) (HOSE, Short, 19 1/2 in. (495mm). Cut To Length From 333341-5/16 in. I.D., 25 ft. (7,6m))

нет в наличии, поставок нет
6 0174511

Топливная груша KIT (PRIMER BULB KIT)

нет в наличии, поставок нет
6 0775638

   (последний код) PRIM BULB KIT 5/16

нет в наличии, поставок нет
7 0322652

Струбцина, Защелка (CLAMP, Snap)

нет в наличии, поставок нет
7 3852170

   (последний код) CLAMP,SNAP

нет в наличии, поставок нет
8 0397525

Ниппель & Клапан в сборе., вход (NIPPLE & VALVE ASSY., Inlet)

нет в наличии, поставок нет
8 0393511

   (последний код) NIPPLE&VALVE AY

нет в наличии, поставок нет
9 0553166

Струбцина, Ремешок, large (CLAMP, Band, large)

нет в наличии, поставок нет
10 0396462

Ниппель & Клапан в сборе., выход (NIPPLE & VALVE ASSY., Outlet)

нет в наличии, поставок нет
10 0383720

   (последний код) NIPPLE & VLVE

нет в наличии, поставок нет
11 0

Шланг, Long, 99 дюйм (2515 мм) сокращёная длина From 333341-5 / 16 дюйм I.D., 25 фут (7, 6m) (HOSE, Long, 99 in. (2515mm). Cut To Length From 333341-5/16 in. I.D., 25 ft. (7,6m))

нет в наличии, поставок нет
12 0174508

Топливный шланг Коннектор KIT (FUEL HOSE CONNECTOR KIT)

нет в наличии, поставок нет
12 0775640

   (последний код) FUEL CONN KIT 5/16

нет в наличии, поставок нет
13 0322652

Струбцина, Защелка (CLAMP, Snap)

нет в наличии, поставок нет
13 3852170

   (последний код) CLAMP,SNAP

нет в наличии, поставок нет
14 0334913

Уплотнительное кольцо (O-RING)

нет в наличии, поставок нет
14 0331380

   (последний код) O-RING-10PK

нет в наличии, поставок нет
15 0123112

Струбцина, Fuel line (CLAMP, Fuel line)

нет в наличии, поставок нет
16 0388933

Колпачок в сборе, Fuel (CAP ASSY., Fuel)

нет в наличии, поставок нет
16 0763524

   (последний код) CAP AY W/VENT

нет в наличии, поставок нет
17 0323369

Соединитель (LINK)

нет в наличии, поставок нет
17 0305994

   (последний код) ANCHOR LINK

нет в наличии, поставок нет
18 0552331

ANCHOR (ANCHOR)

нет в наличии, поставок нет
18 0120430

   (последний код) HOOK-GAS CAP

нет в наличии, поставок нет
0332815 0332815

SPRAY Краска, Dark красный. Not Shown (SPRAY PAINT, Dark red. Not Shown)

нет в наличии, поставок нет
evinrude

Время выполнения запроса 0.81182217597961 сек.


 
 

данный сайт носит информационный характер и не является публичной офертой

склад запчастей для водомоторной техники