вконтакте

Контактный телефон: +7 (981) 121-46-93, +7 (800) 200-90-76 , Email: parts-katalog@yandex.ru, где купить

 
 

  Логин:

Пароль:

Регистрация

www.partskatalog.ru Все каталоги Запчасти Mercury Запчасти Suzuki Запчасти Tohatsu Запчасти Honda Контакты


Все разделы каталога запчастей на этот двигатель

назад Раздел:   вперёд

вернуться к списку узлов и деталей

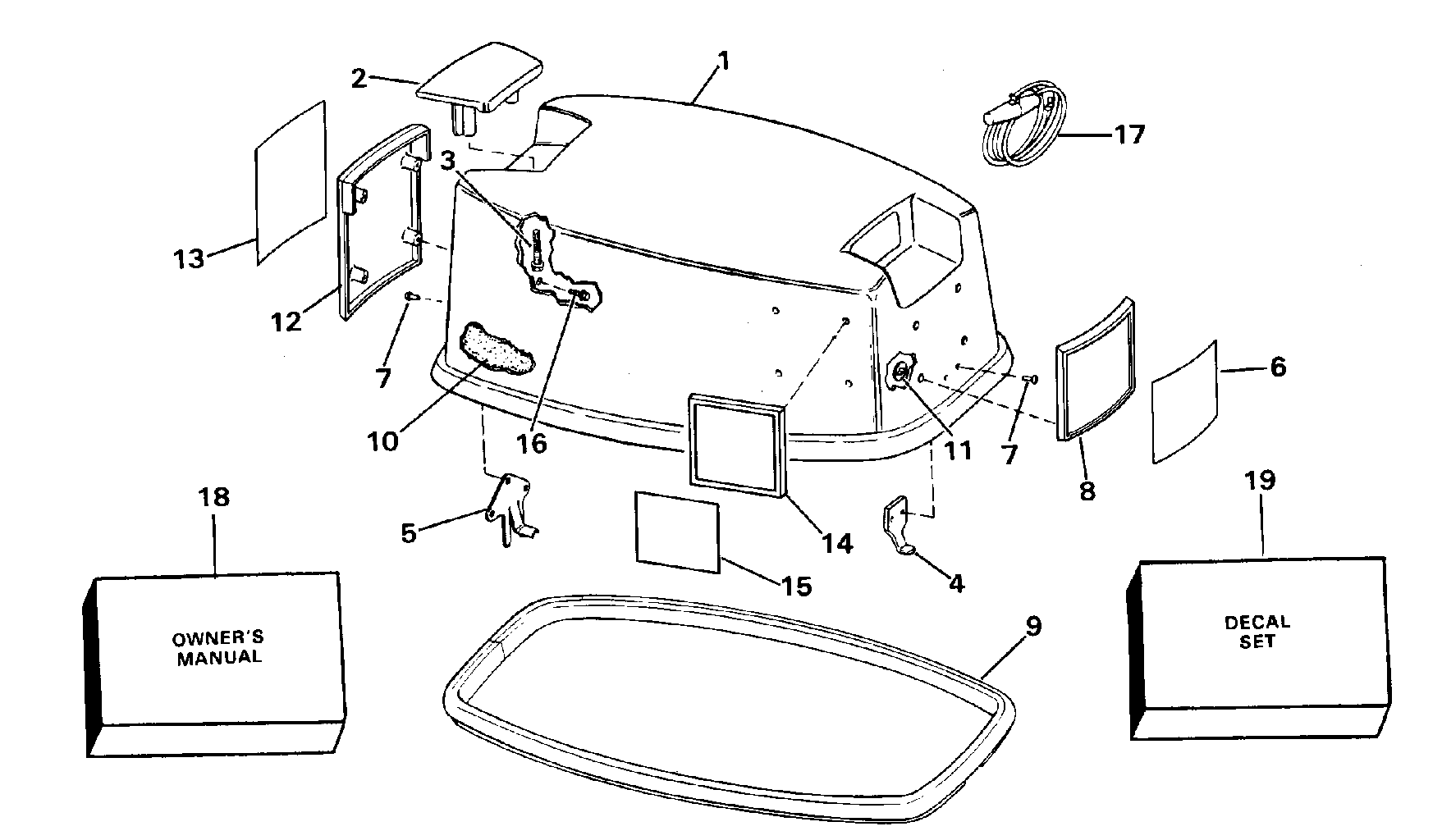
ДЕТАЛИРОВКА ДЛЯ МОДЕЛИ: EVINRUDE E250TXEIE 1991

КРЫШКА ДВИГАТЕЛЯ (КАПОТ) - JOHNSON 300 MODELS | ENGINE COVER - JOHNSON 300 MODELS;


Подвесной двигатель Evinrude E250TXEIE 1991  - Johnson 300 Models / Johnson 300 Models

Номер на
рисунке
АртикулНаименованиеКол-во
на складе
Цена
1 0434626

Крышка двигателя (капот) в сборе., 250. стандарт Rotation (ENGINE COVER ASSY., 250. Standard Rotation)

нет в наличии, поставок нет
1 0434627

Крышка двигателя (капот) в сборе., 250. обратное вращение (ENGINE COVER ASSY., 250. Counter Rotation)

нет в наличии, поставок нет
1 0434162

Крышка двигателя (капот) в сборе., 300. стандарт Rotation белый Крышка (ENGINE COVER ASSY., 300. Standard Rotation White Cover)

нет в наличии, поставок нет
1 0434161

Крышка двигателя (капот) в сборе., 300. стандарт Rotation Metallic Gray Крышка (ENGINE COVER ASSY., 300. Standard Rotation Metallic Gray Cover)

нет в наличии, поставок нет
1 0434163

Крышка двигателя (капот) в сборе., 300. обратное вращение белый Крышка (ENGINE COVER ASSY., 300. Counter Rotation White Cover)

нет в наличии, поставок нет
2 0394976

LOCATING Кронштейн, Rear (LOCATING BRACKET, Rear)

нет в наличии, поставок нет
2 0389972

   (последний код) BRKT & BUMPR AY

нет в наличии, поставок нет
3 0329762

LOCATING Кронштейн, Front (LOCATING BRACKET, Front)

нет в наличии, поставок нет
4 0324898

Бампер, Locating Кронштейн (BUMPER, Locating bracket)

нет в наличии, поставок нет
5 0323228

Винт, Рукоятка наклона, 7 / 8 дюйм long (SCREW, Tilt handle, 7/8 in. long)

нет в наличии, поставок нет
5 0323229

Винт, Рукоятка наклона, 1 / 2 дюйм long (SCREW, Tilt handle, 1/2 in. long)

нет в наличии, поставок нет
6 0319137

Винт, Крючок (SCREW, Hook)

нет в наличии, поставок нет
7 0328703

Шайба, Крючок & BAFFLE (WASHER, HOOK & BAFFLE)

нет в наличии, поставок нет
7 3852184

   (последний код) WASHER

нет в наличии, поставок нет
8 0326948

Заклёпка, Locating Кронштейн (RIVET, Locating bracket)

нет в наличии, поставок нет
8 0331881

   (последний код) RIVET

нет в наличии, поставок нет
9 0397630

Крючок, Крышка (HOOK, Cover)

нет в наличии, поставок нет
10 0336365

BAFFLE, Air Система впуска (BAFFLE, Air intake)

нет в наличии, поставок нет
11 0332320

Винт, Baffle (SCREW, Baffle)

нет в наличии, поставок нет
12 0331632

SOUND BLANKET, Port, 250 (SOUND BLANKET, Port, 250)

нет в наличии, поставок нет
12 0341495

   (последний код) BLANKET,SOUND

нет в наличии, поставок нет
12 0334871

SOUND BLANKET, Port, 300 (SOUND BLANKET, Port, 300)

нет в наличии, поставок нет
12 0341498

   (последний код) BLANKET,SOUND

нет в наличии, поставок нет
13 0328009

Рукоятка наклона (TILT HANDLE)

нет в наличии, поставок нет
13 0330013

   (последний код) TILT-HANDLE

нет в наличии, поставок нет
14 0912173

Резинка капота двигателя (SEAL, Engine cover)

нет в наличии, поставок нет
14 0210762

   (последний код) SEAL,MOTOR COVER

нет в наличии, поставок нет
15 0331938

SOUND BLANKET, Stbd., 250 (SOUND BLANKET, Stbd., 250)

нет в наличии, поставок нет
15 0341500

   (последний код) BLANKET,SOUND

нет в наличии, поставок нет
15 0334870

SOUND BLANKET, Stbd., 300 (SOUND BLANKET, Stbd., 300)

нет в наличии, поставок нет
15 0341540

   (последний код) BLANKET,SOUND

нет в наличии, поставок нет
16 0336176

APPLIQUE, Rear, C / R (APPLIQUE, Rear, C/R)

нет в наличии, поставок нет
16 0336363

APPLIQUE, Power Рулевая система, 300. белый Крышка (APPLIQUE, Power steering, 300. White Cover)

нет в наличии, поставок нет
17 0330012

BAFFLE (BAFFLE)

нет в наличии, поставок нет
18 0323937

Винт, Baffle to handle (SCREW, Baffle to handle)

нет в наличии, поставок нет
19 0331633

SOUND BLANKET, Front (SOUND BLANKET, Front)

нет в наличии, поставок нет
20 0336488

SOUND BLANKET, Top (SOUND BLANKET, Top)

нет в наличии, поставок нет
20 0341499

   (последний код) BLANKET,SOUND

нет в наличии, поставок нет
21 0334004

Винт, Lift handle (SCREW, Lift handle)

нет в наличии, поставок нет
22 0330823

Винт, Louver, 300 (SCREW, Louver, 300)

нет в наличии, поставок нет
22 0325838

   (последний код) SCREW

нет в наличии, поставок нет
23 0330090

LOUVER, Крышка двигателя (капот), stbd., 300. белый Крышка (LOUVER, Engine cover, stbd., 300. White Cover)

нет в наличии, поставок нет
23 0334782

LOUVER, Крышка двигателя (капот), stbd., 300. Metallic Gray Крышка (LOUVER, Engine cover, stbd., 300. Metallic Gray Cover)

нет в наличии, поставок нет
24 0330091

LOUVER, Крышка двигателя (капот), stbd., 300. белый Крышка (LOUVER, Engine cover, stbd., 300. White Cover)

нет в наличии, поставок нет
24 0334781

LOUVER, Крышка двигателя (капот), stbd., 300. Metallic Gray Крышка (LOUVER, Engine cover, stbd., 300. Metallic Gray Cover)

нет в наличии, поставок нет
25 0332607

LIFT HANDLE, 250 (LIFT HANDLE, 250)

нет в наличии, поставок нет
25 0332608

LIFT HANDLE, 300. белый Крышка (LIFT HANDLE,300. White Cover)

нет в наличии, поставок нет
25 0913073

LIFT HANDLE, 300. Metallic Gray Крышка (LIFT HANDLE, 300. Metallic Gray Cover)

нет в наличии, поставок нет
26 0328608

Кронштейн, Louver mtg., 300 (BRACKET, Louver mtg., 300)

нет в наличии, поставок нет
0435243 0435243

Комплект наклеек, 250. Not Shown (DECAL SET, 250. Not Shown)

нет в наличии, поставок нет
0435244 0435244

Комплект наклеек, 300. Not Shown (DECAL SET, 300. Not Shown)

нет в наличии, поставок нет
0435244 0435658

   (последний код) DECAL AY,SET

нет в наличии, поставок нет
0434350 0434350

OWNERS ручной. Not Shown (OWNERS MANUAL. Not Shown)

нет в наличии, поставок нет
0434350 8011921

   (последний код) OM300 434350

нет в наличии, поставок нет
0434351 0434351

PAMPLET, обратное вращение. Not Shown (PAMPLET, Counter rotation. Not Shown)

нет в наличии, поставок нет
0335763 0335763

PAMPLET, Hi perдляmance boating. Not Shown (PAMPLET, Hi performance boating. Not Shown)

нет в наличии, поставок нет
0335763 0507600

   (последний код) 86 INTRO TOHP BOAT

нет в наличии, поставок нет
evinrude

Время выполнения запроса 2.3916540145874 сек.


 
 

данный сайт носит информационный характер и не является публичной офертой

склад запчастей для водомоторной техники