вконтакте

Контактный телефон: +7 (981) 121-46-93, +7 (800) 200-90-76 , Email: parts-katalog@yandex.ru, где купить

 
 

  Логин:

Пароль:

Регистрация

www.partskatalog.ru Все каталоги Запчасти Mercury Запчасти Suzuki Запчасти Tohatsu Запчасти Honda Контакты



УВАЖАЕМЫЕ КЛИЕНТЫ!
C 19 ДЕКАБРЯ 2025 ПО 02 МАРТА 2026 ГОДА ОТДЕЛ ЗАПЧАСТЕЙ И СЕРВИС РАБОТАТЬ НЕ БУДУТ
ПРОДАЖА ЛОДОЧНЫХ МОТОРОВ В ШТАТНОМ РЕЖИМЕ
ОБ ИЗМЕНЕНИЯХ В ГРАФИКЕ РАБОТЫ ЧИТАЙТЕ НА САЙТА




Все разделы каталога запчастей на этот двигатель

назад Раздел:   вперёд

вернуться к списку узлов и деталей

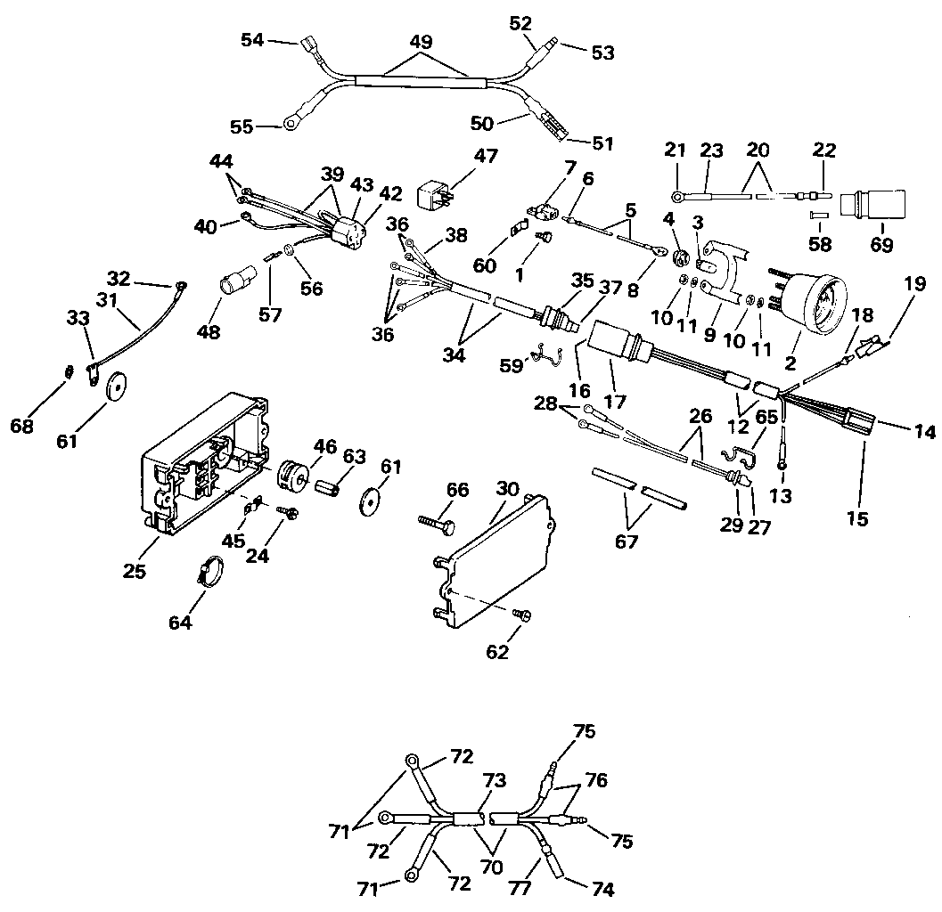
ДЕТАЛИРОВКА ДЛЯ МОДЕЛИ: EVINRUDE E225PXEIC 1991

МЕХАНИЗИРОВАННЫЙ ДИФФЕРЕНТ НАКЛОНА ЭЛЕКТРИКА | POWER TRIM/TILT ELECTRICAL;


Лодочный подвесной мотор Эвинруд E225PXEIC 1991  - wer Trim/tilt Electrical

Номер на
рисунке
АртикулНаименованиеКол-во
на складе
Цена
1 0310981

Винт зажима (SCREW, Clamp)

нет в наличии, поставок нет
2 0583653

TRIM GAUGE в сборе.. Use 174679 для domestic Сервис or 174490 для International Сервис. (TRIM GAUGE ASSY.. Use 174679 for domestic service or 174490 for International service.)

нет в наличии, поставок нет
2 0583206

   (последний код) TILT&TRIM GAUGE

нет в наличии, поставок нет
3 0125432

Лампочка (BULB)

нет в наличии, поставок нет
4 0122553

SOCKET (SOCKET)

нет в наличии, поставок нет
5 0583255

LEAD в сборе. (LEAD ASSY.)

нет в наличии, поставок нет
6 0310523

Клемма (TERMINAL)

нет в наличии, поставок нет
6 0310680

   (последний код) TERMINAL

нет в наличии, поставок нет
7 0310572

Корпус (HOUSING)

нет в наличии, поставок нет
8 0510780

Кольцо Клемма (RING TERMINAL)

нет в наличии, поставок нет
8 3852226

   (последний код) TERMINAL,RIN

нет в наличии, поставок нет
9 0125409

Кронштейн (BRACKET)

нет в наличии, поставок нет
10 0125410

Гайка (NUT)

нет в наличии, поставок нет
11 0125411

Шайба (WASHER)

нет в наличии, поставок нет
12 0583205

Кабели в сборе., Переключатель & gauge. 20 Inch Transom (CABLE ASSY., Switch & gauge. 20 Inch Transom)

нет в наличии, поставок нет
12 0583207

Кабели в сборе., Переключатель & gauge. 25 Inch Transom (CABLE ASSY., Switch & gauge. 25 Inch Transom)

нет в наличии, поставок нет
13 0511829

Кольцо Клемма (RING TERMINAL)

нет в наличии, поставок нет
13 3852233

   (последний код) TERMINAL,RIN

нет в наличии, поставок нет
14 0309433

Клемма (TERMINAL)

нет в наличии, поставок нет
15 0309474

Коннектор (CONNECTOR)

нет в наличии, поставок нет
16 0511469

Штифт (PIN)

нет в наличии, поставок нет
16 3852229

   (последний код) TERMINAL,PIN

нет в наличии, поставок нет
17 0512754

Коннектор (CONNECTOR)

нет в наличии, поставок нет
18 0512904

Клемма (TERMINAL)

нет в наличии, поставок нет
19 0310572

Коннектор (CONNECTOR)

нет в наличии, поставок нет
20 0582093

LEAD в сборе.. Includes Items 58 & 69 (LEAD ASSY.. Includes Items 58 & 69)

нет в наличии, поставок нет
20 0582092

   (последний код) LEAD

нет в наличии, поставок нет
21 0510151

Клемма (TERMINAL)

нет в наличии, поставок нет
22 0511469

Штифт (PIN)

нет в наличии, поставок нет
22 3852229

   (последний код) TERMINAL,PIN

нет в наличии, поставок нет
23 0510781

Гильза (SLEEVE)

нет в наличии, поставок нет
0584179 0584179

JUNCTION BOX & Крышка в сборе. Not Shown (JUNCTION BOX & COVER ASSY.. Not Shown)

нет в наличии, поставок нет
24 0329182

Винт, Клемма block (SCREW, Terminal block)

нет в наличии, поставок нет
24 0327785

   (последний код) SCREW

нет в наличии, поставок нет
25 0512776

Основание, Junction box (BASE, Junction box)

нет в наличии, поставок нет
25 0512400

   (последний код) BASE-JUNCTIO

нет в наличии, поставок нет
26 0583105

Кабели в сборе., Sending unit (CABLE ASSY., Sending unit)

нет в наличии, поставок нет
26 0582948

   (последний код) CABLE ASSY

нет в наличии, поставок нет
27 0581656

SOCKET (SOCKET)

нет в наличии, поставок нет
27 3852257

   (последний код) TERMINAL AY,SCKT

нет в наличии, поставок нет
28 0510780

Клемма (TERMINAL)

нет в наличии, поставок нет
28 3852226

   (последний код) TERMINAL,RIN

нет в наличии, поставок нет
29 0512745

Коннектор (CONNECTOR)

нет в наличии, поставок нет
30 0583707

Крышка в сборе (COVER ASSY.)

нет в наличии, поставок нет
30 0583090

   (последний код) COVER&DECAL AY

нет в наличии, поставок нет
31 0582671

LEAD в сборе., Junction box Заземление (LEAD ASSY., Junction box ground)

нет в наличии, поставок нет
32 0512062

Кольцо Клемма (RING TERMINAL)

нет в наличии, поставок нет
33 0510818

Клемма (TERMINAL)

нет в наличии, поставок нет
33 3854243

   (последний код) TERMINAL,RIN

нет в наличии, поставок нет
34 0583158

Коннектор & LEAD в сборе. (CONNECTOR & LEAD ASSY.)

нет в наличии, поставок нет
35 0512753

Коннектор (CONNECTOR)

нет в наличии, поставок нет
35 3852243

   (последний код) CONN,5-SKT-P

нет в наличии, поставок нет
36 0510780

Кольцо Клемма (RING TERMINAL)

нет в наличии, поставок нет
36 3852226

   (последний код) TERMINAL,RIN

нет в наличии, поставок нет
37 0581656

SOCKET (SOCKET)

нет в наличии, поставок нет
37 3852257

   (последний код) TERMINAL AY,SCKT

нет в наличии, поставок нет
38 0510781

Гильза (SLEEVE)

нет в наличии, поставок нет
39 0584361

Коннектор в сборе., голубой leads, выше (CONNECTOR ASSY., Blue leads, up)

нет в наличии, поставок нет
39 0584362

Коннектор в сборе., зелёный leads, down (CONNECTOR ASSY., Green leads, down)

нет в наличии, поставок нет
40 0510780

Клемма (TERMINAL)

нет в наличии, поставок нет
40 3852226

   (последний код) TERMINAL,RIN

нет в наличии, поставок нет
41 0511656

Клемма (TERMINAL)

нет в наличии, поставок нет
41 0309435

   (последний код) TERMINAL

нет в наличии, поставок нет
42 0513166

Клемма (TERMINAL)

нет в наличии, поставок нет
42 3852246

   (последний код) TERMINAL,RCP

нет в наличии, поставок нет
42 0513167

Клемма (TERMINAL)

нет в наличии, поставок нет
42 3852247

   (последний код) TERMINAL,RCP

нет в наличии, поставок нет
43 0511866

Коннектор (CONNECTOR)

нет в наличии, поставок нет
44 0512062

Кольцо Клемма (RING TERMINAL)

нет в наличии, поставок нет
45 0315004

JUMPER, Клемма block (JUMPER, Terminal block)

нет в наличии, поставок нет
46 0315057

Крепление, Junction box (MOUNT, Junction box)

нет в наличии, поставок нет
47 0582472

Реле (RELAY)

нет в наличии, поставок нет
47 0586224

   (последний код) RELAY AY

1 шт2730 руб.
48 0513663

Коннектор, Motor leads (CONNECTOR, Motor leads)

нет в наличии, поставок нет
48 3852249

   (последний код) CONN,2-CONT

нет в наличии, поставок нет
49 0584303

Кабели в сборе., Junction box to Переключатель ограничителя налона (CABLE ASSY., Junction box to tilt limit switch)

нет в наличии, поставок нет
50 0513186

Гильза (SLEEVE)

нет в наличии, поставок нет
50 3852248

   (последний код) SLEEVE,SKT-B

нет в наличии, поставок нет
51 0512876

SOCKET (SOCKET)

нет в наличии, поставок нет
51 3852244

   (последний код) TERMINAL,SOC

нет в наличии, поставок нет
52 0513185

Гильза (SLEEVE)

нет в наличии, поставок нет
52 0512948

   (последний код) SLEEVE

нет в наличии, поставок нет
53 0512947

Клемма, Bullet (TERMINAL, Bullet)

нет в наличии, поставок нет
53 0910462

   (последний код) TERM.-60766-

нет в наличии, поставок нет
54 0513166

Клемма, Внешняя розетка (TERMINAL, Receptacle)

нет в наличии, поставок нет
54 3852246

   (последний код) TERMINAL,RCP

нет в наличии, поставок нет
55 0510780

Кольцо Клемма (RING TERMINAL)

нет в наличии, поставок нет
55 3852226

   (последний код) TERMINAL,RIN

нет в наличии, поставок нет
56 0513665

Заглушка, Коннектор Сальник (PLUG, Connector seal)

нет в наличии, поставок нет
56 3852251

   (последний код) PLUG,CONN SEAL

нет в наличии, поставок нет
57 0513666

Клемма, Blade (TERMINAL, Blade)

нет в наличии, поставок нет
57 3852252

   (последний код) TERMINAL,BLA

нет в наличии, поставок нет
58 0511496

Заглушка Коннектор (PLUG CONNECTOR)

нет в наличии, поставок нет
58 3852230

   (последний код) PLUG,CONN SEAL

нет в наличии, поставок нет
59 0512743

Фиксатор, Коннектор (RETAINER, Connector)

нет в наличии, поставок нет
59 3852238

   (последний код) RETAINER,CON

нет в наличии, поставок нет
60 0317000

Зажим кабеля в сборе. (CLAMP, Cable assy.)

нет в наличии, поставок нет
60 0318190

   (последний код) CLAMP

нет в наличии, поставок нет
61 0328703

Шайба (WASHER)

нет в наличии, поставок нет
61 3852184

   (последний код) WASHER

нет в наличии, поставок нет
62 0329182

Винт, Крышка (SCREW, Cover)

нет в наличии, поставок нет
62 0327785

   (последний код) SCREW

нет в наличии, поставок нет
63 0331984

Гильза, Монтажная резинка (SLEEVE, Rubber mount)

нет в наличии, поставок нет
63 0330111

   (последний код) SPACER

нет в наличии, поставок нет
64 0320107

Струбцина Хомут, Trim Кабели (CLAMP STRAP, Trim cable)

нет в наличии, поставок нет
64 5035626

   (последний код) BAND,REM CON

нет в наличии, поставок нет
65 0512741

Фиксатор, Датчик трима (RETAINER, Trim sender)

нет в наличии, поставок нет
66 0303398

Винт, Junction box Крепление (SCREW, Junction box mount)

нет в наличии, поставок нет
66 0330119

   (последний код) SCREW

нет в наличии, поставок нет
67 0327267

Гильза, Motor & sending leads (SLEEVE, Motor & sending leads)

нет в наличии, поставок нет
67 0512422

   (последний код) SLEEVE

нет в наличии, поставок нет
68 0328701

Шайба, Заземление (WASHER, Ground)

нет в наличии, поставок нет
68 3852182

   (последний код) WASHER,LOCK

нет в наличии, поставок нет
69 0511465

Коннектор (CONNECTOR)

нет в наличии, поставок нет
70 0583909

Кабели, Junction box to tilt Переключатель (CABLE, Junction box to tilt switch)

нет в наличии, поставок нет
71 0510780

Кольцо Клемма (RING TERMINAL)

нет в наличии, поставок нет
71 3852226

   (последний код) TERMINAL,RIN

нет в наличии, поставок нет
72 0510781

Гильза (SLEEVE)

нет в наличии, поставок нет
73 0511144

Трубопровод (TUBING)

нет в наличии, поставок нет
74 0512876

SOCKET (SOCKET)

нет в наличии, поставок нет
74 3852244

   (последний код) TERMINAL,SOC

нет в наличии, поставок нет
75 0512947

BULLET Клемма (BULLET TERMINAL)

нет в наличии, поставок нет
75 0910462

   (последний код) TERM.-60766-

нет в наличии, поставок нет
76 0513185

Гильза, Bullet (SLEEVE, Bullet)

нет в наличии, поставок нет
76 0512948

   (последний код) SLEEVE

нет в наличии, поставок нет
77 0513186

Гильза, Socket (SLEEVE, Socket)

нет в наличии, поставок нет
77 3852248

   (последний код) SLEEVE,SKT-B

нет в наличии, поставок нет
evinrude

Время выполнения запроса 3.3367819786072 сек.


 
 

данный сайт носит информационный характер и не является публичной офертой

склад запчастей для водомоторной техники