вконтакте

Контактный телефон: +7 (981) 121-46-93, +7 (800) 200-90-76 , Email: parts-katalog@yandex.ru, где купить

 
 

  Логин:

Пароль:

Регистрация

www.partskatalog.ru Все каталоги Запчасти Mercury Запчасти Suzuki Запчасти Tohatsu Запчасти Honda Контакты


Все разделы каталога запчастей на этот двигатель

назад Раздел:   вперёд

вернуться к списку узлов и деталей

ДЕТАЛИРОВКА ДЛЯ МОДЕЛИ: EVINRUDE E115MLEIE 1991

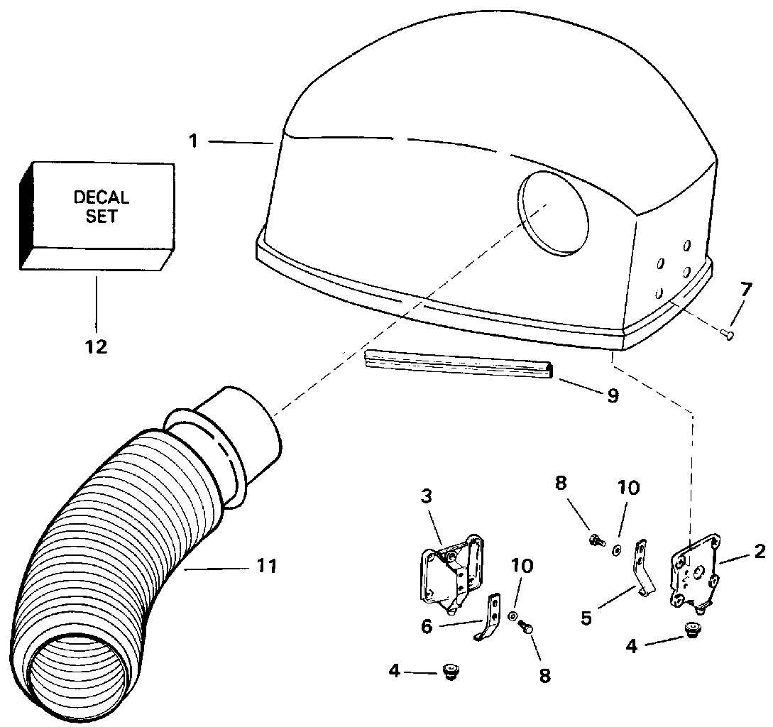
КРЫШКА ДВИГАТЕЛЯ (КАПОТ) - QUIET RIDER | ENGINE COVER - QUIET RIDER;


Лодочный мотор Эвинруд E115MLEIE 1991  - Quiet Rider / Quiet Rider

Номер на
рисунке
АртикулНаименованиеКол-во
на складе
Цена
1 0434777

Крышка двигателя (капот) в сборе. (ENGINE COVER ASSY.)

нет в наличии, поставок нет
2 0389971

LOCATING BRKT., Front (LOCATING BRKT., Front)

нет в наличии, поставок нет
2 0207513

   (последний код) BRACKET

нет в наличии, поставок нет
3 0394976

LOCATING BRKT., Rear (LOCATING BRKT., Rear)

нет в наличии, поставок нет
3 0389972

   (последний код) BRKT & BUMPR AY

нет в наличии, поставок нет
4 0324898

Бампер, Locating Кронштейнs (BUMPER, Locating brackets)

нет в наличии, поставок нет
5 0323175

Крючок спереди (HOOK, Front)

нет в наличии, поставок нет
5 0315199

   (последний код) HOOK

нет в наличии, поставок нет
6 0323176

Крючок Rear (HOOK Rear)

нет в наличии, поставок нет
6 0315191

   (последний код) HOOK

нет в наличии, поставок нет
7 0326948

Заклёпка (RIVET)

нет в наличии, поставок нет
7 0331881

   (последний код) RIVET

нет в наличии, поставок нет
8 0319137

Винт, Крючок (SCREW, Hook)

нет в наличии, поставок нет
9 0329548

Сальник (SEAL)

нет в наличии, поставок нет
9 0910916

   (последний код) SEAL

нет в наличии, поставок нет
10 0328703

Шайба, Винт (WASHER, Screw)

нет в наличии, поставок нет
10 3852184

   (последний код) WASHER

нет в наличии, поставок нет
11 0337246

Шланг, Air duct (HOSE, Air duct)

нет в наличии, поставок нет
12 0435252

Комплект наклеек (DECAL SET)

нет в наличии, поставок нет
evinrude

Время выполнения запроса 0.79861521720886 сек.


 
 

данный сайт носит информационный характер и не является публичной офертой

склад запчастей для водомоторной техники